Информационная система
«Ёшкин Кот»

Скачать базу одним архивом
Скачать обновления
История создания базы
Карта сайта

Скачать Типовой проект 9.0240 Разъединительные пункты 10 кВ

Дата актуализации: 10.08.2017

Типовой проект 9.0240

Разъединительные пункты 10 кВ

Обозначение: Типовой проект 9.0240
Обозначение англ: 9.0240
Статус:не определен законодательством
Название рус.:Разъединительные пункты 10 кВ
Дата добавления в базу:01.09.2013
Дата актуализации:05.05.2017
Дата введения:29.06.1990
Оглавление:Содержание
Пояснительная записка
Электротехническая часть 1ЭЛ
   РП 10 кВ на железобетонных опорах. Общие данные
   Варианты применения РП в сетях 10 кВ
   Электрические схемы разъединительных пунктов
   Номенклатура установок электрооборудования на железобетонных опорах. Обзорный лист
   Спецификация элементов установки электрооборудования на железобетонную опору
   Установка разъединителя на промежуточной опоре П10-4 (П10-2) типа ПР-2 (ПР-1)
   Установка разъединителя на анкерной опоре А10-2 (А10-1) типа АР-2 (АР-1)
   Установка разъединителя на концевой опоре А10-2 (А10-1) типа КР-2 (КР-1)
   Установка разъединителя на концевой опоре А10-2 (А10-1) типа КР-2(90 градусов), (КР-1 (90 градусов))
   Установка разъединителя на ответвительной опоре ОА10-2 (ОА10-1) типа ОАР-2 (ОАР-1)
   Установка разъединителя с кабельной муфтой на концевой опоре А10-2 (А10-1) типа КРМ-2Т (КРМ-1Т)
   Установка разъединителя с кабельной муфтой на концевой опоре А10-2 (А10-1) типа КРМ-2В (КРМ-1В)
   Узлы III и IV
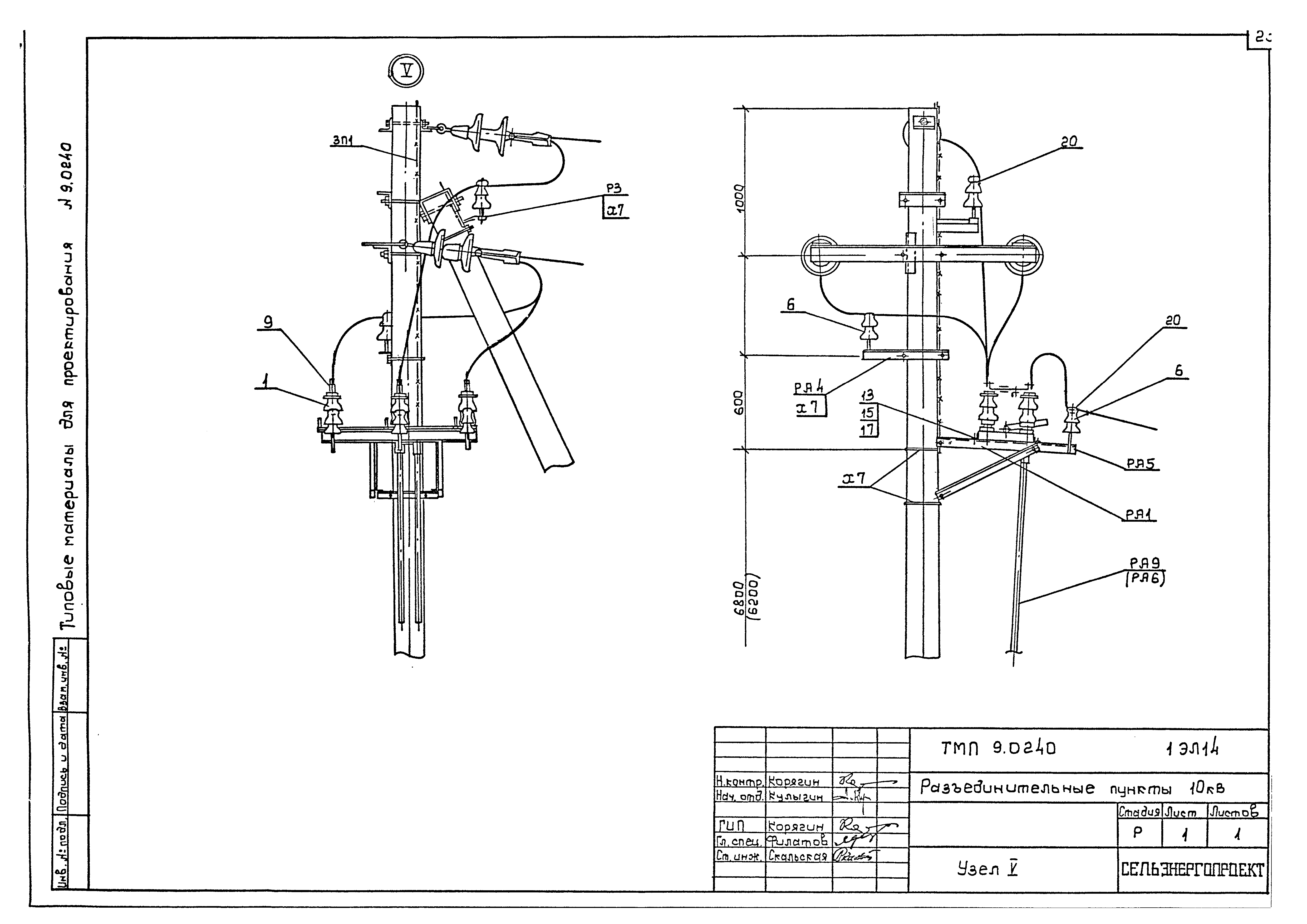
   Узел V
   Узел VI
Электротехническая часть 2ЭЛ
   РП 10 кВ на деревянных опорах. Общие данные
   Электрические схемы разъединительных пунктов
   Номенклатура установок электрооборудования на деревянных опорах. Обзорный лист
   Спецификация элементов установки электрооборудования на деревянную опору
   Установка разъединителя на анкерной опоре АК10-4ДБ типа АДР-1
   Установка разъединителя на анкерной опоре АК10-4ДБ типа АДР-2
   Установка разъединителя на концевой опоре АК10-4ДБ типа КДР-1
   Установка разъединителя с кабельной муфтой на концевой опоре АК10-4ДБ типа КДР-2В
   Установка разъединителя с кабельной муфтой на концевой опоре АК10-4ДБ типа КДР-2Т
   Узлы III, IV
   Узлы I, II, III
   Узлы V, VI
Чертежи стальных конструкций КС
   Стальные конструкции. Общие данные
   Кронштейн РА1
   Кронштейн РА2
   Кронштейн РА4
   Кронштейн Р2
   Кронштейн РА5
   Марка М16
   Вал привода РА6, РА9, РА10
   Проводник ЗП1
   Кронштейн Р9
   Кронштейн Р8
   Кронштейн КМ1
   Скоба КМ3
   Хомут Х6, Х7, Х8, Х23
   Марка К1
   Марка К6
   Марка К3, К4, К5, К7, К8, КМ5, Р7
   Кронштейн Р3
   Марка М13
   Марка М15
   Марка К9
Разработан: Сельэнергопроект
Утверждён:29.06.1990 Сельэнергопроект (30п)
Расположен в:Техническая документация Строительство Справочные документы Типовые строительные конструкции, изделия и узлы Разработанные другими министерствами, ведомствами и организациями
Типовой проект 9.0240Типовой проект 9.0240Типовой проект 9.0240Типовой проект 9.0240Типовой проект 9.0240Типовой проект 9.0240Типовой проект 9.0240Типовой проект 9.0240Типовой проект 9.0240Типовой проект 9.0240Типовой проект 9.0240Типовой проект 9.0240Типовой проект 9.0240Типовой проект 9.0240Типовой проект 9.0240Типовой проект 9.0240Типовой проект 9.0240Типовой проект 9.0240Типовой проект 9.0240Типовой проект 9.0240Типовой проект 9.0240Типовой проект 9.0240Типовой проект 9.0240Типовой проект 9.0240Типовой проект 9.0240Типовой проект 9.0240Типовой проект 9.0240Типовой проект 9.0240Типовой проект 9.0240Типовой проект 9.0240Типовой проект 9.0240Типовой проект 9.0240Типовой проект 9.0240Типовой проект 9.0240Типовой проект 9.0240Типовой проект 9.0240Типовой проект 9.0240Типовой проект 9.0240Типовой проект 9.0240Типовой проект 9.0240Типовой проект 9.0240Типовой проект 9.0240Типовой проект 9.0240Типовой проект 9.0240Типовой проект 9.0240Типовой проект 9.0240Типовой проект 9.0240Типовой проект 9.0240Типовой проект 9.0240Типовой проект 9.0240Типовой проект 9.0240

© 2013 Ёшкин Кот :-) Карта сайта