Скачать ТТК 01.04Б.05 Разработка котлованов и траншей в грунтах II - III группы экскаваторами Э-651, Э-652, Э-652А, Э-656, оборудованными драглайном, с ковшом со сплошной кромкой емкостью 0,65 м3 с погрузкой грунта в автосамосвалыДата актуализации: 10.08.2017 ТТК 01.04Б.05
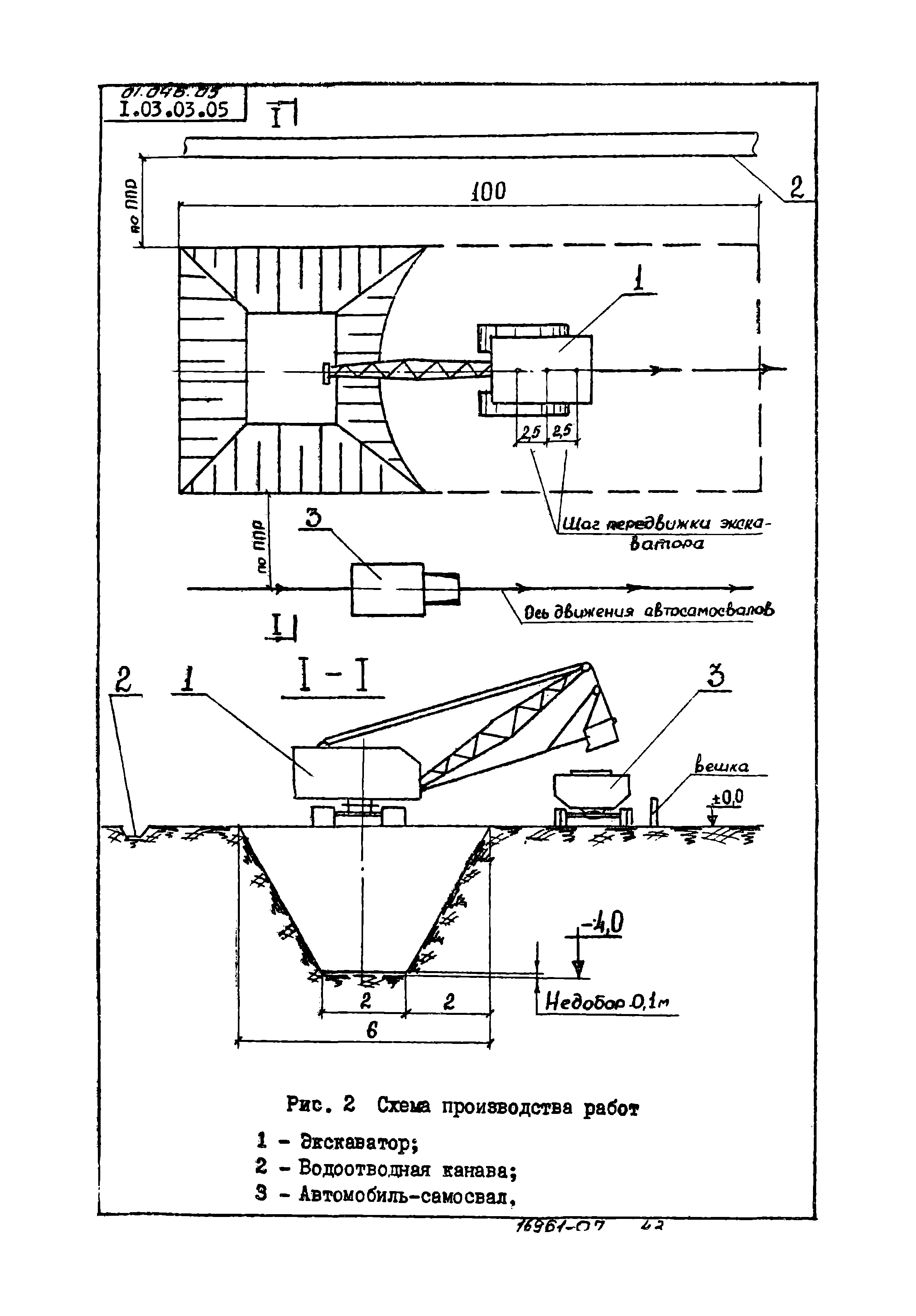
Разработка котлованов и траншей в грунтах II - III группы экскаваторами Э-651, Э-652, Э-652А, Э-656, оборудованными драглайном, с ковшом со сплошной кромкой емкостью 0,65 м3 с погрузкой грунта в автосамосвалыОбозначение: | ТТК 01.04Б.05 | Обозначение англ: | 01.04Б.05 | Статус: | не установлен срок действия | Название рус.: | Разработка котлованов и траншей в грунтах II - III группы экскаваторами Э-651, Э-652, Э-652А, Э-656, оборудованными драглайном, с ковшом со сплошной кромкой емкостью 0,65 м3 с погрузкой грунта в автосамосвалы | Дата добавления в базу: | 01.09.2013 | Дата актуализации: | 05.05.2017 | Дата введения: | 01.10.1971 | Область применения: | Технологическая карта применяется при проектировании, организации и производстве работ по разработке котлованов и траншей в грунтах II - III группы с погрузкой в автосамосвалы. Привязка типовой технологической карты к местным условиям строительства заключается в уточнении объемов работ, средств механизации и потребности в материальных ресурсах, а также в уточнении графической схемы организации процесса соответственно фактическим габаритам здания или сооружения, для возведения которых привязывается типовая технологическая карта. | Оглавление: | 1. Область применения 2. Технико-экономические показатели строительного процесса 3. Организация и технология строительного процесса А. Разработка котлована Б. Разработка траншеи 4. Организация и методы труда рабочих 5. Материально-технические ресурсы 1. Машины, оборудование, инструмент и приспособления 2. Основные эксплуатационные материалы | Разработан: | Трест Оргтехстрой Главсредуралстроя Минтяжстроя СССР
| Утверждён: | 01.10.1971 Минтяжстрой СССР (USSR Mintyazhstroy 24-20-2-8/1131) 01.10.1971 Минпромстрой СССР (USSR Minpromstroy 24-20-2-8/1131) 01.10.1971 Минстрой СССР (USSR Minstroy 24-20-2-8/1131)
| Расположен в: |
| Нормативные ссылки: | |
             
|