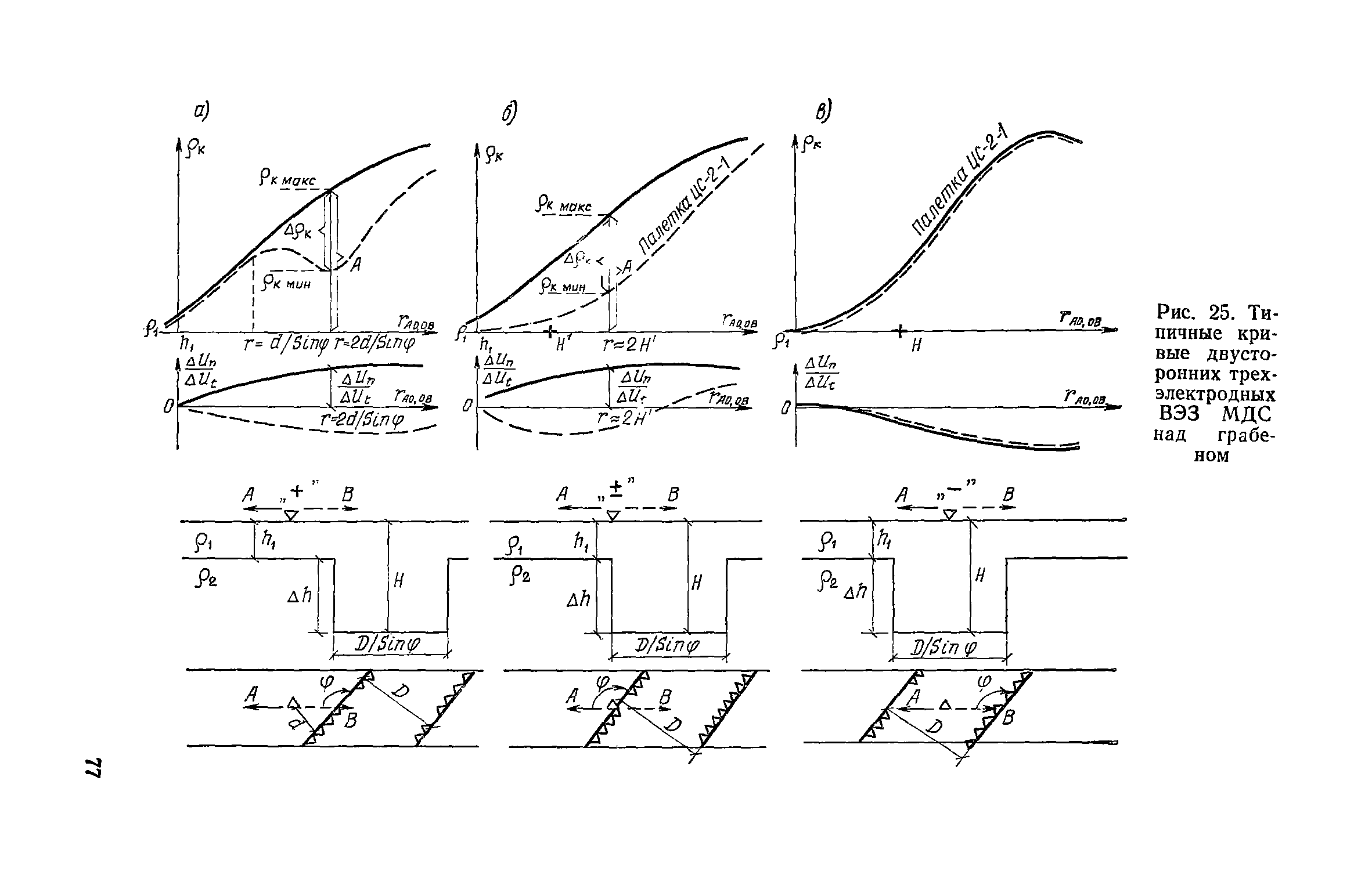
Скачать Руководство по интерпретации кривых ВЭЗ МДСДата актуализации: 10.08.2017
Руководство по интерпретации кривых ВЭЗ МДССтатус: | действует | Название рус.: | Руководство по интерпретации кривых ВЭЗ МДС | Дата добавления в базу: | 01.09.2013 | Дата актуализации: | 05.05.2017 | Область применения: | В документе изложены приемы интерпретации кривых вертикального электрического зондирования методом двух составляющих (ВЭЗ МДС). Обеспечивающие определение электрических свойств горных пород и элементов залеганий их контактов (глубины, простирания, угла падения) с удовлетворительной для практических целей точностью. Предназначено для инженерно-технических работников изыскательских организаций. | Оглавление: | Введение 1. Теоретические основы ВЭЗ МДС Поле точечного источника постоянного тока на поверхности сред простейшего строения Особенности деформации поля точечного источника тока и способы их изучении 2. Интерпретация кривых ВЭЗ, полученных над параллельно-слоистыми массивами Однородное анизотропное полупространство с параллельной слоистостью Двухслойное полупространство Трехслойные среды Четырехслойные параллельно-слоистые среды Многослойные параллельно-слоистые среды 3. Основные закономерности изменения кривых ВЭЗ МДС над элементарными геоэлектрическими массивами (ЭГМ) с горизонтальными и наклонными границами раздела сред Классификация ЭГМ Основные закономерности изменения кривых двусторонних трехэлектродных D"P МДС над ЭГМ различного строения Принципы построения номограмм для интерпретации кривых ВЭЗ МДС Номограммы для определения элементов залегания наклоннослоистой среды Номограммы для учета бокового влияния проводящих сред Номограммы для определения простирания и истинного угла падения наклонных границ раздела 4. Некоторые закономерности изменения кривых ВЭЗ МДС над сложными геоэлектрическими массивами (СГМ) с горизонтальными и наклонными границами раздела Основные закономерности формирования аномалий на кривых ВЭЗ МДС над СГМ, в которых ЭГМ чередуются в вертикальном направлении Основные закономерности формирования аномалий на кривых ВЭЗ МДС над СГМ, в которых ЭГМ чередуются в горизонтальном направлении Принципы систематизации сложных геоэлектрических массивов 5. Приемы интерпретации кривых ВЭЗ МДС, полученных над массивами различного строения Качественная интерпретация кривых двусторонних трехэлектродных ВЭЗ МДС Количественная интерпретация кривых и двусторонних трехэлектродных ВЭЗ МДС Заключительный этап интерпретации Примеры поэтапной интерпретации результатов зондирований 6. Некоторые вопросы методики ВЭЗ МДС Критерии выбора размеров измерительных установок в связи с особенностями строения изучаемых массивов Критерии выбора схем измерительных установок и способы измерений Критерии размещения точек ВЭЗ на исследуемой территории Техника полевых измерений Приложение | Разработан: | ПНИИИС Госстроя СССР (PNIIS, Gosstroy (USSR) )
| Утверждён: | ПНИИИС Госстроя СССР (PNIIIS, USSR Gosstroy )
| Издан: | Стройиздат (1984 г. )
| Расположен в: |
|
                                                                                                                                                                                                        
|