Информационная система
«Ёшкин Кот»

Скачать базу одним архивом
Скачать обновления
История создания базы
Карта сайта

Скачать ОСТ 24.191.08-81 Подвески крюковые крановые. Конструкция и размеры

Дата актуализации: 10.08.2017

ОСТ 24.191.08-81

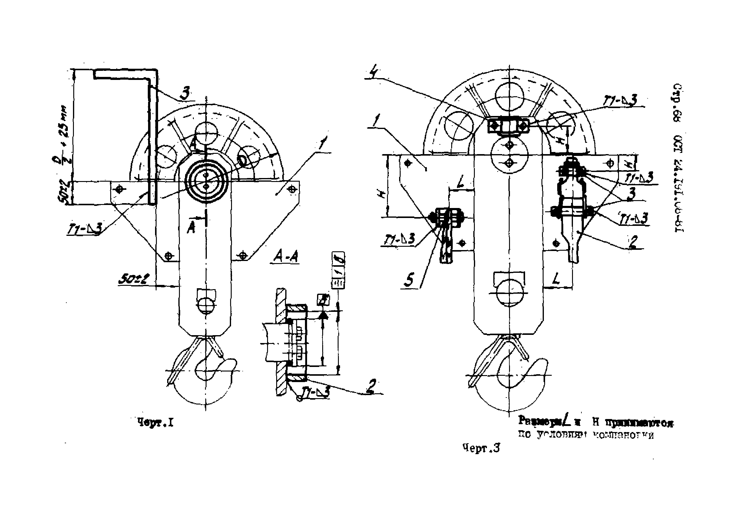
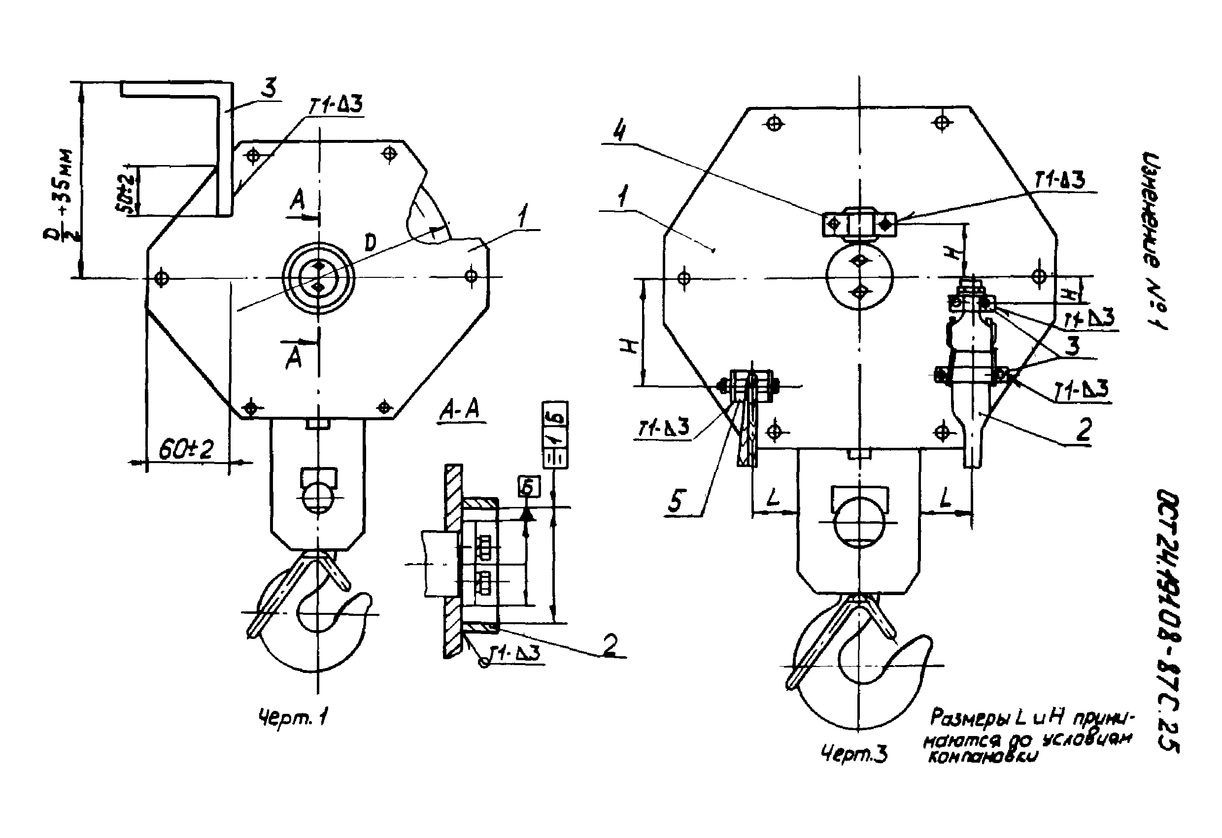
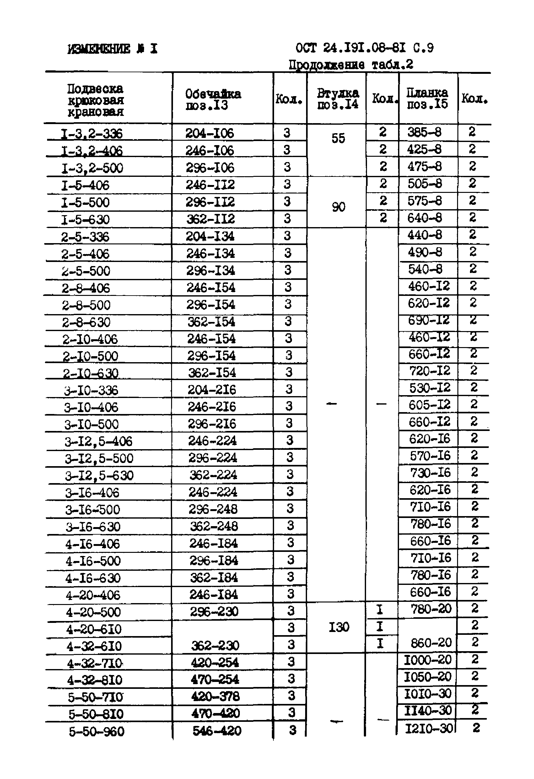
Подвески крюковые крановые. Конструкция и размеры

Обозначение: ОСТ 24.191.08-81
Обозначение англ: OST 24.191.08-81
Статус:не действует
Название рус.:Подвески крюковые крановые. Конструкция и размеры
Дата добавления в базу:01.09.2013
Дата актуализации:05.05.2017
Дата введения:01.01.1984
Дата окончания срока действия:01.01.1991
Область применения:Стандарт распространяется на крюковые крановые подвески для грузоподъемных машин всех типов грузоподъемностью от 3,2 до 50 т при скорости подъема груза до 0,33 м/с легкого (Л), среднего (С), тяжелого (Т) и весьма тяжелого (ВТ) режимов работы, выпускаемых в климатическом исполнении У и ХЛ категории размещения I по ГОСТ 15150-69. Стандарт не распространяется на крюковые крановые подвески для грузоподъемных машин, работающие во взрыво-и пожароопасных, химически- и радиактивных средах, а также для грузоподъемных машин специального типа и стрелового.
Оглавление:1 Исполнения
2 Конструкция и размеры
Приложение. Схемы установки кольца, ограничительной планки и штепсельной муфты
Перечень документов, на которые имеются ссылки в стандарте
Утверждён:16.09.1981 Министерство тяжелого и транспортного машиностроения (ЕМ-002/10866)
Принят:03.09.1981 Госгортехнадзор СССР (USSR Gosgortekhnadzor 14-16/505)
ВНИИПТМАШ (VNIIPTMASH )
Красногвардейский крановый завод
ВПО Союзподъемтрансмаш
Гипромашобогощение
Расположен в:Техническая документация Строительство Стандарты Отраслевые стандарты и технические условия Отраслевые стандарты
Список изменений:
Заменяет собой:
  • ОСТ 24.191.08
Нормативные ссылки:
ОСТ 24.191.08-81ОСТ 24.191.08-81ОСТ 24.191.08-81ОСТ 24.191.08-81ОСТ 24.191.08-81ОСТ 24.191.08-81ОСТ 24.191.08-81ОСТ 24.191.08-81ОСТ 24.191.08-81ОСТ 24.191.08-81ОСТ 24.191.08-81ОСТ 24.191.08-81ОСТ 24.191.08-81ОСТ 24.191.08-81ОСТ 24.191.08-81ОСТ 24.191.08-81ОСТ 24.191.08-81ОСТ 24.191.08-81ОСТ 24.191.08-81ОСТ 24.191.08-81ОСТ 24.191.08-81ОСТ 24.191.08-81ОСТ 24.191.08-81ОСТ 24.191.08-81ОСТ 24.191.08-81ОСТ 24.191.08-81ОСТ 24.191.08-81ОСТ 24.191.08-81ОСТ 24.191.08-81ОСТ 24.191.08-81ОСТ 24.191.08-81ОСТ 24.191.08-81ОСТ 24.191.08-81ОСТ 24.191.08-81ОСТ 24.191.08-81ОСТ 24.191.08-81ОСТ 24.191.08-81ОСТ 24.191.08-81ОСТ 24.191.08-81ОСТ 24.191.08-81ОСТ 24.191.08-81ОСТ 24.191.08-81ОСТ 24.191.08-81ОСТ 24.191.08-81ОСТ 24.191.08-81ОСТ 24.191.08-81ОСТ 24.191.08-81ОСТ 24.191.08-81ОСТ 24.191.08-81ОСТ 24.191.08-81ОСТ 24.191.08-81ОСТ 24.191.08-81ОСТ 24.191.08-81ОСТ 24.191.08-81ОСТ 24.191.08-81ОСТ 24.191.08-81ОСТ 24.191.08-81ОСТ 24.191.08-81ОСТ 24.191.08-81ОСТ 24.191.08-81ОСТ 24.191.08-81ОСТ 24.191.08-81ОСТ 24.191.08-81ОСТ 24.191.08-81ОСТ 24.191.08-81ОСТ 24.191.08-81ОСТ 24.191.08-81ОСТ 24.191.08-81ОСТ 24.191.08-81ОСТ 24.191.08-81ОСТ 24.191.08-81ОСТ 24.191.08-81ОСТ 24.191.08-81ОСТ 24.191.08-81ОСТ 24.191.08-81ОСТ 24.191.08-81ОСТ 24.191.08-81ОСТ 24.191.08-81ОСТ 24.191.08-81ОСТ 24.191.08-81ОСТ 24.191.08-81ОСТ 24.191.08-81ОСТ 24.191.08-81ОСТ 24.191.08-81ОСТ 24.191.08-81ОСТ 24.191.08-81ОСТ 24.191.08-81ОСТ 24.191.08-81ОСТ 24.191.08-81ОСТ 24.191.08-81ОСТ 24.191.08-81ОСТ 24.191.08-81ОСТ 24.191.08-81ОСТ 24.191.08-81ОСТ 24.191.08-81ОСТ 24.191.08-81ОСТ 24.191.08-81ОСТ 24.191.08-81ОСТ 24.191.08-81ОСТ 24.191.08-81ОСТ 24.191.08-81ОСТ 24.191.08-81ОСТ 24.191.08-81

Текстовое изменение № 1 от 26.04.1989

№ 1№ 1№ 1№ 1№ 1№ 1№ 1№ 1№ 1№ 1№ 1№ 1№ 1№ 1№ 1№ 1№ 1№ 1№ 1№ 1№ 1№ 1№ 1№ 1№ 1№ 1№ 1

© 2013 Ёшкин Кот :-) Карта сайта