Информационная система
«Ёшкин Кот»

Скачать базу одним архивом
Скачать обновления
История создания базы
Карта сайта

Скачать Руководство по проектированию инженерно-технического оборудования убежищ гражданской обороны

Дата актуализации: 10.08.2017

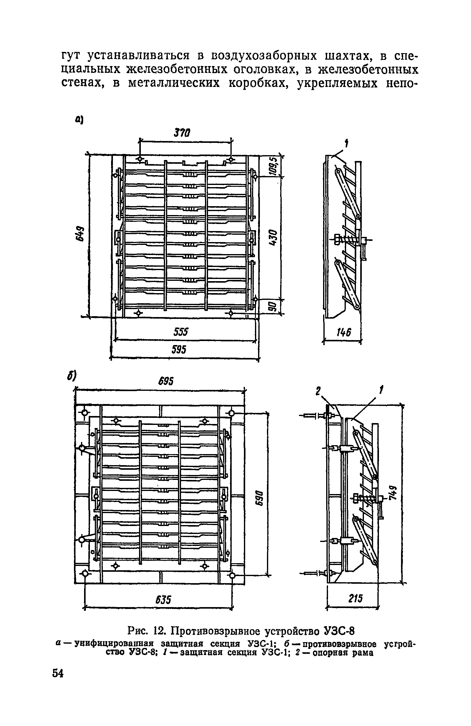
Руководство по проектированию инженерно-технического оборудования убежищ гражданской обороны

Статус:действует
Название рус.:Руководство по проектированию инженерно-технического оборудования убежищ гражданской обороны
Дата добавления в базу:01.09.2013
Дата актуализации:05.05.2017
Область применения:В руководстве рассматривается применение положений "Указаний по проектированию убежищ гражданской обороны" (СН 405-70) в части устройства инженерно-технического оборудования (вентиляции, отопления, водоснабжения, канализации, электроснабжения и защищенных дизельных электростанций). Приводятся примеры расчетов и рекомендации из выбору оборудования. Руководство предназначено для специалистов, занимающихся проектированием и строительством убежищ гражданской обороны.
Оглавление:Введение
1. Общие положения
2. Вентиляция и отопление
3. Водоснабжение и канализация
4. Электроснабжение
5. Защищенные дизельные электростанции (ДЭС)
Приложение 1. Среднемесячные температуры и теплосодержания наружного воздуха самого жаркого месяца
Приложение 2. Средние температуры грунта в южных районах СССР за август
Приложение 3. Экономическая эффективность воздухоохлаждающих установок
Разработан: Сантехпроект Госстроя СССР
Издан: Стройиздат (1974 г. )
Расположен в:Техническая документация Экология ГРАЖДАНСКОЕ СТРОИТЕЛЬСТВО Гражданское строительство в целом Строительство Справочные документы Директивные письма, положения, рекомендации и др.

© 2013 Ёшкин Кот :-) Карта сайта