Информационная система
«Ёшкин Кот»

Скачать базу одним архивом
Скачать обновления
История создания базы
Карта сайта

Скачать ОСТ 108.838.01-75 Сепаратор непрерывной продувки Ду800. Конструкция и технические требования

Дата актуализации: 10.08.2017

ОСТ 108.838.01-75

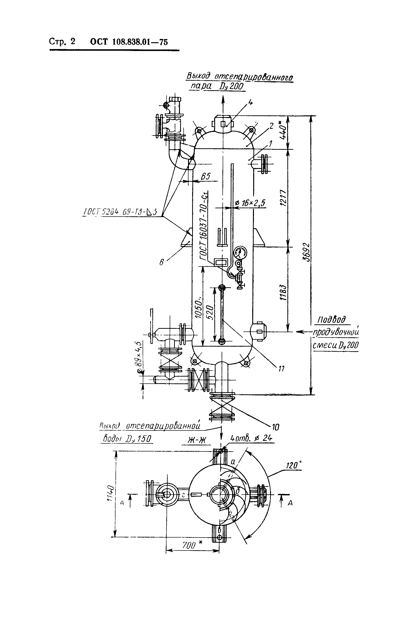
Сепаратор непрерывной продувки Ду800. Конструкция и технические требования

Обозначение: ОСТ 108.838.01-75
Обозначение англ: OST 108.838.01-75
Статус:не действует
Название рус.:Сепаратор непрерывной продувки Ду800. Конструкция и технические требования
Дата добавления в базу:01.09.2013
Дата актуализации:05.05.2017
Дата введения:01.04.1976
Дата окончания срока действия:01.04.1981
Область применения:Стандарт распространяется на сепараторы непрерывной продувки с внутренним диаметром 800 мм, устанавливаемые в схемах непрерывной продувки барабанных котлов с использованием пара в деаэраторах давлением 1,2 и 6 кгс/см2. Стандарт устанавливает параметры, конструкцию сепаратора и основные размеры, определяющие эффективность его действия.
Оглавление:1. Конструкция и параметры
2. Технические требования
Приложение 1 (справочное). Описание конструкции и принцип действия
Приложение 1 (справочное). Узлы и детали сепаратора непрерывной продувки Ду800. Конструкция и размеры
Разработан: Центральный научно-исследовательский и проектно-конструкторский котлотурбинный институт им. И.И. Ползунова
Утверждён:29.08.1975 Министерство энергетического машиностроения (Ministry of Energy Machinery Manufacturing пс-002/1357)
Расположен в:Техническая документация Строительство Стандарты Отраслевые стандарты и технические условия Отраслевые стандарты
Нормативные ссылки:
ОСТ 108.838.01-75ОСТ 108.838.01-75ОСТ 108.838.01-75ОСТ 108.838.01-75ОСТ 108.838.01-75ОСТ 108.838.01-75ОСТ 108.838.01-75ОСТ 108.838.01-75ОСТ 108.838.01-75ОСТ 108.838.01-75ОСТ 108.838.01-75ОСТ 108.838.01-75ОСТ 108.838.01-75ОСТ 108.838.01-75ОСТ 108.838.01-75ОСТ 108.838.01-75

© 2013 Ёшкин Кот :-) Карта сайта