Информационная система
«Ёшкин Кот»

Скачать базу одним архивом
Скачать обновления
История создания базы
Карта сайта

Скачать ГОСТ Р 54069-2010 Электрооборудование для потенциально взрывоопасных сред. Группа I. Искробезопасные системы. Часть 1. Конструкция и испытания

Дата актуализации: 10.08.2017

ГОСТ Р 54069-2010

Электрооборудование для потенциально взрывоопасных сред. Группа I. Искробезопасные системы. Часть 1. Конструкция и испытания

Обозначение: ГОСТ Р 54069-2010
Обозначение англ: GOST R 54069-2010
Статус:действует
Название рус.:Электрооборудование для потенциально взрывоопасных сред. Группа I. Искробезопасные системы. Часть 1. Конструкция и испытания
Название англ.:Electrical apparatus for potentially explosive atmospheres. Group I. Intrinsically safe systems. Part 1. Construction and testing
Дата добавления в базу:01.09.2013
Дата актуализации:05.05.2017
Дата введения:01.01.2012
Область применения:Стандарт содержит специальные требования к конструкции и испытаниям искробезопасных электрических систем, предназначенных для применения полностью или частично во взрывоопасных газовых средах как оборудование группы I. Стандарт дополняет ГОСТ Р МЭК 60079-11, требования которого относятся к электрическим устройствам, используемым в искробезопасных электрических системах. Стандарт распространяется: - на системы, размещенные на рынке изготовителями или их уполномоченными представителями; - на системы, смонтированные заказчиком из изделий, соответствующих ГОСТ Р МЭК 60079-11. Стандарт не распространяется на выбор соответствующего оборудования или установку искробезопасного электрооборудования и связанного электрооборудования для создания искробезопасной электрической системы.
Оглавление:1 Область применения
2 Нормативные ссылки
3 Термины и определения
4 Уровень искробезопасной электрической системы
   4.1 Уровень М1
   4.2 Уровень М2
5 Соединительная проводка/кабели, используемые в искробезопасной электрической системе
6 Принадлежности для искробезопасных электрических систем
7 Типовые испытания и оценка искробезопасной системы
   7.1 Общие требования
   7.2 Оценка систем, в которых используются многожильные кабели, содержащие одну или несколько цепей
8 Маркировка искробезопасных электрических систем
9 Техническое описание системы
10 Инструкции
Приложение А (обязательное) Требования к кабелям
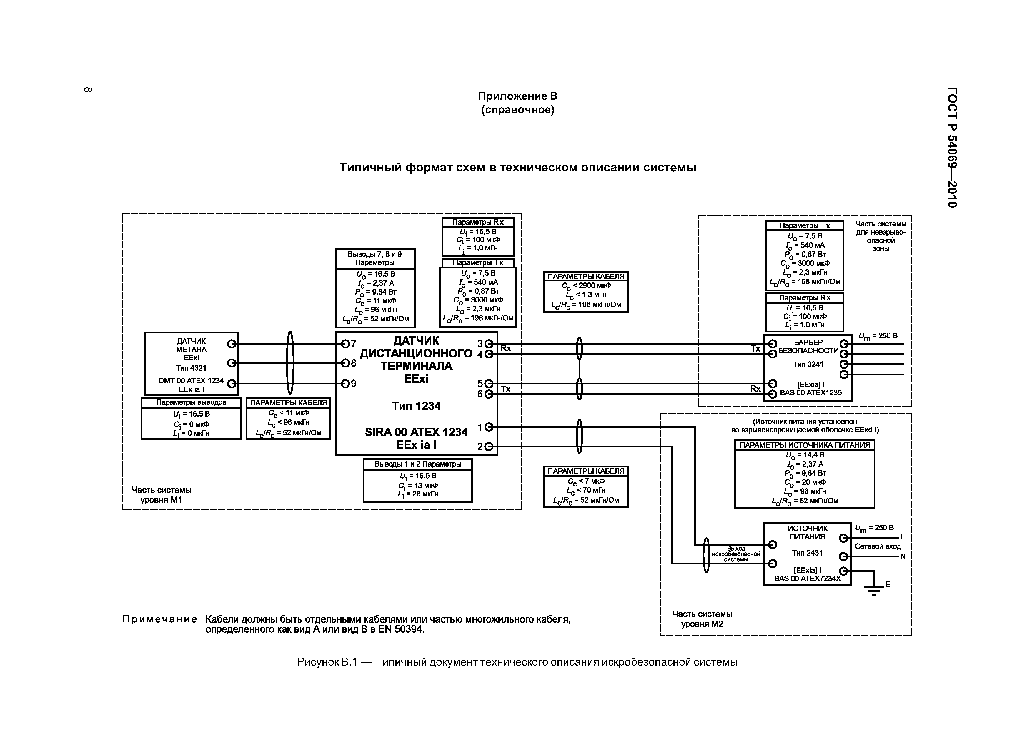
Приложение В (справочное) Типичный формат схем в техническом описании системы
Приложение С (обязательное) Оценка простой искробезопасной системы
Приложение D (обязательное) Оценка цепей, содержащих не менее двух линейных источников питания
Приложение Е (обязательное) Источники питания с трапециевидной выходной характеристикой
Приложение F (обязательное) Нелинейные источники питания
Приложение G (обязательное) Проверка параметров индуктивности
Библиография
Разработан: АННО Ех-стандарт
Утверждён:30.11.2010 Федеральное агентство по техническому регулированию и метрологии (713-ст)
Издан: Стандартинформ (2011 г. )
Расположен в:Техническая документация Электроэнергия ЭЛЕКТРОТЕХНИКА Электрическое оборудование для работы в особых условиях Электрическое оборудование для взрывоопасной атмосферы Экология ЭЛЕКТРОТЕХНИКА Электрическое оборудование для работы в особых условиях Электрическое оборудование для взрывоопасной атмосферы Строительство Стандарты Другие государственные стандарты, применяемые в строительстве Электротехника
Нормативные ссылки:
ГОСТ Р 54069-2010ГОСТ Р 54069-2010ГОСТ Р 54069-2010ГОСТ Р 54069-2010ГОСТ Р 54069-2010ГОСТ Р 54069-2010ГОСТ Р 54069-2010ГОСТ Р 54069-2010ГОСТ Р 54069-2010ГОСТ Р 54069-2010ГОСТ Р 54069-2010ГОСТ Р 54069-2010ГОСТ Р 54069-2010ГОСТ Р 54069-2010ГОСТ Р 54069-2010ГОСТ Р 54069-2010ГОСТ Р 54069-2010ГОСТ Р 54069-2010ГОСТ Р 54069-2010ГОСТ Р 54069-2010ГОСТ Р 54069-2010ГОСТ Р 54069-2010ГОСТ Р 54069-2010ГОСТ Р 54069-2010

© 2013 Ёшкин Кот :-) Карта сайта