| ||||||||||||||||||||||||||||||
Скачать СТО 70238424.27.100.070-2009 Электрофильтры ЭГД. Общие технические условия на капитальный ремонт. Нормы и требованияДата актуализации: 10.08.2017
|
| Обозначение: | СТО 70238424.27.100.070-2009 |
| Обозначение англ: | STO 70238424.27.100.070-2009 |
| Статус: | проект |
| Название рус.: | Электрофильтры ЭГД. Общие технические условия на капитальный ремонт. Нормы и требования |
| Дата добавления в базу: | 01.10.2014 |
| Дата актуализации: | 05.05.2017 |
| Область применения: | Стандарт организации является нормативным документом, устанавливающим технические нормы и требования к ремонту электрофильтров ЭГД, направленные на обеспечение промышленной безопасности тепловых электрических станций, экологической безопасности, повышения надежности эксплуатации и качества ремонта. Документ устанавливает технические требования, объем и методы дефектации, способы ремонта, методы контроля и испытаний к составным частям и электрофильтрам ЭГД в целом в процессе ремонта и после ремонта, объемы, методы испытаний и сравнения показателей качества отремонтированных электрофильтров ЭГД с их нормативными и доремонтными значениями; распространяется на капитальный ремонт двухъярусных электрофильтров типа ЭГД и ЭГДМ (модернизированных) и предназначен для применения генерирующими компаниями, эксплуатирующими организациями на тепловых электростанциях, ремонтными и иными организациями, осуществляющими ремонтное обслуживание оборудования электростанций. Стандарт не распространяется на ремонт оборудования электропривода, электропитания, контрольно-измерительных приборов, электродвигателей, тепловой изоляции, системы золоудаления |
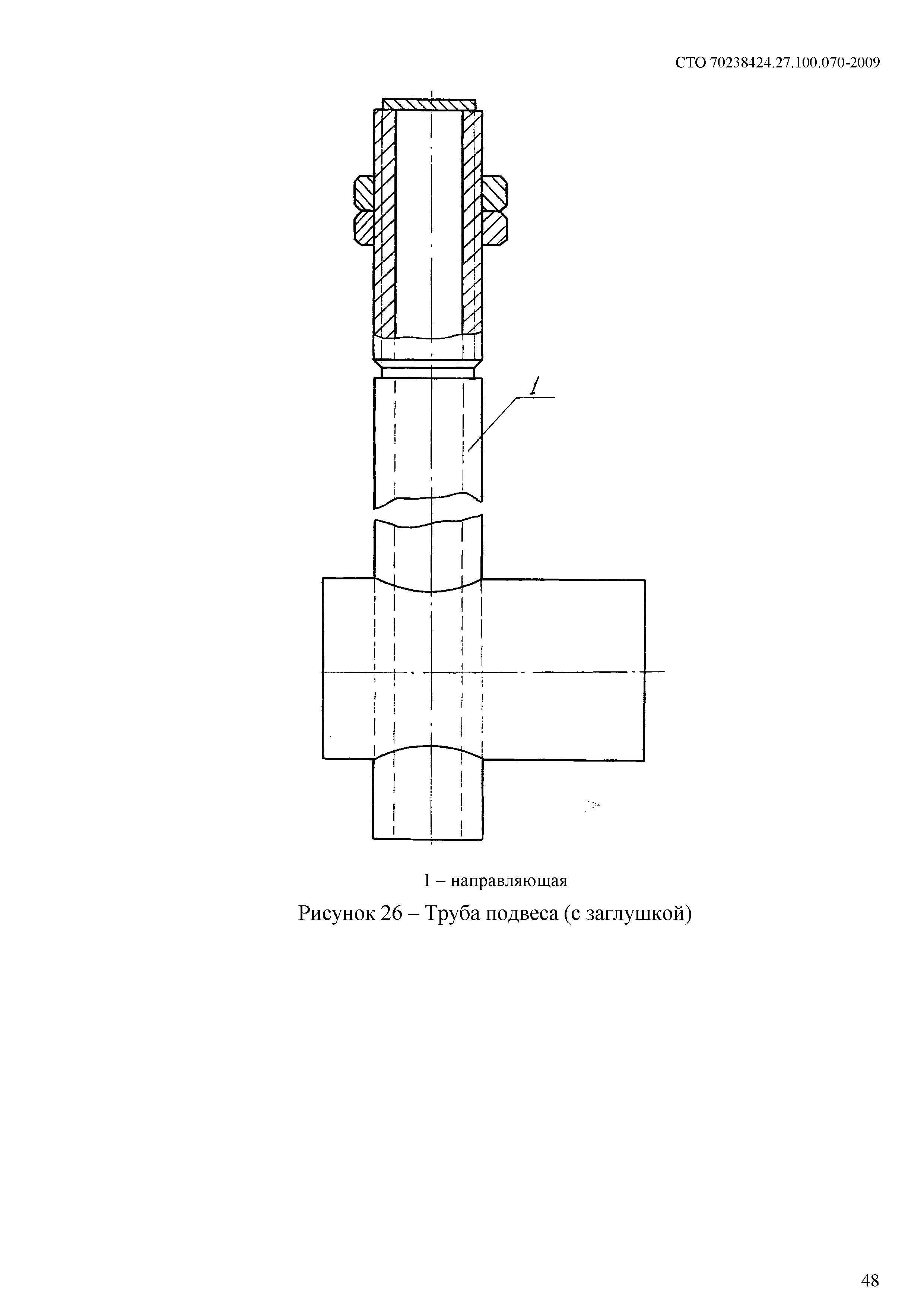
| Оглавление: | 1 Область применения 2 Нормативные ссылки 3 Термины, определения, обозначения и сокращения 4 Общие положения 5 Общие технические сведения 6 Общие технические требования 6.1 Требования к материалам 6.2 Требования к сварным соединениям 6.3 Требования к резьбовым соединениям 6.4 Требования к шпоночным соединениям 6.5 Требования к поверхностям под посадку 6.6 Требования к метрологическому обеспечению 6.7 Требования к разборке, дефектации и ремонту 7 Требования к составным частям 7.1 Электрод осадительный 7.2 Требования к электродам осадительным 7.3 Механизм встряхивания электродов осадительных 7.4 Требования к механизму встряхивания электродов осадительных 7.5 Электрод коронирующий и нижняя система встряхивания 7.6 Требования к составным частям электродов коронирующих 7.7 Верхняя система встряхивания электродов коронирующих 7.8 Требования к составным частям верхней и нижней систем встряхивания электродов коронирующих 7.9 Решетка газораспределительная, заземление 7.10 Требования к газораспределительным решеткам, заземлению 8 Требования к сборке узлов и деталей оборудования и к отремонтированному электрофильтру 9 Испытания и показатели качества отремонтированных электрофильтров 10 Требования к обеспечению безопасности 11 Оценка соответствия Приложение А (справочное) Техническая характеристика электрофильтров. Приложение Б (обязательное) Разрешенные замены материалов Приложение В (обязательное) Номенклатура деталей, заменяемых независимо от их состояния Приложение Г (рекомендуемое) Перечень средств измерительной техники, инструмента и приборов, упомянутых в стандарте Приложение Д (обязательное) Нормы зазоров и натягов |
| Разработан: | ЗАО ЦКБ Энергоремонт |
| Утверждён: | НП ИНВЭЛ |
| Издан: | НП ИНВЭЛ (2009 г. ) |
| Расположен в: | |
| Нормативные ссылки: |

































































































































