| ||||||||||||||||||||||||||||
Скачать СТО 70238424.27.040.019-2009 Турбина паровая Т-100-130 ТМЗ. Технические условия на капитальный ремонт. Нормы и требованияДата актуализации: 10.08.2017
|
| Обозначение: | СТО 70238424.27.040.019-2009 |
| Обозначение англ: | STO 70238424.27.040.019-2009 |
| Статус: | проект |
| Название рус.: | Турбина паровая Т-100-130 ТМЗ. Технические условия на капитальный ремонт. Нормы и требования |
| Дата добавления в базу: | 01.10.2014 |
| Дата актуализации: | 05.05.2017 |
| Область применения: | Стандарт распространяется на капитальный ремонт турбин паровых Т-100/120-130-1(2, 3) ТМЗ и предназначен для применения генерирующими компаниями, эксплуатирующими организациями на тепловых электростанциях, ремонтными и иными организациями, осуществляющими ремонтное обслуживание оборудования электростанций. |
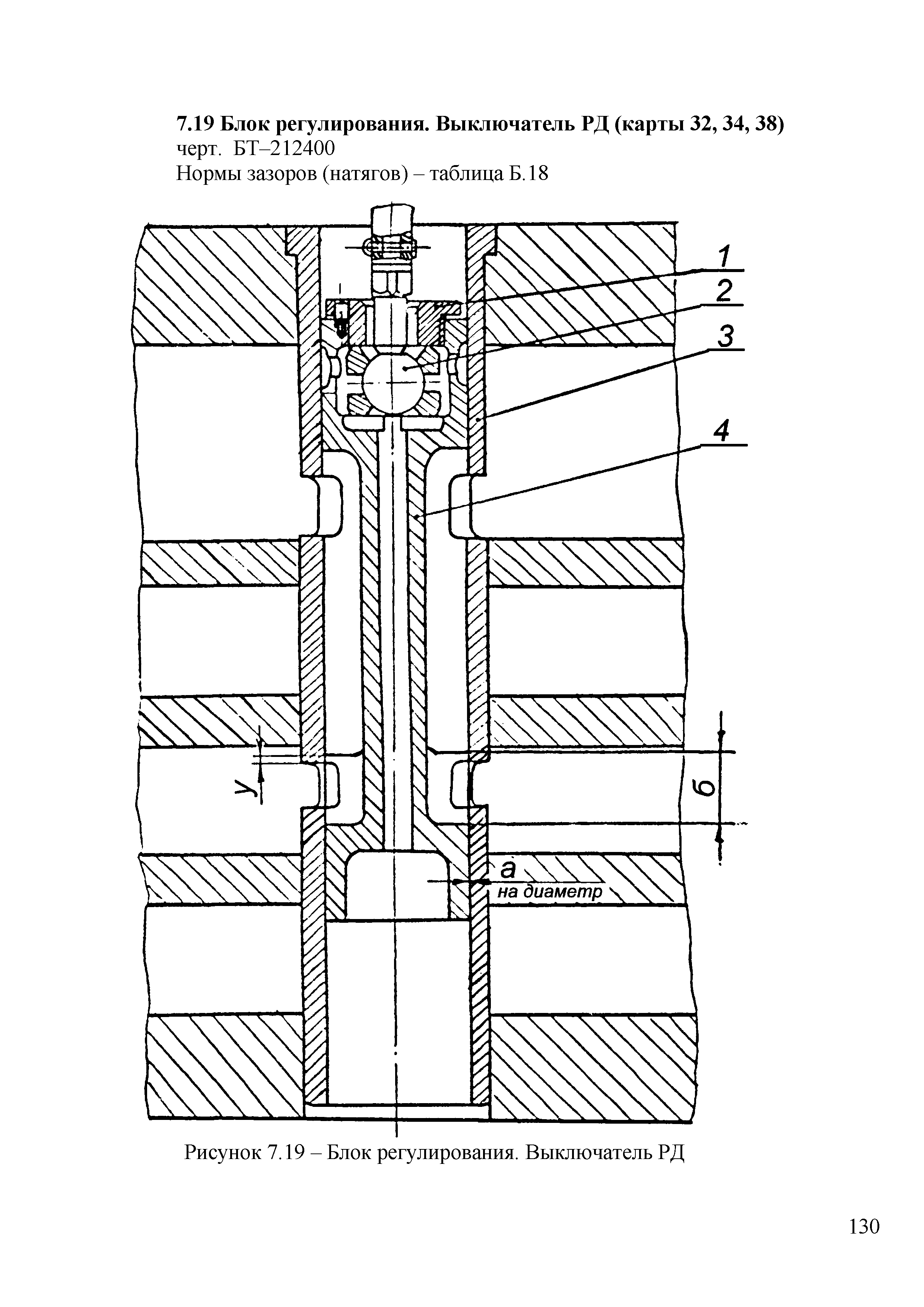
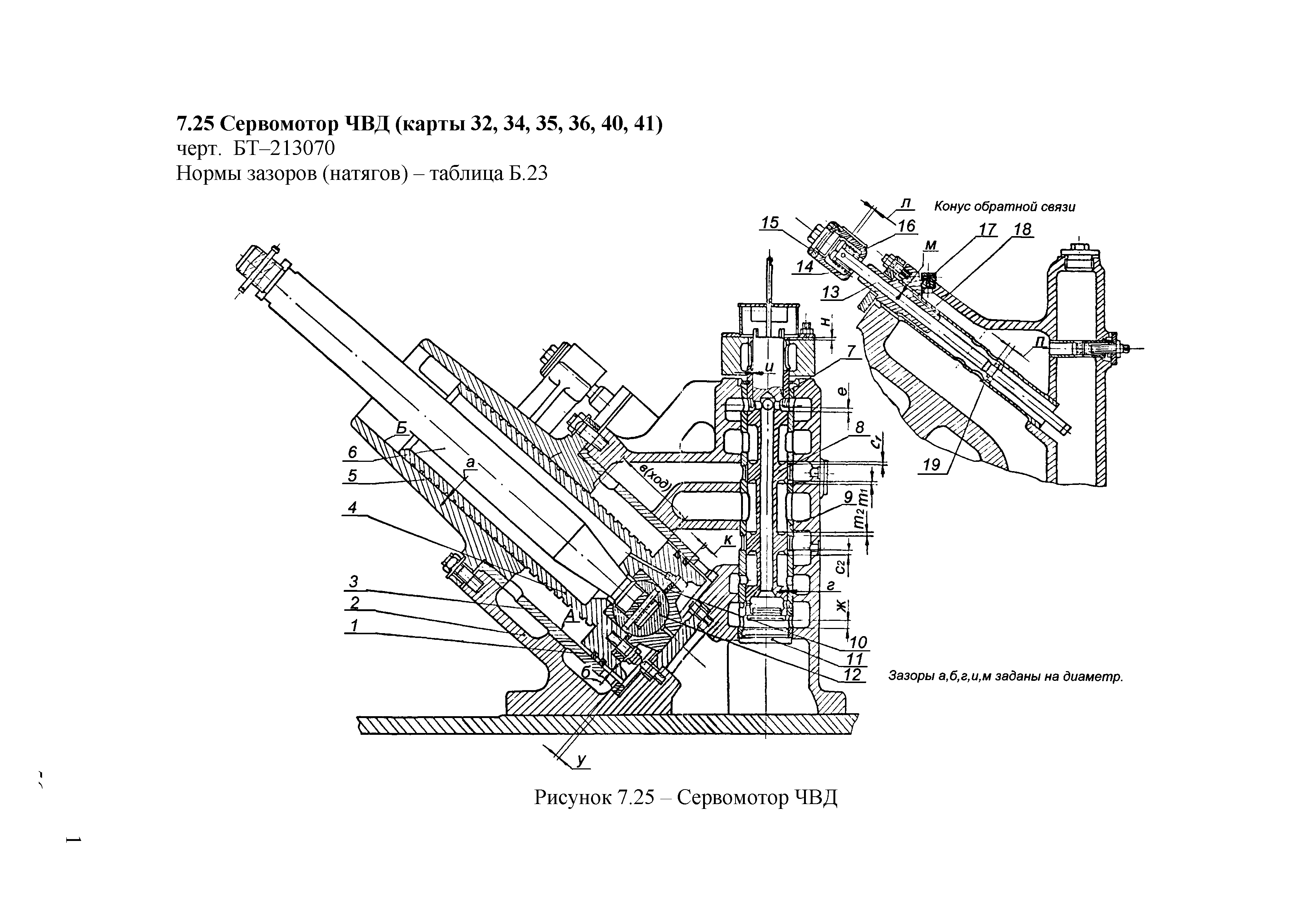
| Оглавление: | 1 Область применения 2 Нормативные ссылки 3 Термины, определения, обозначения и сокращения 4 Общие положения 5 Общие технические сведения 6 Общие технические требования 7 Требования к составным частям 7.1 Корпусные части цилиндра ВД (карты 1, 4, 6, 7, 11 - 14, 16) 7.2 Корпусные части цилиндра СД (карты 1, 3, 4, 6 - 8, 11 - 14, 16) 7.3 Корпусные части цилиндра НД (карты 2 - 5, 9 - 12, 15, 16) 7.4 Ротор ВД (карта 17) 7.5 Ротор СД (карта 17) 7.6 Ротор НД (карта 17) 7.7 Передний подшипник (карты 18,19, 24, 26) 7.8 Средний подшипник (карты 18, 20 - 26) 7.9 Подшипники 4 - 6 (карты 18,19, 24, 26) 7.10 Валоповоротное устройство (карта 27) 7.11 Цилиндр ВД (карта 28) 7.12 Цилиндр СД (карта 28) 7.13 Цилиндр НД (карта 28) 7.14 Насосная группа (карта 29) 7.15 Привод тахометра (карта 30) 7.16 Автомат безопасности (карта 31) 7.17 Регулятор скорости (карты 32 - 34, 36 - 38) 7.18 Регулятор давления. Блок изодрома РД (карты 32 - 34, 37, 38) 7.19 Блок регулирования. Выключатель РД (карты 32, 34, 38) 7.20 Блок регулирования. Блок золотника РД (карты 32, 34, 35, 38) 7.21 Блок регулирования (карты 32 - 34, 36 - 38) 7.22 Преобразователь электрогидравлический (карты 32, 34, 35, 38) 7.23 Блок золотников автомата безопасности (карта 39) 7.24 Блок золотников автомата безопасности (карта 32 - 35, 39) 7.25 Сервомотор ЧВД (карты 32, 34, 35, 36, 40, 41) 7.26 Сервомотор ЧНД (карты 32, 34, 35, 36, 40, 41) 7.27 Сервомотор ЧНД (карты 32, 34, 35, 36, 40, 41) 7.28 Автоматический затвор (карты 32, 34 - 36, 40, 41) 7.29 Рычаги сервомотора ЧНД и поворотных диафрагм (карта 42) 7.30 Кулачковое распределительное устройство (карта 43) 7.31 Колонки и рычаги регулирующих клапанов (карта 44) 7.32 Клапан стопорный (карты 45 - 49) 7.33 Клапан регулирующий (карты 45 - 47, 49) 8 Требования к сборке и к отремонтированному изделию 9 Испытания и показатели качества отремонтированной турбины 10 Требования к обеспечению безопасности 11 Оценка соответствия Приложение А (обязательное). Допустимые замены материалов Приложение Б (обязательное). Нормы зазоров (натягов) Приложение В (рекомендуемое). Перечень средств измерений, упомянутых в стандарте Приложение Г (обязательное). Замена бандажей без разлопачивания ступени турбины Приложение Д (обязательное). Обследование эрозионного износа рабочих лопаток предпоследней и последней ступеней Приложение Е (обязательное). Инструкция по контролю травлением металла лопаток из хромистых сталей паровых турбин Приложение Ж (обязательное). Инструкция по герметизации и заполнению инертным газом центральных полостей роторов высокого и среднего давления турбин Т-250/300-240, Т-100/130, Т-175/210-130, Р-100-130/15, ПТ-135/165-130/15, Т-50-130, ПТ-50/60-130/7 Приложение И (обязательное). Меры по предотвращению поломок направляющих лопаток в перепускных трубах между ЦСД и ЦНД турбины Т-100/120-130 Библиография |
| Разработан: | ЗАО ЦКБ Энергоремонт |
| Утверждён: | НП ИНВЭЛ |
| Расположен в: | |
| Нормативные ссылки: |


















































































































































































































































































































