| ||||||||||||||||||||||||||||
Скачать СТО 70238424.27.040.017-2009 Турбина паровая Т–175/210–130 ТМЗ. Технические условия на капитальный ремонт. Нормы и требованияДата актуализации: 10.08.2017
|
| Обозначение: | СТО 70238424.27.040.017-2009 |
| Обозначение англ: | STO 70238424.27.040.017-2009 |
| Статус: | проект |
| Название рус.: | Турбина паровая Т–175/210–130 ТМЗ. Технические условия на капитальный ремонт. Нормы и требования |
| Дата добавления в базу: | 01.10.2014 |
| Дата актуализации: | 05.05.2017 |
| Область применения: | Стандарт распространяется на капитальный ремонт турбины паровой Т-175/210-130 ТМЗ и предназначен для применения генерирующими компаниями, эксплуатирующими организациями на тепловых электростанциях, ремонтными и иными организациями, осуществляющими ремонтное обслуживание оборудования электростанций. |
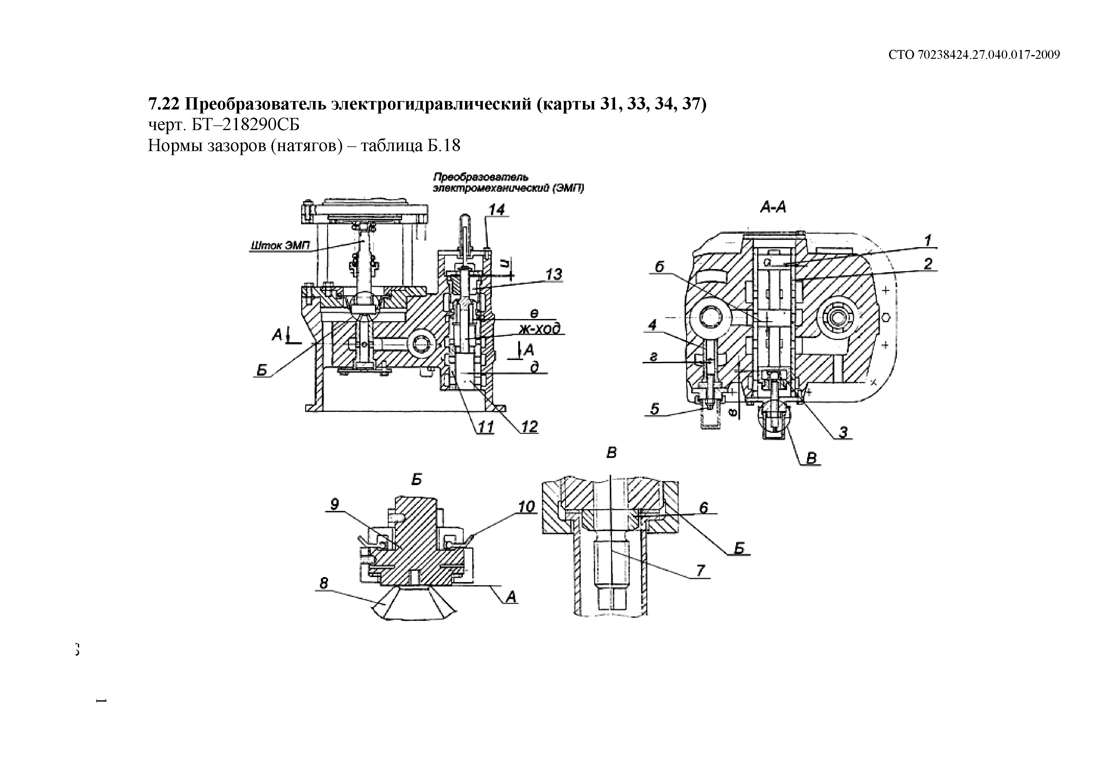
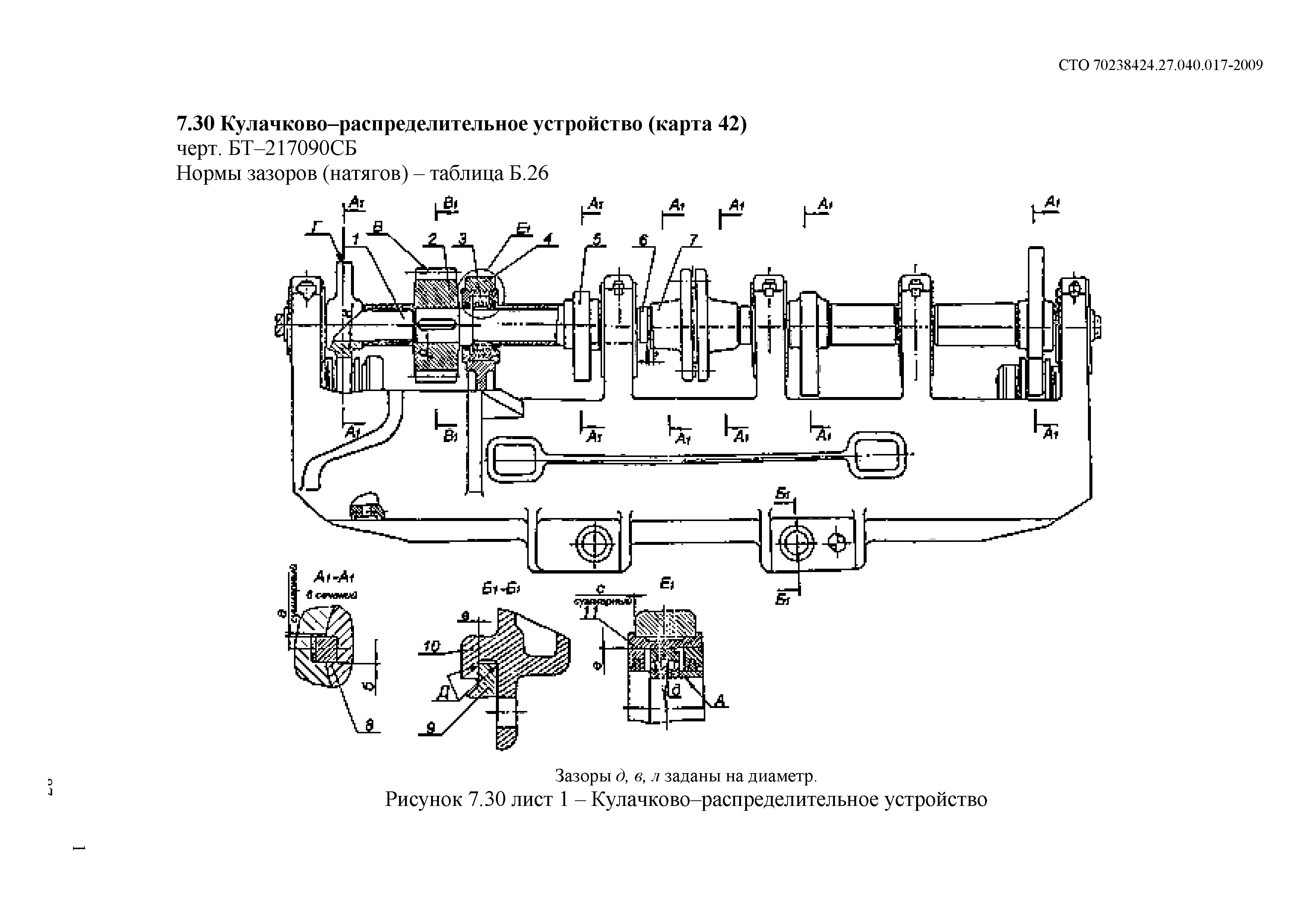
| Оглавление: | 1 Область применения 2 Нормативные ссылки 3 Термины, определения, обозначения и сокращения 4 Общие положения 5 Общие технические сведения 6 Общие технические требования 7 Требования к составным частям 7.1 Корпусные части цилиндра ВД (карты 1, 3 - 5, 7 - 9, 10, 11, 13) 7.2 Корпусные части цилиндра СД (карты 3, 5, 6, 8, 10 - 12, 14) 7.3 Корпусные части цилиндра НД (карты 4, 5 - 8, 11 - 14) 7.4 Ротор ВД (карта 16) 7.5 Ротор СД (карта 16) 7.6 Ротор НД (карта 16) 7.7 Передний подшипник (карта 17, 18, 24, 25) 7.8 Средний подшипник (карты 17 - 25) 7.9 Подшипники 4 - 6 (карты 17, 18, 24, 25) 7.10 Валоповоротное устройство (карта 26) 7.11 Цилиндр ВД (карта 27) 7.12 Цилиндр СД (карта 27) 7.13 Цилиндр НД (карта 27) 7.14 Насосная группа (карта 28) 7.15 Привод тахометра (карта 29) 7.16 Золотники автомата безопасности (карта 30, 31 - 34) 7.17 Регулятор скорости (карты 31 - 33, 35 - 37) 7.18 Регулятор давления. Блок изодрома РД (карты 31 - 33, 36, 37) 7.19 Переключатель (карты 31, 37) 7.20 Блок регулирования. Выключатель РД (карты 31, 33, 37) 7.21 Блок регулирования (карты 31 - 33, 35 - 37) 7.22 Преобразователь электрогидравлический (карты 31, 33, 34, 37) 7.23 Автомат безопасности (карта 38) 7.24 Автозатвор стопорного клапана (карты 31, 33, 34, 39, 40) 7.25 Автозатвор защитного клапана (карты 31, 33, 34, 39, 40) 7.26 Сервомотор ЧВД (карты 31, 33, 39, 40) 7.27 Сервомотор ЧНД (карты 31, 33, 39, 40) 7.28 Аккумулятор (карты 33, 34, 40) 7.29 Рычаги сервомотора и поворотных диафрагм (карта 41) 7.30 Кулачково-распределительное устройство (карта 42) 7.31 Колонки и рычаги регулирующих клапанов (карта 43) 7.32 Клапан стопорный (карты 44 - 48) 7.33 Клапан защитный (карты 44 - 46, 48) 7.34 Клапаны регулирующие (карты 44 - 46, 48) 8 Требования к сборке и к отремонтированному изделию 9 Испытания и показатели качества отремонтированной турбины 10 Требования к обеспечению безопасности 11 Оценка соответствия Приложение А (обязательное). Допустимые замены материалов Приложение Б (обязательное). Нормы зазоров и натягов Приложение В (рекомендуемое). Перечень средств измерений, упомянутых в стандарте Приложение Г (обязательное). Замена бандажей без разлопачивания ступени турбины Приложение Д (обязательное). Обследование эрозионного износа рабочих лопаток 23 (26), 24 (27), 25 (28) ступеней турбин Т-175/210-130, Т-185/220-130-2, ПТ-135/165-130, ПТ-140/165-130-2 Приложение Е (обязательное). Контроль травлением металла лопаток из хромистых сталей паровых турбин Приложение Ж (обязательное). Герметизация и заполнение инертным газом центральных полостей роторов высокого и среднего давления турбин. Приложение И (обязательное). Замер уклонов корпусов подшипников (кручение ригелей) Приложение К (обязательное). О первоочередных мерах по обеспечению надежной работы роторов среднего и низкого давления паровых турбин без промперегрева производства ЗАО "УТЗ" Библиография |
| Разработан: | ЗАО ЦКБ Энергоремонт |
| Утверждён: | НП ИНВЭЛ |
| Расположен в: | |
| Нормативные ссылки: |
























































































































































































































































































































































