| ||||||||||||||||||||||||||||
Скачать СТО 70238424.27.040.016-2009 Турбина паровая ПТ-135/165-130 ТМЗ. Технические условия на капитальный ремонт. Нормы и требованияДата актуализации: 10.08.2017
|
| Обозначение: | СТО 70238424.27.040.016-2009 |
| Обозначение англ: | STO 70238424.27.040.016-2009 |
| Статус: | проект |
| Название рус.: | Турбина паровая ПТ-135/165-130 ТМЗ. Технические условия на капитальный ремонт. Нормы и требования |
| Дата добавления в базу: | 01.10.2014 |
| Дата актуализации: | 05.05.2017 |
| Область применения: | Стандарт распространяется на капитальный ремонт турбин паровых ПТ-135/165-130/15 ТМЗ и предназначен для применения генерирующими компаниями, эксплуатирующими организациями на тепловых электростанциях, ремонтными и иными организациями, осуществляющими ремонтное обслуживание оборудования электростанций. |
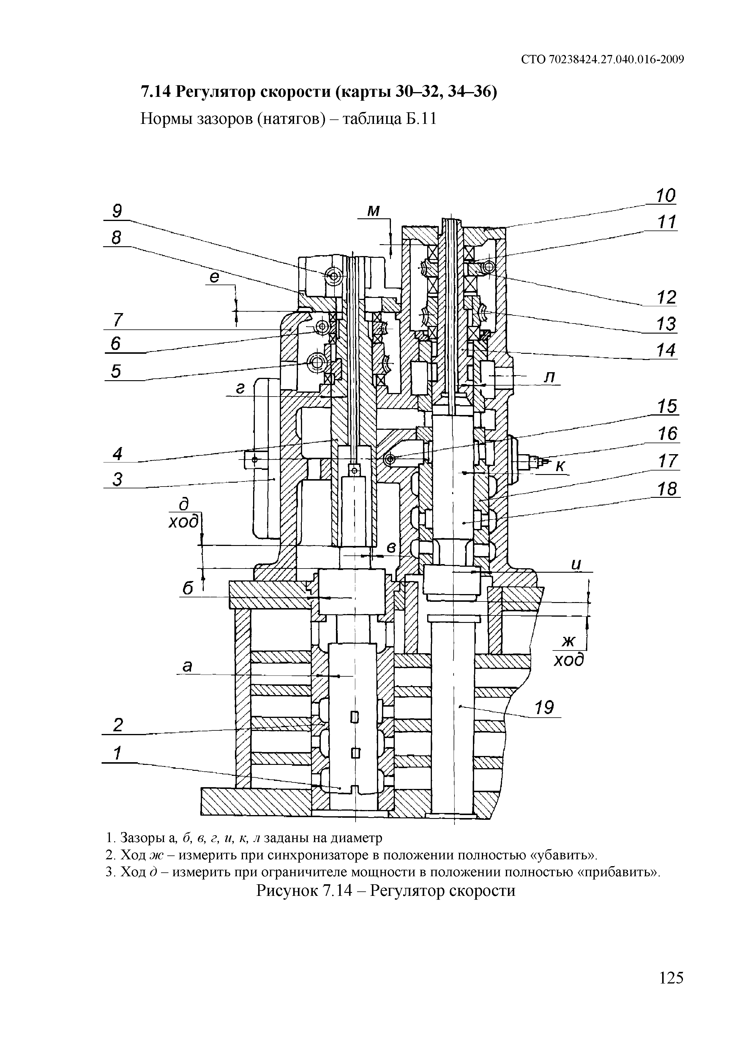
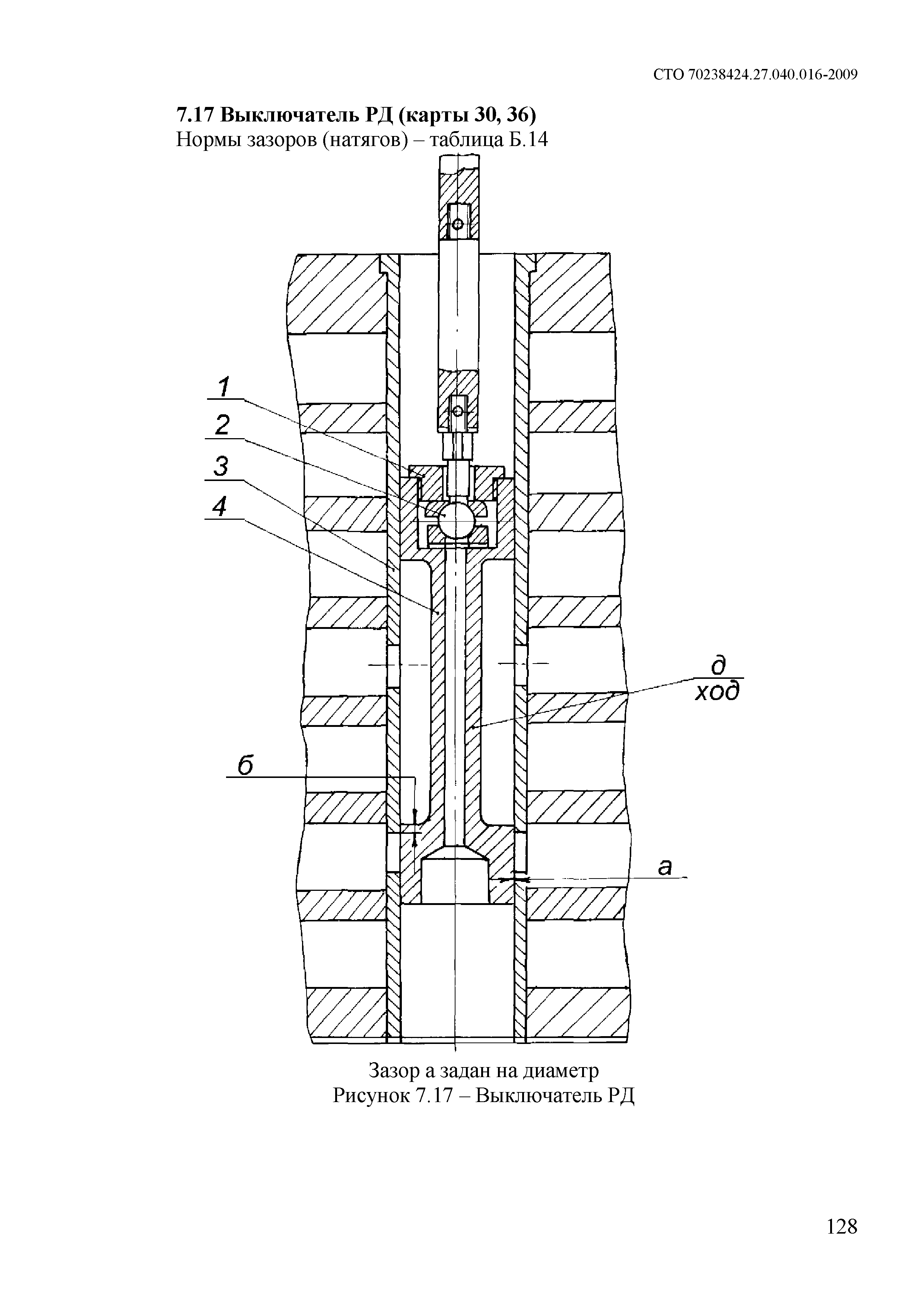
| Оглавление: | 1 Область применения 2 Нормативные ссылки 3 Термины, определения, обозначения и сокращения 4 Общие положения 5 Общие технические сведения 6 Общие технические требования 7 Требования к составным частям 7.1 Составные части цилиндра ВД (карты 1, 3 - 5, 7 - 9, 11, 12, 14) 7.2 Составные части цилиндра НД (карты 2, 4 - 8, 10, 14) 7.3 Роторы ВД, НД (карта 15) 7.4 Передний подшипник (карты 16, 17, 22, 24) 7.5 Средний подшипник (карты 16 - 24) 7.6 Подшипники 4 - 5 (карты 16, 17, 22, 24) 7.7 Валоповоротное устройство (карта 25) 7.8 Цилиндр ВД (карта 26) 7.9 Цилиндр НД (карта 26) 7.10 Насосная группа (карта 27) 7.11 Привод тахометра (карта28) 7.12 Блок золотников автомата безопасности (карты 29, 30 - 34) 7.13 Блок золотников автомата безопасности (карты 29, 30 - 34) 7.14 Регулятор скорости (карты 30 - 32, 34 - 36) 7.15 Регулятор давления ПО и нижнего ТО (карты 30 - 32, 34 - 36) 7.16 Переключатель (карты 30, 36) 7.17 Выключатель РД (карты 30, 36) 7.18 Блок регулирования (карты 30 - 32, 34 - 36) 7.19 Промежуточный золотник управления (карты 30 - 32, 34 - 36) 7.20 Автомат безопасности (карта 37) 7.21 Автозатвор стопорного клапана (карты 30, 32, 33, 38, 39) 7.22 Автозатвор защитного клапана (карты 30, 32, 33, 38, 39) 7.23 Сервомотор ЧВД (карты 30, 32, 33, 38, 39) 7.24 Сервомотор ЧСД (карты 30, 32, 33, 38, 39) 7.25 Сервомотор ПО с регулятором давления (карты 30, 32, 33, 38, 39) 7.26 Сервомотор ПО (карты 30, 32, 33, 38, 39) 7.27 Сервомотор ЧНД (карты 30, 32, 33, 38, 39) 7.28 Сервомотор ЧНД (карты 30, 32, 33, 38, 39) 7.29 Рычаги сервомоторов ПО, ЧНД и поворотных диафрагм 21, 23 ст (карта 40) 7.30 Кулачково-распределительное устройство ЧВД, ЧСД (карта 41) 7.31 Колонки и рычаги регулирующих клапанов ЧВД, ЧСД (карта 42) 7.32 Клапан стопорный (карты 43 - 47) 7.33 Клапан защитный (карты 43 - 47) 7.34 Клапаны регулирующие ЧВД (карты 43 - 45, 47) 7.35 Клапаны регулирующие ЧСД (карты 43 - 45, 47) 8 Требования к сборке и к отремонтированному изделию 9 Испытания и показатели качества отремонтированной турбины 10 Требования к обеспечению безопасности 11 Оценка соответствия Приложение А (обязательное). Допустимые замены материалов Приложение Б (обязательное). Нормы зазоров и натягов Приложение В (рекомендуемое). Перечень средств измерений, упомянутых в стандарте Приложение Г (обязательное). Замена бандажей без разлопачивания ступени турбины Приложение Д (обязательное). Обследование эрозионного износа рабочих лопаток 23 (26), 24 (27), 25 (28) ступеней турбин Т-175/210-130, Т-185/220-130-2, ПТ-135/165-130, ПТ-140/165-130-2 Приложение Е (обязательное). Контроль травлением металла лопаток из хромистых сталей паровых турбин Приложение Ж (обязательное). Герметизация и заполнение инертным газом центральных полостей роторов высокого и среднего давления турбин Приложение И (обязательное). Замер уклонов корпусов подшипников (кручение ригелей) Приложение К (обязательное). О первоочередных мерах по обеспечению надежной работы роторов среднего и низкого давления паровых турбин без промперегрева производства ЗАО "УТЗ" Приложение Л (обязательное). О мерах повышения надежности роторов НД турбин ПТ-135/165-130, ПТ-140/165-130-2 и ПТ-140/165-130-3 Библиография |
| Разработан: | ЗАО ЦКБ Энергоремонт |
| Утверждён: | НП ИНВЭЛ |
| Расположен в: | |
| Нормативные ссылки: |


























































































































































































































































































































































