| ||||||||||||||||||||||||||||
Скачать СТО 70238424.27.040.014-2009 Турбина паровая К-800-240-5 ЛМЗ. Технические условия на капитальный ремонт. Нормы и требованияДата актуализации: 10.08.2017
|
| Обозначение: | СТО 70238424.27.040.014-2009 |
| Обозначение англ: | STO 70238424.27.040.014-2009 |
| Статус: | проект |
| Название рус.: | Турбина паровая К-800-240-5 ЛМЗ. Технические условия на капитальный ремонт. Нормы и требования |
| Дата добавления в базу: | 01.10.2014 |
| Дата актуализации: | 05.05.2017 |
| Область применения: | Стандарт устанавливает технические требования к ремонту турбин паровых К-800-240-5 ЛМЗ и требования к качеству отремонтированных турбин. |
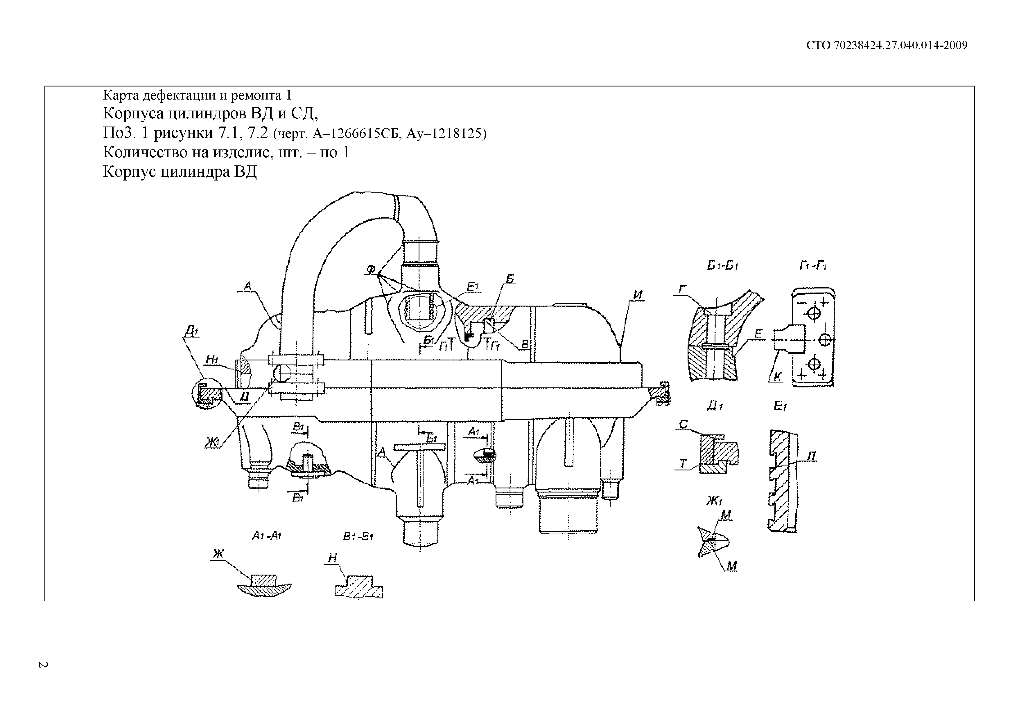
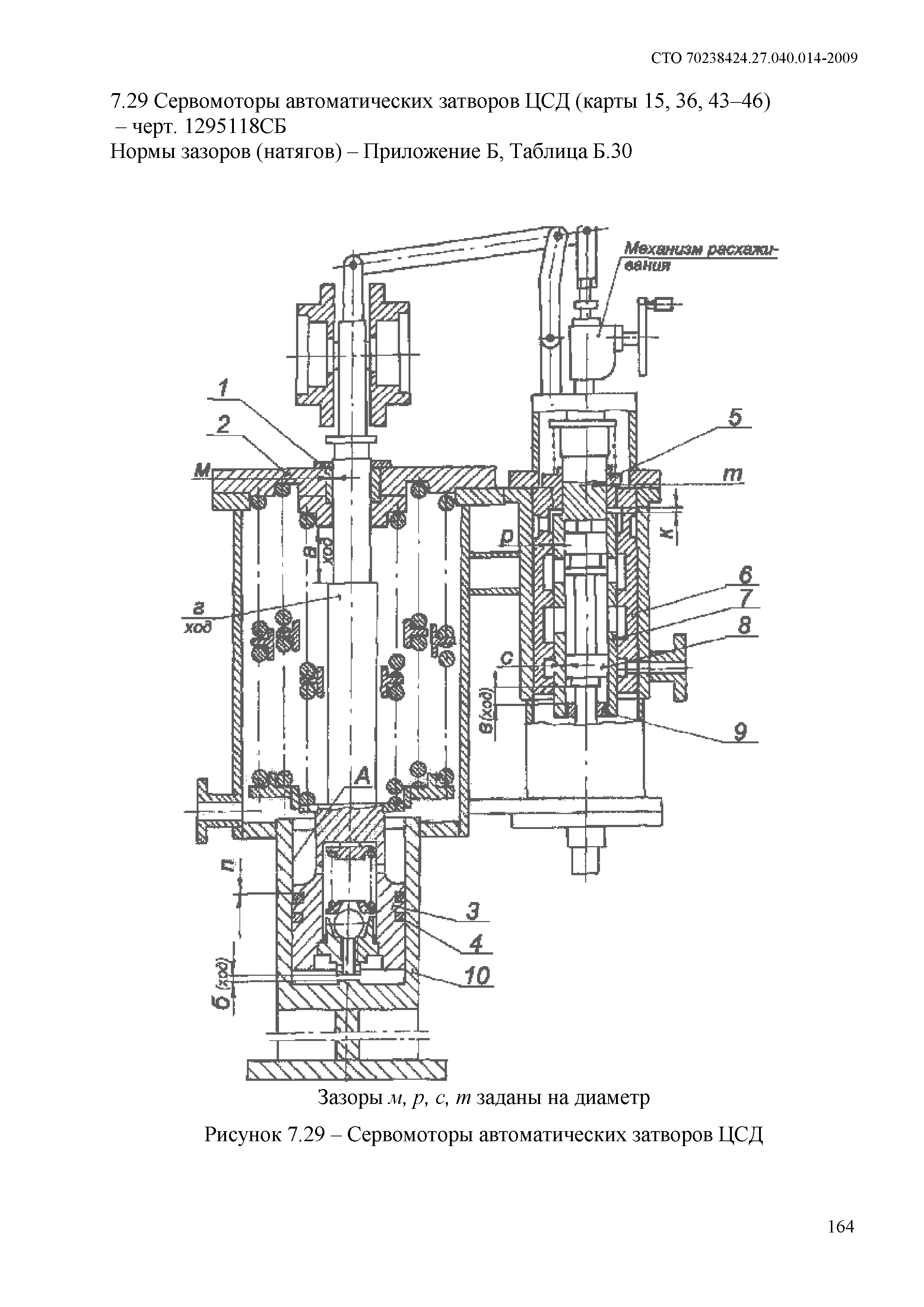
| Оглавление: | 1 Область применения 2 Нормативные ссылки 3 Термины, определения, обозначения и сокращения 4 Общие положения 5 Общие технические сведения 6 Общие технические требования 7 Требования к составным частям 7.1 Корпусные части цилиндра ВД (карты 1, 3, 5 - 7, 9 - 11, 13, 15, 30) 7.2 Корпусные части цилиндра СД (карты 1, 3, 5 - 7, 9 - 11, 13, 14, 15, 30) 7.3 Корпусные части цилиндра НД (карты 2,4,6,8 - 12, 14, 15, 30) 7.4 Роторы ВД, СД, НД-I, НД-II, НД-III (карта 17) 7.5 Передний подшипник (карты 15, 18, 19, 24, 25, 28) 7.6 Средний подшипник (карты 15, 18 - 25, 27, 28) 7.7 Опорные подшипники 4 - 10 (карты 15, 18, 19, 24 - 27, 28) 7.8 Валоповоротное устройство (тихоходное) - карта 29 7.9 Валоповоротное устройство (быстроходное) - карта 29 7.10 Цилиндр ВД (карта 30) 7.11 Цилиндр СД (карта 30) 7.12 Цилиндр НД-I (II, III) (карта 30) 7.13 Регулятор скорости РС-3000-6 Карта 31 7.14 Привод регулятора скорости (карта 32) 7.16 Блок золотников регулятора скорости (карты 34 - 38) 7.17 Промежуточный золотник (карты 15, 34, 36, 38) 7.18 Золотники электрогидравлического преобразователя (карты 15, 34, 38) 7.19 Золотники регуляторов безопасности (карты 15, 34, 38) 7.20 Золотник предварительной защиты (карты 34, 35, 39) 7.21 Золотник ЭМВ регулирующих клапанов ЦСД (карты 15, 34, 38) 7.22 Электромагнитные выключатели (карта 39) 7.23 Регулятор безопасности (карты 40, 41) 7.24 Рычаги регулятора безопасности (карта 42) 7.25 Указатели бойков регулятора безопасности (карта 42) 7.26 Сервомоторы автоматических затворов ЦВД (карты 15, 36, 43 - 46) 7.27 Сервомоторы автоматических затворов ЦВД (карты 15, 36, 43 - 46) 7.28 Сервомоторы регулирующих клапанов ЦВД 1 - 4 (карты 15, 36, 43 - 46) 7.29 Сервомоторы автоматических затворов ЦСД (карты 15, 36, 43 - 46) 7.30 Сервомоторы регулирующих клапанов ЦСД (карты 15, 36, 43 - 46) 7.31 Сервомоторы сбросных клапанов (карты 15, 36, 43 - 46) 7.32 Сервомоторы клапанов КОСМ 600-1 (карты 15, 36, 43 - 46) 7.33 Колонки верхних клапанов ЦСД (карты 36, 37) 7.34 Клапаны стопорные ЦВД (карты 15, 36, 45, 47 - 50) 7.35 Клапаны стопорные ЦВД (карты 15, 36, 45, 47 - 50) 7.36 Клапаны регулирующие ЦВД (карты 15, 47 - 50) 7.37 Клапаны регулирующие ЦВД (карты 15, 47 - 50) 7.38 Клапаны стопорные ЦСД (карты 15, 47 - 50) 7.39 Клапаны регулирующие ЦСД верхние (карты 15, 47 - 50) 7.40 Клапаны регулирующие ЦСД боковые (карты 15, 47 - 50) 7.41 Клапаны сбросные (карты 15, 47 - 50) 7.42 Клапаны стопорные КОСМ-600-1 (карты 15, 47 - 50) 8 Требования к сборке и к отремонтированному изделию 9 Испытания и показатели качества отремонтированной турбины 10 Требования к обеспечению безопасности 11 Оценка соответствия Приложение А (обязательное). Таблица по замене материалов Приложение Б (обязательное). Нормы зазоров и натягов Приложение В (рекомендуемое). Перечень средств измерений, упомянутых в стандарте Приложение Г (обязательное). Замена бандажей без разлопачивания ступени турбины Приложение Д (обязательное). "О допустимости увеличения отверстий под болты в соединительных муфтах турбоагрегатов при ремонтах валопроводов" Приложение Е (обязательное). Контроль травлением металла лопаток из хромистых сталей паровых турбин Приложение Ж (обязательное). Осмотр, ремонт и контроль выходных кромок рабочих лопаток последних ступеней ЦНД турбин: К-300-240, К-500-240 и К-800-240 Приложение И (обязательное). Ремонт и замена регулятора скорости на электростанциях Приложение К (обязательное). Устранение ослабления посадки седел стопорных и регулирующих клапанов п/турбин высокого давления Библиография |
| Разработан: | ЗАО ЦКБ Энергоремонт |
| Утверждён: | НП ИНВЭЛ |
| Расположен в: | |
| Нормативные ссылки: |


































































































































































































































































































































































