Информационная система
«Ёшкин Кот»

Скачать базу одним архивом
Скачать обновления
История создания базы
Карта сайта

Скачать ОСТ 24.191.04 Крюки однорогие. Типы и размеры

Дата актуализации: 10.08.2017

ОСТ 24.191.04

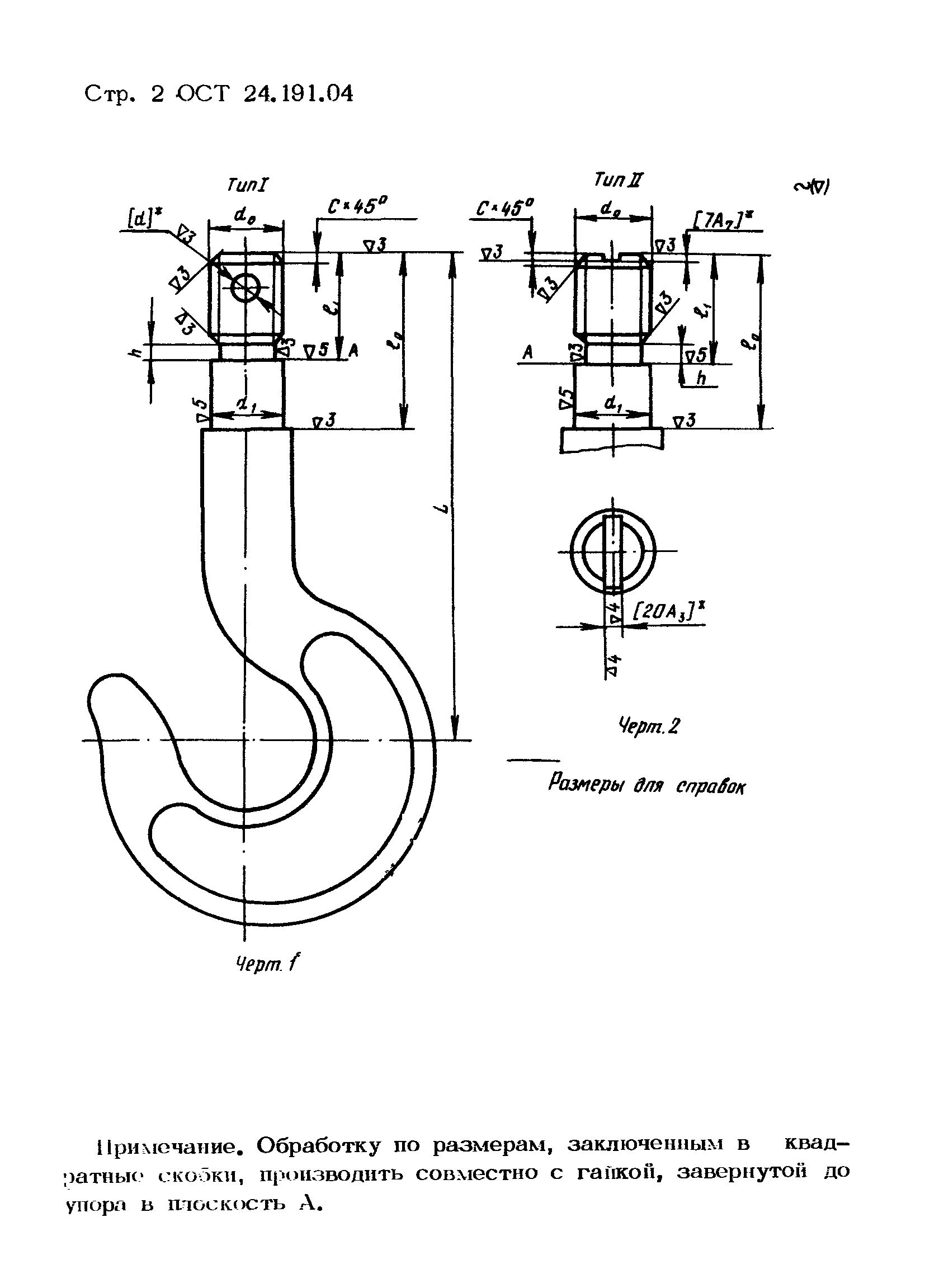
Крюки однорогие. Типы и размеры

Обозначение: ОСТ 24.191.04
Обозначение англ: OST 24.191.04
Статус:не определен законодательством
Название рус.:Крюки однорогие. Типы и размеры
Дата добавления в базу:01.09.2013
Дата актуализации:05.05.2017
Дата введения:01.01.1974
Область применения:Стандарт распространяется на механически обработанные однорогие крюки типа Б по ГОСТ 6627-66 и ГОСТ 12840-67, применяемые в подвесных мостовых электрических кранов грузоподъемностью 5 - 50 тс.
Разработан: ВНИИПТМАШ
Утверждён:28.01.1971 Министерство тяжелого, энергетического и транспортного машиностроения СССР (1-002-38/1265)
Расположен в:Техническая документация Строительство Стандарты Отраслевые стандарты и технические условия Отраслевые стандарты
Нормативные ссылки:
ОСТ 24.191.04ОСТ 24.191.04ОСТ 24.191.04ОСТ 24.191.04ОСТ 24.191.04ОСТ 24.191.04ОСТ 24.191.04

© 2013 Ёшкин Кот :-) Карта сайта