Скачать СТО 42481025 006-2007 Термопрофили стальные гнутые для строительных конструкций. Технические условияДата актуализации: 10.08.2017 СТО 42481025 006-2007
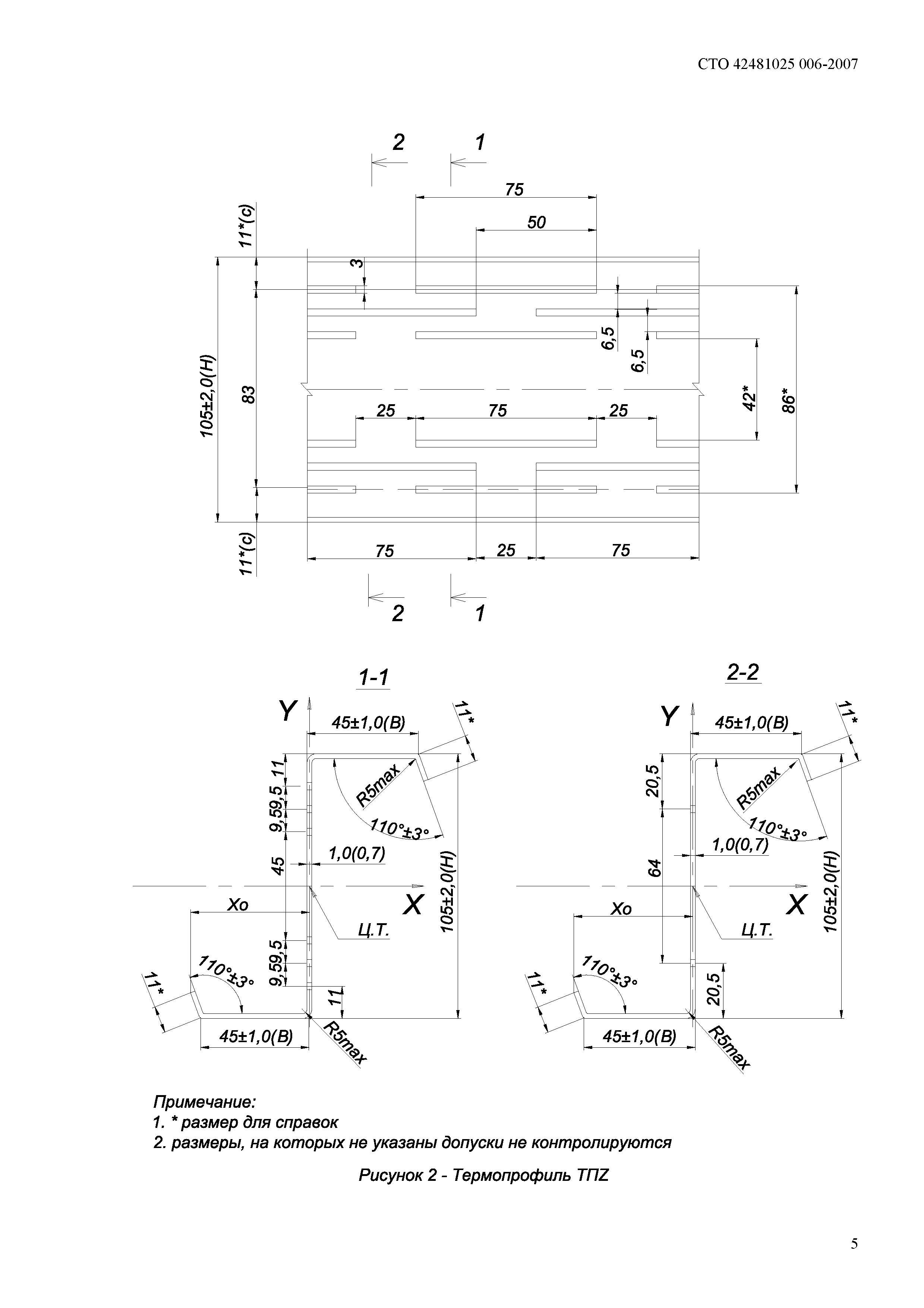
Термопрофили стальные гнутые для строительных конструкций. Технические условияОбозначение: | СТО 42481025 006-2007 | Обозначение англ: | STO 42481025 006-2007 | Статус: | действует | Название рус.: | Термопрофили стальные гнутые для строительных конструкций. Технические условия | Дата добавления в базу: | 01.09.2013 | Дата актуализации: | 05.05.2017 | Дата введения: | 18.01.2007 | Область применения: | Стандарт организации распространяется на термопрофили стальные гнутые с перфорированной стенкой из тонколистового холоднокатаного оцинкованного проката, изготавливаемые на профилегибочных станах. Терморофили предназначены для применения в строительстве. | Оглавление: | 1. Область применения 2. Нормативные ссылки 3. Определения 4. Типы, основные параметры и размеры 5. Технические требования 5.2 Требования к исходным материалам 5.3 Требования к защитным покрытиям и внешнему виду 5.4 Требования к геометрической точности 5.5 Комплектность 5.6 Маркировка 5.7 Упаковка 6. Правила приемки 7. Методы контроля 8. Транспортирование и хранение 9. Требования безопасности 10. Указания по применению Приложение А (обязательное). Условные обозначения | Разработан: | ЗАО ИНСИ
| Утверждён: | 18.01.2007 ЗАО ИНСИ
| Расположен в: |
| Заменяет собой: | | Нормативные ссылки: | |
               
|