Скачать РД 51-00158623-06-95 Применение аварийных источников электроэнергии на КС МГ, УКПГ и других объектах газовой промышленностиДата актуализации: 10.08.2017 РД 51-00158623-06-95
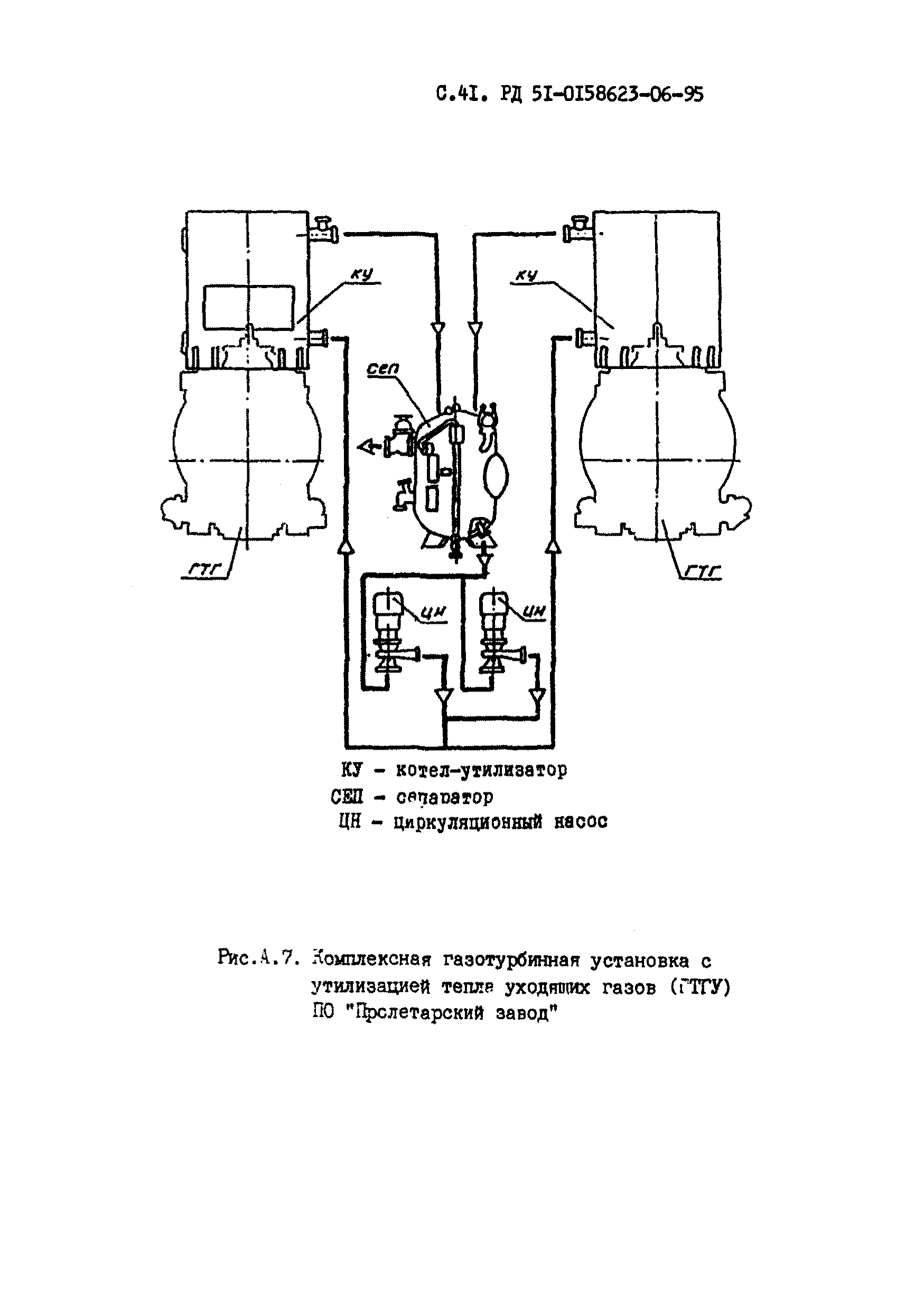
Применение аварийных источников электроэнергии на КС МГ, УКПГ и других объектах газовой промышленностиОбозначение: | РД 51-00158623-06-95 | Обозначение англ: | RD 51-00158623-06-95 | Статус: | заменен | Название рус.: | Применение аварийных источников электроэнергии на КС МГ, УКПГ и других объектах газовой промышленности | Дата добавления в базу: | 01.09.2013 | Дата актуализации: | 05.05.2017 | Область применения: | Руководящий документ регламентирует применение на предприятиях газовой промышленности аварийных источников электроснабжения с дизельным приводом. РД устанавливает требования к пусковым качествам, уровню автоматизации и ряду других технических характеристик электроагрегатов, предназначенных для использования в качестве аварийных источников электроэнергии на компрессорных станциях (КС) магистральных газопроводов и других промышленных объектах газовой промышленности. | Оглавление: | 1. Режим работы аварийных электростанций и возможные последствия при авариях в системах электроснабжения 2. Общие технические требования к аварийным электростанциям 3. Схема включения аварийной электростанции, системы пуска, автоматического регулирования и управления аварийными электростанциями 4.Требования безопасности 5. Условия эксплуатации аварийных электростанций. Показатели надежности Приложение А (справочное). Перспективный типаж аварийных источников электроснабжения, рекомендуемых для применения на предприятиях РАО "Газпром" Рис. А.1 Электростанция ЭД-200С Рис. А.2. Электростанция с газовым двигателем мощностью 500 кВт Рис. А.3. Электростанция мощностью 630 кВт Рис. А.4. Электростанция ЭД-10000. Дизель-генераторный блок Рис. А.5. Электростанция ЭД-10000. Блок управления Рис. А.6. Газотурбогенераторы мощностью 600, 1250 и 1500 кВт ПО "Пролетарский завод" Рис. А.7. Комплексная газотурбинная установка с утилизацией тепла уходящих газов (ГТГУ) ПО "Пролетарский завод" Нормативные ссылки | Разработан: | ВНИИгаз (VNIIgaz ) УГЭ РАО Газпром
| Утверждён: | РАО Газпром (Gazprom RAO )
| Расположен в: |
| Заменяет собой: | - РД 51-123-87 «Применение на предприятиях газовой промышленности аварийных источников электроснабжения с дизельным приводом»
| Чем заменён: | - СТО Газпром 2-6.2-300-2009 «Применение аварийных источников электроснабжения на объектах ОАО «Газпром»»
| Нормативные ссылки: | |
                                          
|