Скачать Типовой проект 902-2-179 Альбом VII. Строительные чертежи. Детали Н = 5,0 мДата актуализации: 10.08.2017 Типовой проект 902-2-179
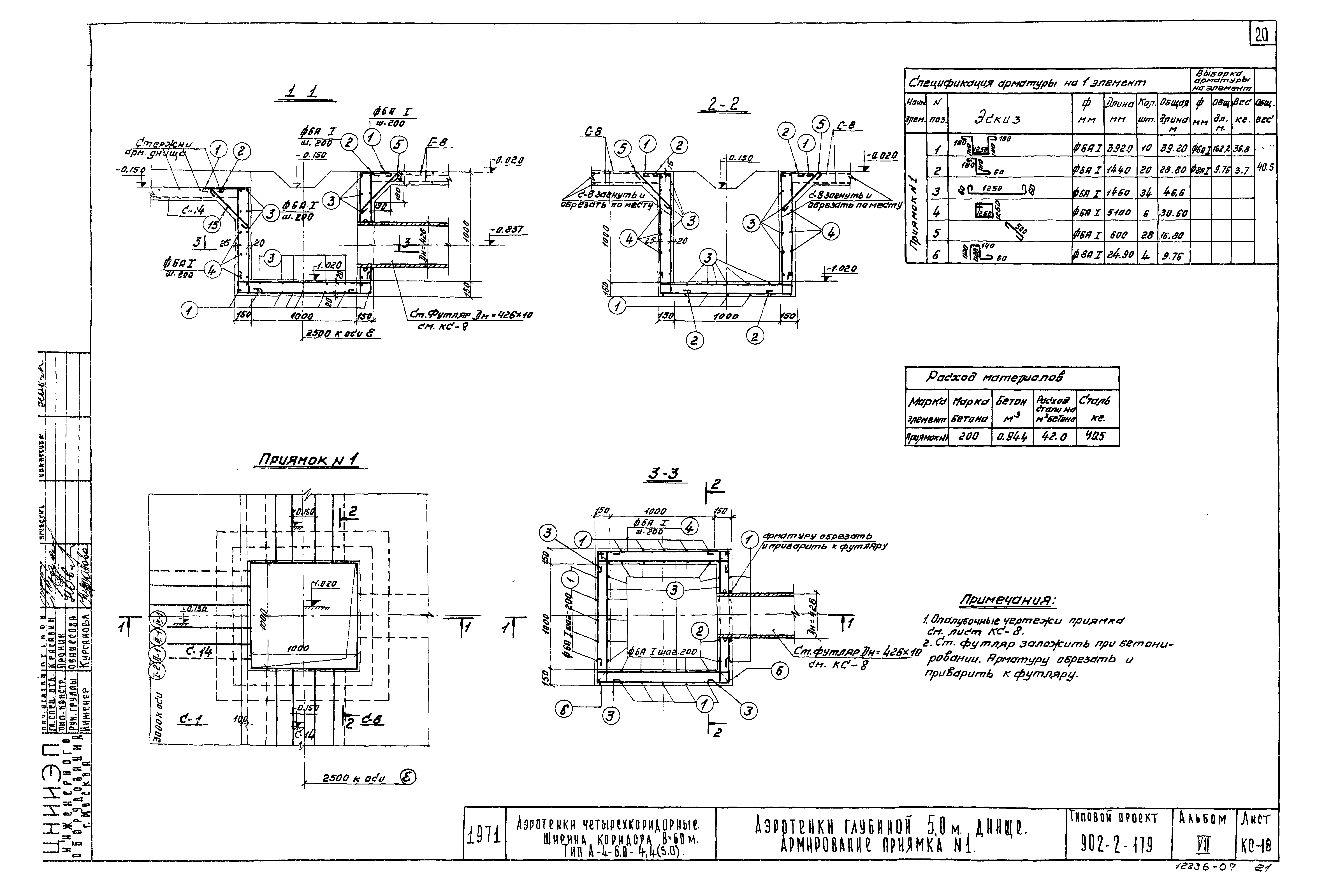
Альбом VII. Строительные чертежи. Детали Н = 5,0 мОбозначение: | Типовой проект 902-2-179 | Обозначение англ: | 902-2-179 | Статус: | не действует | Название рус.: | Альбом VII. Строительные чертежи. Детали Н = 5,0 м | Дата добавления в базу: | 01.09.2013 | Дата актуализации: | 05.05.2017 | Дата введения: | 01.10.1983 | Оглавление: | КС-1 Стыки панелей, перегородок, балок КС-2 Стыки сборных элементов. Тумбы для заделки патрубков воздушных и водовыбросных стояков. Детали стыка фильтросных блоков. Армирование КС-3 Детали. Щитовые затворы в верхнем и нижнем каналах. План ПМ-2 по А-А. Разрезы 1-1,2-2,3-3,4-4 КС-4 Детали. Средний канал. Щитовой затвор. Планы ПМ-4 по А-А. Разрезы 1-1,2-2,3-3,4-4 КС-5 Детали. Температурно-усадочные швы в стенах и днище. Опалубочный чертеж КС-6 Детали. Температурно-усадочные швы в днище. Пересечения швов КС-7 Детали. Температурно-усадочные швы. Армирование и спецификация арматуры КС-8 Днище. Опалубочный чертеж днища. Элементы плана № 1 и № 2 КС-9 Днище. Набетонка по днищу. План КС-10 Днище. Набетонка по днищу. Разрезы 1-1-5-5 КС-11 Днище. Узлы 1-9 разрезов опалубочного чертежа днища КС-12 Днище. Армирование узлов 1,2,3,4,5,А,Б,В КС-13 Днище. Армирование узлов 6,7,8,9,Г,Д,Е КС-14 Армирование днища. Каркасы К-54-1;К-54-2. Сетки С-54-12;С-54-13;С-54-14;С-54-16;С-54-25,С-54-27 КС-15 Армирование днища. Сетки С-54-17;С-54-18;С-54-19;С-54-22;С-54-23;С-54-24 КС-16 Днище. Армирование монолитных узлов 10,11,12,13,14,15,16,17,18,19 КС-17 Днище. Армирование монолитных узлов. Узел 20. Сечения 1-1;2-2;3-3;4-4;5-5;6-6;7-7;8-8 КС-18 Днище. Армирование приямка № 1 КС-19 Днище. Армирование приямков № 2 КС-20 Армирование монолитных участков стен. Планы СМ-54-1,2,3 КС-21 Армирование монолитных участков стен. Планы СМ-54-4,СМ-54-5 КС-22 Армирование монолитных участков стен СМ-54-7,8,9,11,12,13 КС-23 Армирование монолитных участков стен СМ-54-6,СМ-54-10,СМ-54-15. Узел "Г" КС-24 Армирование монолитных участков стен. План СМ-54-14 КС-25 Армирование монолитных участков стен. План СМ-54-16 КС-26 Армирование монолитных участков стен. Разрезы 1-1-13-13. Узел "А" КС-27 Армирование монолитных участков стен. Разрезы 14-14-26-26. Узлы "Б" и "В" КС-28 Армирование монолитных участков стен. Спецификация КС-29 Армирование монолитных участков стен. Спецификация КС-30 Армирование монолитных участков стен. Спецификация КС-31 Армирование монолитных участков стен. Спецификация КС-32 Армирование монолитных участков стен. Спецификация КС-33 Армирование монолитных участков стен. Спецификация. Выборки КС-34 Монолитные железобетонные площадки ПМ-1,ПМ-3,ПМ-5. Общие виды КС-35 Монолитные площадки ПМ-1,ПМ-2,ПМ-3,ПМ-5,ПМ-4. Опалубка и армирование КС-36 Монтажная схема балок по верхнему и нижнему каналам. Опалубка и армирование балки БМ-1,БМ-1а КС-37 Монолитные площадки сетки С-1-С-7. Спецификация и выборка арматуры КС-38 Металлические площадки МП-1,МП-2,МП-3. Спецификация металла КС-39 Металлические площадки МП-4,МП-5 КС-40 Металлическая площадка МП-6. Монтажная площадка | Разработан: | ЦНИИЭП инженерного оборудования
| Утверждён: | 27.10.1972 Госгражданстрой (Gosgrazhdanstroy 205)
| Расположен в: |
| Заменяет собой: | |
                                         
|