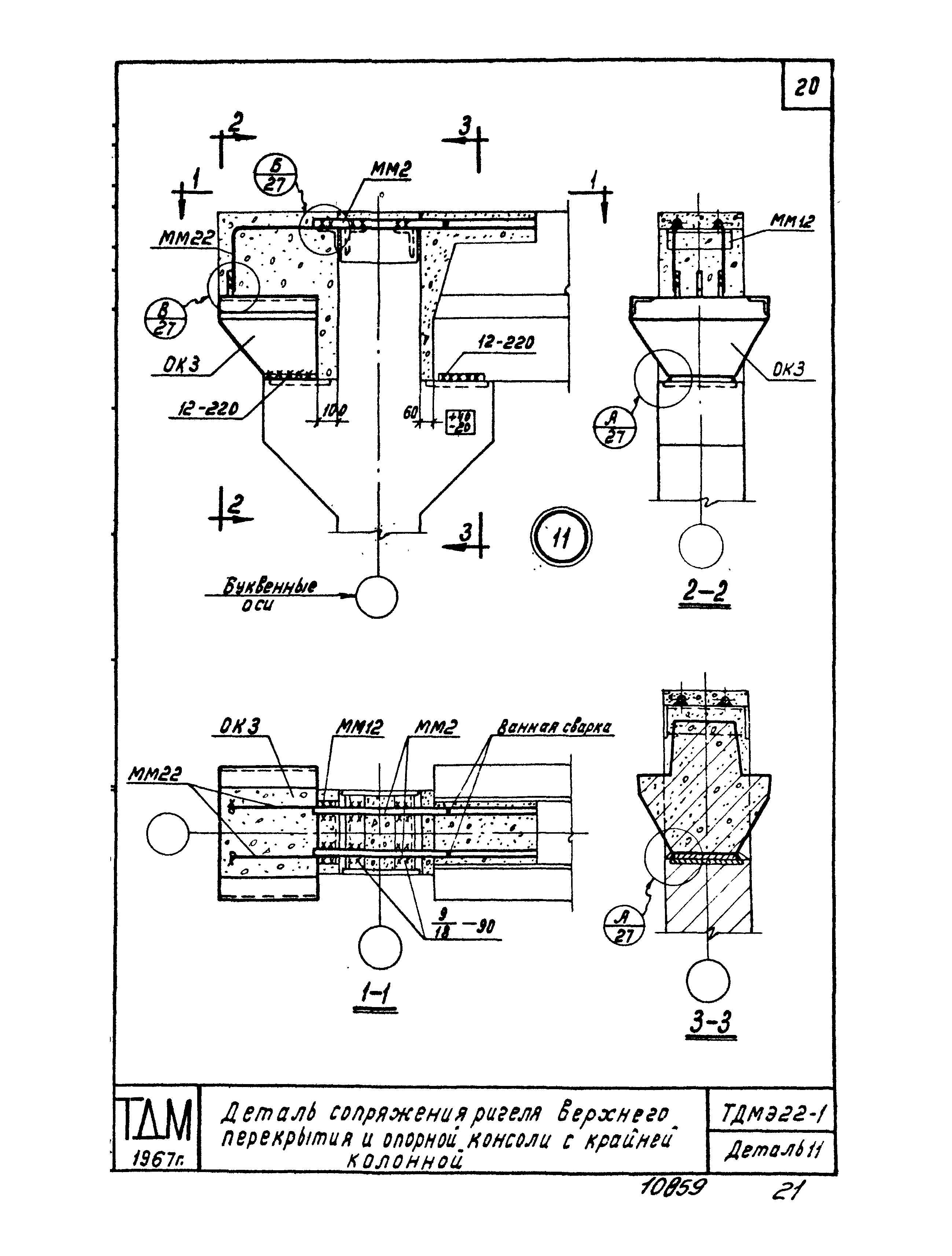
Скачать Серия ТДМЭ22-1 Детали сопряжений конструктивных элементов несущего каркаса для этажерок с перекрытиями типа 1 из плит, опирающихся на полки ригелейДата актуализации: 10.08.2017 Серия ТДМЭ22-1
Детали сопряжений конструктивных элементов несущего каркаса для этажерок с перекрытиями типа 1 из плит, опирающихся на полки ригелейОбозначение: | Серия ТДМЭ22-1 | Обозначение англ: | Series ТДМЭ22-1 | Статус: | не действует | Название рус.: | Детали сопряжений конструктивных элементов несущего каркаса для этажерок с перекрытиями типа 1 из плит, опирающихся на полки ригелей | Дата добавления в базу: | 01.09.2013 | Дата актуализации: | 05.05.2017 | Дата введения: | 01.05.1999 | Разработан: | ЦНИИпромзданий НИИЖБ
| Утверждён: | 11.12.1968 Госстрой СССР (Государственный комитет Совета Министров СССР по делам строительства) (USSR Gosstroy 107)
| Расположен в: |
|
                                       
|