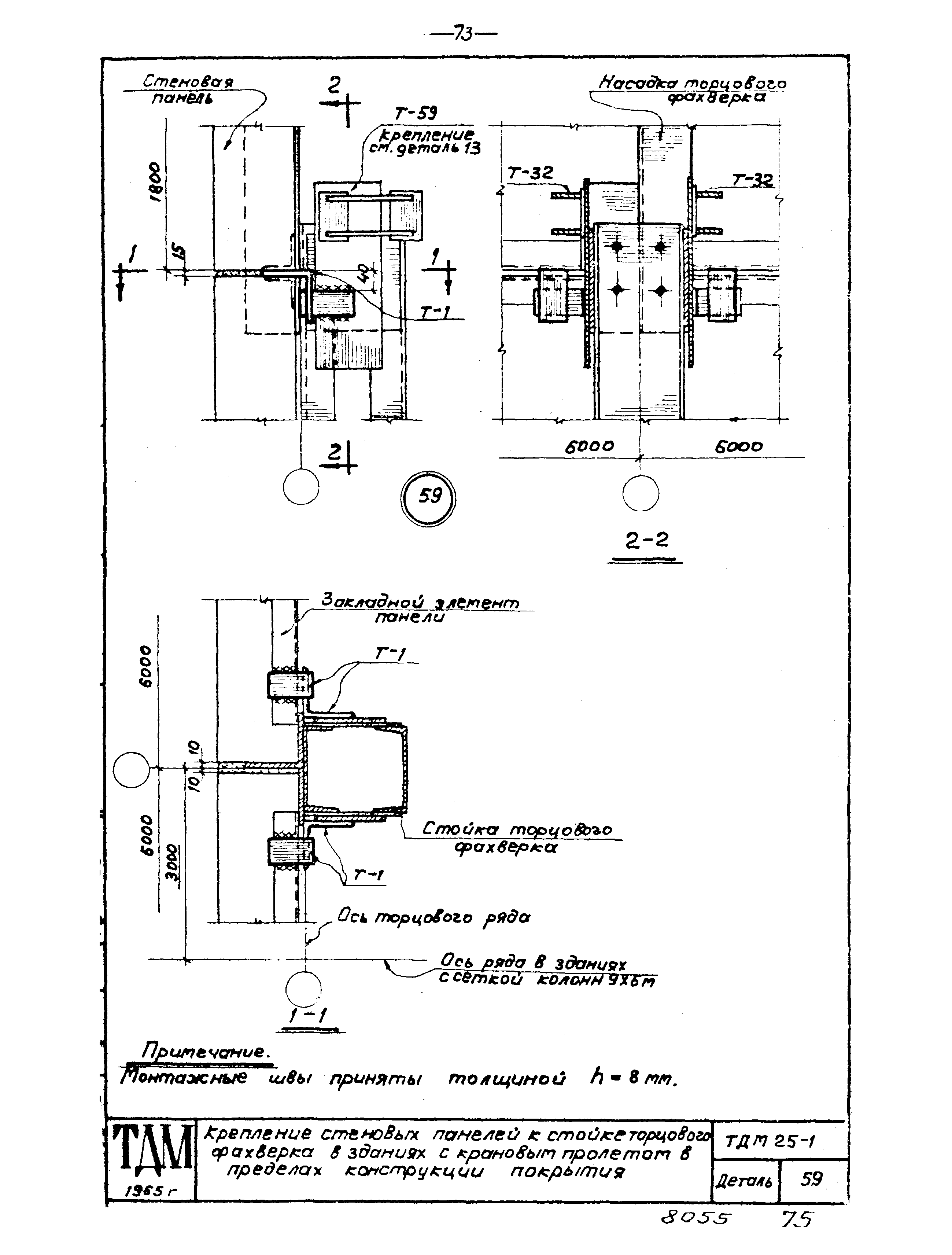
Скачать Серия ТДМ25-1 Детали сопряжений панелей стен с несущим каркасомДата актуализации: 10.08.2017 Серия ТДМ25-1
Детали сопряжений панелей стен с несущим каркасомОбозначение: | Серия ТДМ25-1 | Обозначение англ: | Series ТДМ25-1 | Статус: | действует | Название рус.: | Детали сопряжений панелей стен с несущим каркасом | Дата добавления в базу: | 01.09.2013 | Дата актуализации: | 05.05.2017 | Разработан: | ЦНИИпромзданий
| Утверждён: | 27.07.1965 Госстрой СССР (Государственный комитет Совета Министров СССР по делам строительства) (USSR Gosstroy 123)
| Расположен в: |
|
                                                                                 
|