Информационная система
«Ёшкин Кот»

Скачать базу одним архивом
Скачать обновления
История создания базы
Карта сайта

Скачать НД 2-02101-046 Правила классификации и постройки химовозов

Дата актуализации: 10.08.2017

НД 2-02101-046

Правила классификации и постройки химовозов

Обозначение: НД 2-02101-046
Обозначение англ: ND 2-02101-046
Статус:заменен
Название рус.:Правила классификации и постройки химовозов
Дата добавления в базу:01.09.2013
Дата актуализации:05.05.2017
Дата введения:01.07.2014
Область применения:Требования правил являются специфичными для судов, перевозящих опасных химические грузы наливом, и дополняют правила классификации и постройки морских судов и Правила по оборудованию морских судов Российского морского регистра судоходства.
Оглавление:Часть I. Классификация
Часть II. Конструкция химовоза
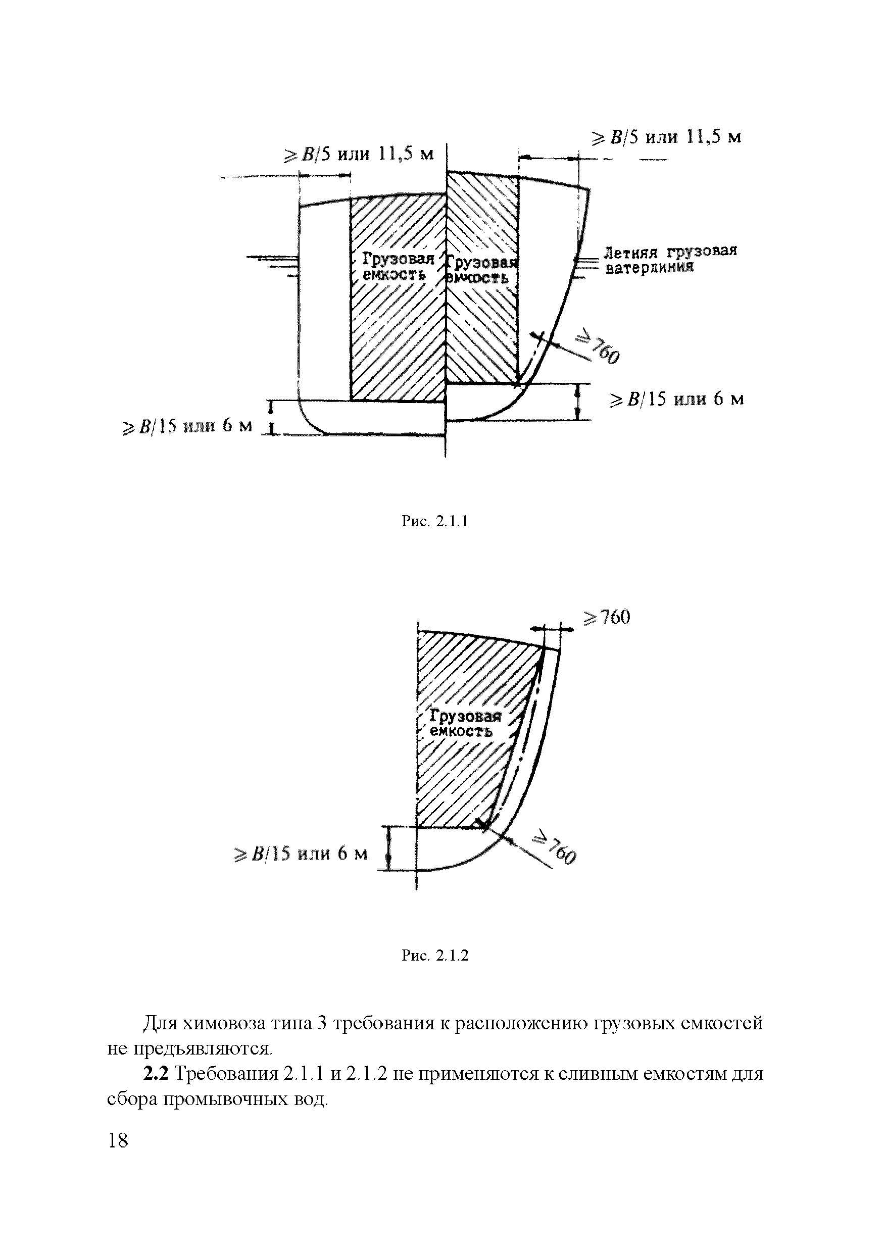
Часть III. Грузовые емкости
Часть IV. Остойчивость, деление на отсеки и надводный борт
Часть V. Противопожарная защита
Часть VI. Системы и трубопроводы
Часть VII. Электрическое оборудование
Часть VIII. Измерительные устройства
Часть IX. Конструкционные материалы
Разработан: Российский морской регистр судоходства
Утверждён:27.12.2006 Российский морской регистр судоходства
Расположен в:Техническая документация Экология СУДОСТРОЕНИЕ И МОРСКИЕ СООРУЖЕНИЯ Суда внутренней навигации
Заменяет собой:
  • «Правила классификации и постройки химовозов» (1998 г.)
Чем заменён:
НД 2-02101-046НД 2-02101-046НД 2-02101-046НД 2-02101-046НД 2-02101-046НД 2-02101-046НД 2-02101-046НД 2-02101-046НД 2-02101-046НД 2-02101-046НД 2-02101-046НД 2-02101-046НД 2-02101-046НД 2-02101-046НД 2-02101-046НД 2-02101-046НД 2-02101-046НД 2-02101-046НД 2-02101-046НД 2-02101-046НД 2-02101-046НД 2-02101-046НД 2-02101-046НД 2-02101-046НД 2-02101-046НД 2-02101-046НД 2-02101-046НД 2-02101-046НД 2-02101-046НД 2-02101-046НД 2-02101-046НД 2-02101-046НД 2-02101-046НД 2-02101-046НД 2-02101-046НД 2-02101-046НД 2-02101-046НД 2-02101-046НД 2-02101-046НД 2-02101-046НД 2-02101-046НД 2-02101-046НД 2-02101-046НД 2-02101-046НД 2-02101-046НД 2-02101-046НД 2-02101-046НД 2-02101-046НД 2-02101-046НД 2-02101-046НД 2-02101-046НД 2-02101-046НД 2-02101-046НД 2-02101-046НД 2-02101-046НД 2-02101-046НД 2-02101-046НД 2-02101-046НД 2-02101-046НД 2-02101-046НД 2-02101-046НД 2-02101-046НД 2-02101-046НД 2-02101-046НД 2-02101-046НД 2-02101-046НД 2-02101-046НД 2-02101-046НД 2-02101-046НД 2-02101-046НД 2-02101-046НД 2-02101-046НД 2-02101-046НД 2-02101-046НД 2-02101-046НД 2-02101-046НД 2-02101-046НД 2-02101-046НД 2-02101-046НД 2-02101-046НД 2-02101-046НД 2-02101-046НД 2-02101-046НД 2-02101-046НД 2-02101-046НД 2-02101-046НД 2-02101-046НД 2-02101-046НД 2-02101-046НД 2-02101-046НД 2-02101-046НД 2-02101-046НД 2-02101-046НД 2-02101-046НД 2-02101-046НД 2-02101-046НД 2-02101-046НД 2-02101-046НД 2-02101-046НД 2-02101-046НД 2-02101-046НД 2-02101-046НД 2-02101-046НД 2-02101-046НД 2-02101-046НД 2-02101-046НД 2-02101-046НД 2-02101-046НД 2-02101-046НД 2-02101-046НД 2-02101-046НД 2-02101-046НД 2-02101-046НД 2-02101-046НД 2-02101-046НД 2-02101-046НД 2-02101-046НД 2-02101-046НД 2-02101-046НД 2-02101-046НД 2-02101-046НД 2-02101-046НД 2-02101-046НД 2-02101-046НД 2-02101-046НД 2-02101-046НД 2-02101-046НД 2-02101-046НД 2-02101-046НД 2-02101-046НД 2-02101-046НД 2-02101-046НД 2-02101-046НД 2-02101-046НД 2-02101-046НД 2-02101-046НД 2-02101-046НД 2-02101-046НД 2-02101-046НД 2-02101-046НД 2-02101-046НД 2-02101-046НД 2-02101-046НД 2-02101-046НД 2-02101-046НД 2-02101-046НД 2-02101-046НД 2-02101-046НД 2-02101-046НД 2-02101-046НД 2-02101-046НД 2-02101-046НД 2-02101-046НД 2-02101-046НД 2-02101-046НД 2-02101-046НД 2-02101-046НД 2-02101-046НД 2-02101-046НД 2-02101-046НД 2-02101-046НД 2-02101-046НД 2-02101-046НД 2-02101-046НД 2-02101-046НД 2-02101-046НД 2-02101-046НД 2-02101-046НД 2-02101-046НД 2-02101-046НД 2-02101-046НД 2-02101-046НД 2-02101-046НД 2-02101-046НД 2-02101-046НД 2-02101-046НД 2-02101-046НД 2-02101-046НД 2-02101-046НД 2-02101-046НД 2-02101-046НД 2-02101-046НД 2-02101-046НД 2-02101-046НД 2-02101-046НД 2-02101-046НД 2-02101-046НД 2-02101-046НД 2-02101-046НД 2-02101-046НД 2-02101-046НД 2-02101-046НД 2-02101-046НД 2-02101-046НД 2-02101-046НД 2-02101-046НД 2-02101-046НД 2-02101-046НД 2-02101-046НД 2-02101-046НД 2-02101-046НД 2-02101-046НД 2-02101-046НД 2-02101-046НД 2-02101-046НД 2-02101-046НД 2-02101-046НД 2-02101-046НД 2-02101-046НД 2-02101-046НД 2-02101-046НД 2-02101-046НД 2-02101-046НД 2-02101-046НД 2-02101-046НД 2-02101-046НД 2-02101-046НД 2-02101-046НД 2-02101-046НД 2-02101-046НД 2-02101-046НД 2-02101-046НД 2-02101-046НД 2-02101-046НД 2-02101-046НД 2-02101-046НД 2-02101-046НД 2-02101-046НД 2-02101-046НД 2-02101-046НД 2-02101-046НД 2-02101-046НД 2-02101-046НД 2-02101-046

© 2013 Ёшкин Кот :-) Карта сайта