Информационная система
«Ёшкин Кот»

Скачать базу одним архивом
Скачать обновления
История создания базы
Карта сайта

Скачать Методические указания 2И0940 Методические указания по проведению обследований и испытаний напорных металлических трубопроводов

Дата актуализации: 10.08.2017

Методические указания 2И0940

Методические указания по проведению обследований и испытаний напорных металлических трубопроводов

Обозначение: Методические указания 2И0940
Обозначение англ: Procedural Guidelines 2И0940
Статус:действует
Название рус.:Методические указания по проведению обследований и испытаний напорных металлических трубопроводов
Дата добавления в базу:01.09.2013
Дата актуализации:05.05.2017
Область применения:Документ содержит основные положения, состав и порядок проведения работ при обследованиях и испытаниях свободнолежащих незаделанных напорных трубопроводов, а также критерии оценки их технического состояния.
Оглавление:1. Общие положения
2. Визуальные обследования
   2.1 Общие требования
   2.2 Ознакомление с технической документацией
   2.3 Осмотр конструкций трубопровода
   2.4 Оформление результатов
3. Инструментальные обследования
   3.1 Цели, состав и порядок проведения
   3.2 Измерение толщин
   3.3 Оценка состояния и эффективности противокоррозионной защиты
   3.4 Проверка качества сварных швов
   3.5 Проверка состояния заклепок
   3.6 Проверка качества металла
   3.7 Исследование химического состава и агрессивности воды
   3.8 Контроль геометрических размеров
   3.9 Контроль высотного и планового положения трубопровода
   3.10 Обследование промежуточных опор
   3.11 Расчеты по результатам инструментальных обследований
4. Виды, состав и цели натурных испытаний
5. Опрессовка трубопровода
6. Статические испытания
   6.1 Состав и порядок проведения работ при статических испытаниях
   6.2 Предварительные расчеты
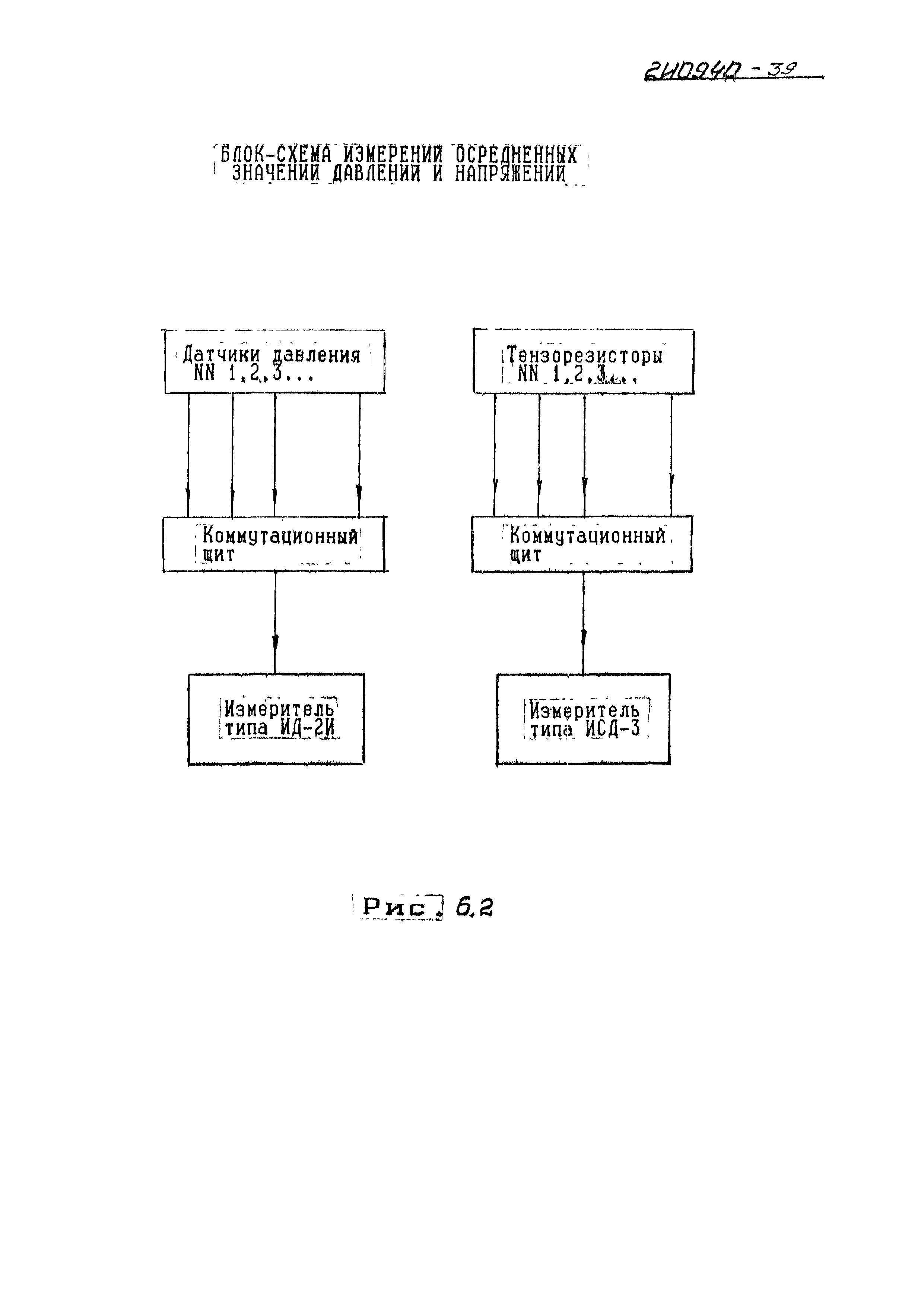
   6.3 Состав комплекта контрольно-измерительной аппаратуры
   6.4 Обработка результатов и поверочные расчеты
7. Динамические испытания
   7.1 Состав и порядок работ при проведении динамических испытаний
   7.2 Предварительные расчеты
   7.3 Состав комплекта контрольно-измерительной аппаратуры при динамических испытаниях
   7.4 Режимы испытаний
   7.5 Анализ результатов испытаний
   7.6 Расчеты усталостной прочности
8. Правила охраны труда и техники безопасности при проведении обследований и испытаний
   Список использованных источников
Приложение 1. Пример рабочей программы проведения испытаний напорного трубопровода
Приложение 2. Возможные дефекты конструкций напорных трубопроводов и их допускаемые величины
Приложение 3. Измерительные инструменты и приборы, применяемые при обследовании трубопроводов
Приложение 4. Пример "Ведомости дефектов и повреждений"
Приложение 5. Пример оформления результатов обследования напорного трубопровода
Разработан: СПКТБ Мосгидросталь
Утверждён: АО Трест Гидромонтаж
30.01.1996 СПКТБ Мосгидросталь
Расположен в:Техническая документация Экология ЭНЕРГЕТИКА И ТЕПЛОТЕХНИКА Электростанции в целом ГИДРАВЛИЧЕСКИЕ И ПНЕВМАТИЧЕСКИЕ СИСТЕМЫ И КОМПОНЕНТЫ ОБЩЕГО НАЗНАЧЕНИЯ Трубопроводы и их компоненты Строительство Справочные документы Директивные письма, положения, рекомендации и др.
Нормативные ссылки:
Методические указания 2И0940Методические указания 2И0940Методические указания 2И0940Методические указания 2И0940Методические указания 2И0940Методические указания 2И0940Методические указания 2И0940Методические указания 2И0940Методические указания 2И0940Методические указания 2И0940Методические указания 2И0940Методические указания 2И0940Методические указания 2И0940Методические указания 2И0940Методические указания 2И0940Методические указания 2И0940Методические указания 2И0940Методические указания 2И0940Методические указания 2И0940Методические указания 2И0940Методические указания 2И0940Методические указания 2И0940Методические указания 2И0940Методические указания 2И0940Методические указания 2И0940Методические указания 2И0940Методические указания 2И0940Методические указания 2И0940Методические указания 2И0940Методические указания 2И0940Методические указания 2И0940Методические указания 2И0940Методические указания 2И0940Методические указания 2И0940Методические указания 2И0940Методические указания 2И0940Методические указания 2И0940Методические указания 2И0940Методические указания 2И0940Методические указания 2И0940Методические указания 2И0940Методические указания 2И0940Методические указания 2И0940Методические указания 2И0940Методические указания 2И0940Методические указания 2И0940Методические указания 2И0940Методические указания 2И0940Методические указания 2И0940Методические указания 2И0940Методические указания 2И0940Методические указания 2И0940Методические указания 2И0940Методические указания 2И0940Методические указания 2И0940Методические указания 2И0940Методические указания 2И0940Методические указания 2И0940Методические указания 2И0940Методические указания 2И0940Методические указания 2И0940Методические указания 2И0940Методические указания 2И0940Методические указания 2И0940Методические указания 2И0940Методические указания 2И0940Методические указания 2И0940Методические указания 2И0940Методические указания 2И0940Методические указания 2И0940

© 2013 Ёшкин Кот :-) Карта сайта