Информационная система
«Ёшкин Кот»

Скачать базу одним архивом
Скачать обновления
История создания базы
Карта сайта

Скачать РД 39-136-95 Инструкция по эксплуатации насосно-компрессорных труб

Дата актуализации: 10.08.2017

РД 39-136-95

Инструкция по эксплуатации насосно-компрессорных труб

Обозначение: РД 39-136-95
Обозначение англ: RD 39-136-95
Статус:действует
Название рус.:Инструкция по эксплуатации насосно-компрессорных труб
Дата добавления в базу:01.09.2013
Дата актуализации:05.05.2017
Дата введения:01.07.1995
Область применения:Инструкция содержит основные технические данные отечественных и зарубежных насосно-компрессорных труб (НКТ) и предназначена для нефтегазодобывающих предприятий, осуществляющих эксплуатацию НКТ.
Оглавление:1. Основные технические данные и сортамент насосно-компрессорных труб
   1.1 Трубы отечественного производства
   1.2 Трубы зарубежного производства (импорт)
2. Правила контроля и приемки
3. Маркировка
4. Условия применения
5. Подготовка к эксплуатации, учет работы и движения парка труб
6. Проведение на скважинах спуско-подъемных операций
7. Причины аварий и рекомендации по их расследованию
8. Разбраковка, ремонт и списание насосно-компрессорных труб
9. Транспортирование и хранение
10. Правила безопасности при погрузке, разгрузке и эксплуатации
Приложения
1. Поставщики труб и освоенный сортамент
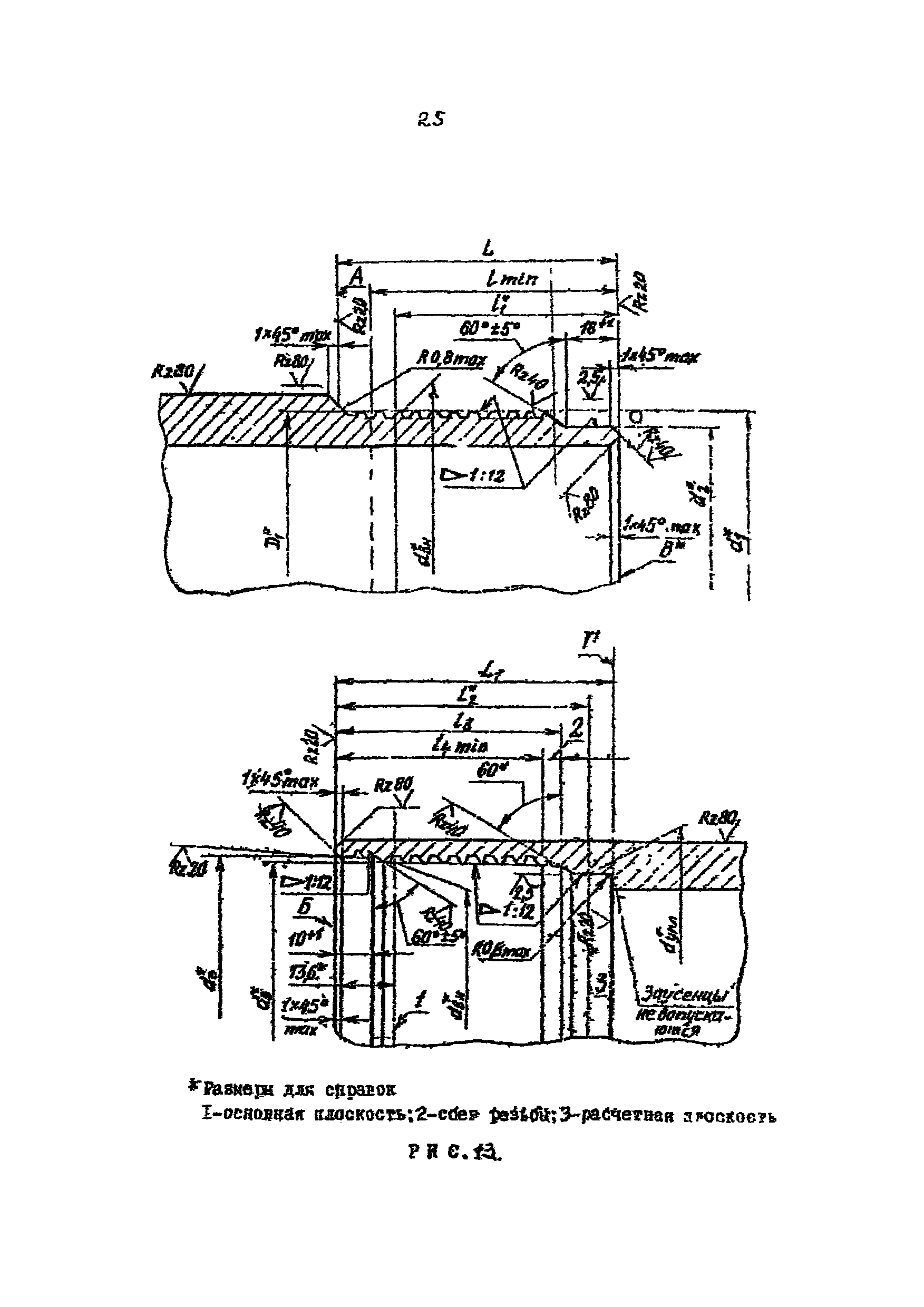
2. Геометрические размеры и масса отечественных насосно-компрессорных труб
3. Страгивающие и растягивающие нагрузки для насосно-компрессорных труб
4. Внутреннее и наружное давление, при которых напряжение в теле труб достигает предела текучести
5. Испытательные гидравлические давления для насосно-компрессорных труб
6. Предельные глубины спуска одноступенчатой колонны насосно-компрессорных труб отечественного производства
7. Геометрические характеристики насосно-компрессорных труб по стандартам АНИ
8. Предельные глубины спуска одноступенчатой колонны насосно-компрессорных труб, изготовляемых по стандартам АНИ
9. Растягивающие нагрузки, при которых напряжения в резьбовой части соединений труб изготовляемых по стандартам АНИ, достигают предела текучести
10. Давления, при которых напряжения в теле труб достигают предела текучести
11. Моменты свинчивания для зарубежных труб с муфтами, изготовленных по стандарту АНИ
12. Рекомендуемые моменты свинчивания для безмуфтовых труб, изготовленных по стандарту АНИ
13. Основные размеры и масса труб типа VAM фирмы "Валлурек"
14. Основные размеры и масса труб типа ТДS фирмы "Маннесман"
15. Основные размеры и масса труб типа ДSS-НТС, IJ-3SS, IJ-4S фирмы "Атлас Брэдфорд"
16. Основные размеры и масса труб типа ТС-4S фирмы "Атлас Брэдфорд"
17. Основные размеры и масса труб типа FL-4S фирмы "Атлас Брэдфорд
18. Основные размеры и масса труб типа СS фирмы "Хайдрил"
19. Основные размеры и масса труб типа PH-6 фирмы "Хайдрил"
20. Основные размеры и масса труб типа А-95 фирмы "Хайдрил"
21. Растягивающие нагрузки, при которых напряжения в теле трубы достигают предела текучести (трубы с высаженными наружу концами, изготовленными по стандарту АНИ, трубы фирм "Валлурек", "Хайдрил", "Маннесман", "Атлас Брэдфорд"
22. Рекомендуемые моменты свинчивания для соединений типа VAM фирмы "Валлурек" с использованием смазки по стандарту 5А2 АНИ
23. Рекомендуемые моменты свинчивания для соединений ТДS фирмы "Маннесман"
24. Оптимальные моменты свинчивания для соединений типа ДSS-НТС, IJ-3SS, IJ-4S фирмы "Атлас Брэдфорд"
25. Оптимальные моменты свинчивания для соединений типа ТС-4S фирмы "Атлас Брэдфорд"
26. Оптимальные моменты свинчивания для соединений типа FL-4S фирмы "Атлас Брэдфорд"
27. Оптимальные моменты свинчивания для соединений типа А-95, CS, РН-6, РН-4 фирмы "Хайдрил"
28. Основные размеры и масса труб типа NК2SC фирмы "Ниппон Кокан"
29. Основные размеры и масса труб типа NК3SВ фирмы "Ниппон Кокан"
30. Растягивающие нагрузки, при которых напряжения в теле трубы достигают предела текучести, для труб фирмы "Ниппон Кокан" типа NK2SC, NK3SВ
31. Давления, при которых напряжения в теле трубы достигают предела текучести, для труб фирмы "Ниппон Кокан" типа NK2SC, NK3SВ
32. Основные характеристики резьбовых соединений Фокс для насосно-компрессорных труб
33. Паспорт-журнал на скважинный комплект насосно-компрессорных труб
34. Образцы маркировки отечественных и зарубежных насосно-компрессорных труб
35. Перечень нормативно-технической документации по насосно-компрессорным трубам
Разработан: ВНИИТнефть
Утверждён:15.02.1995 А.О. ВНИИТнефть
Принят: Департамент по науке и технике ВНИИТнефть
Расположен в:Техническая документация Экология ДОБЫЧА И ПЕРЕРАБОТКА НЕФТИ, ГАЗА И СМЕЖНЫЕ ПРОИЗВОДСТВА Оборудование для переработки нефти, нефтяных продуктов и природного газа Трубопроводы и их компоненты Строительство Нормативные документы Отраслевые и ведомственные нормативно-методические документы Проектирование и строительство объектов нефтяной и газовой промышленности
Заменяет собой:
Нормативные ссылки:
РД 39-136-95РД 39-136-95РД 39-136-95РД 39-136-95РД 39-136-95РД 39-136-95РД 39-136-95РД 39-136-95РД 39-136-95РД 39-136-95РД 39-136-95РД 39-136-95РД 39-136-95РД 39-136-95РД 39-136-95РД 39-136-95РД 39-136-95РД 39-136-95РД 39-136-95РД 39-136-95РД 39-136-95РД 39-136-95РД 39-136-95РД 39-136-95РД 39-136-95РД 39-136-95РД 39-136-95РД 39-136-95РД 39-136-95РД 39-136-95РД 39-136-95РД 39-136-95РД 39-136-95РД 39-136-95РД 39-136-95РД 39-136-95РД 39-136-95РД 39-136-95РД 39-136-95РД 39-136-95РД 39-136-95РД 39-136-95РД 39-136-95РД 39-136-95РД 39-136-95РД 39-136-95РД 39-136-95РД 39-136-95РД 39-136-95РД 39-136-95РД 39-136-95РД 39-136-95РД 39-136-95РД 39-136-95РД 39-136-95РД 39-136-95РД 39-136-95РД 39-136-95РД 39-136-95РД 39-136-95РД 39-136-95РД 39-136-95РД 39-136-95РД 39-136-95РД 39-136-95РД 39-136-95РД 39-136-95РД 39-136-95РД 39-136-95РД 39-136-95РД 39-136-95РД 39-136-95РД 39-136-95РД 39-136-95РД 39-136-95РД 39-136-95РД 39-136-95РД 39-136-95РД 39-136-95РД 39-136-95РД 39-136-95РД 39-136-95РД 39-136-95РД 39-136-95РД 39-136-95РД 39-136-95РД 39-136-95РД 39-136-95РД 39-136-95РД 39-136-95РД 39-136-95РД 39-136-95РД 39-136-95РД 39-136-95РД 39-136-95РД 39-136-95РД 39-136-95РД 39-136-95РД 39-136-95РД 39-136-95РД 39-136-95РД 39-136-95РД 39-136-95РД 39-136-95РД 39-136-95РД 39-136-95РД 39-136-95РД 39-136-95РД 39-136-95РД 39-136-95РД 39-136-95РД 39-136-95РД 39-136-95РД 39-136-95РД 39-136-95РД 39-136-95РД 39-136-95РД 39-136-95РД 39-136-95РД 39-136-95РД 39-136-95РД 39-136-95РД 39-136-95РД 39-136-95РД 39-136-95РД 39-136-95РД 39-136-95РД 39-136-95РД 39-136-95РД 39-136-95РД 39-136-95РД 39-136-95РД 39-136-95РД 39-136-95РД 39-136-95РД 39-136-95РД 39-136-95РД 39-136-95РД 39-136-95РД 39-136-95РД 39-136-95РД 39-136-95РД 39-136-95РД 39-136-95РД 39-136-95РД 39-136-95РД 39-136-95РД 39-136-95РД 39-136-95РД 39-136-95РД 39-136-95РД 39-136-95РД 39-136-95РД 39-136-95РД 39-136-95РД 39-136-95РД 39-136-95РД 39-136-95РД 39-136-95

© 2013 Ёшкин Кот :-) Карта сайта