Скачать Типовые проектные решения 902-2-0408.86 Альбом 3. Рабочие чертежи секций шириной 6 мДата актуализации: 10.08.2017 Типовые проектные решения 902-2-0408.86
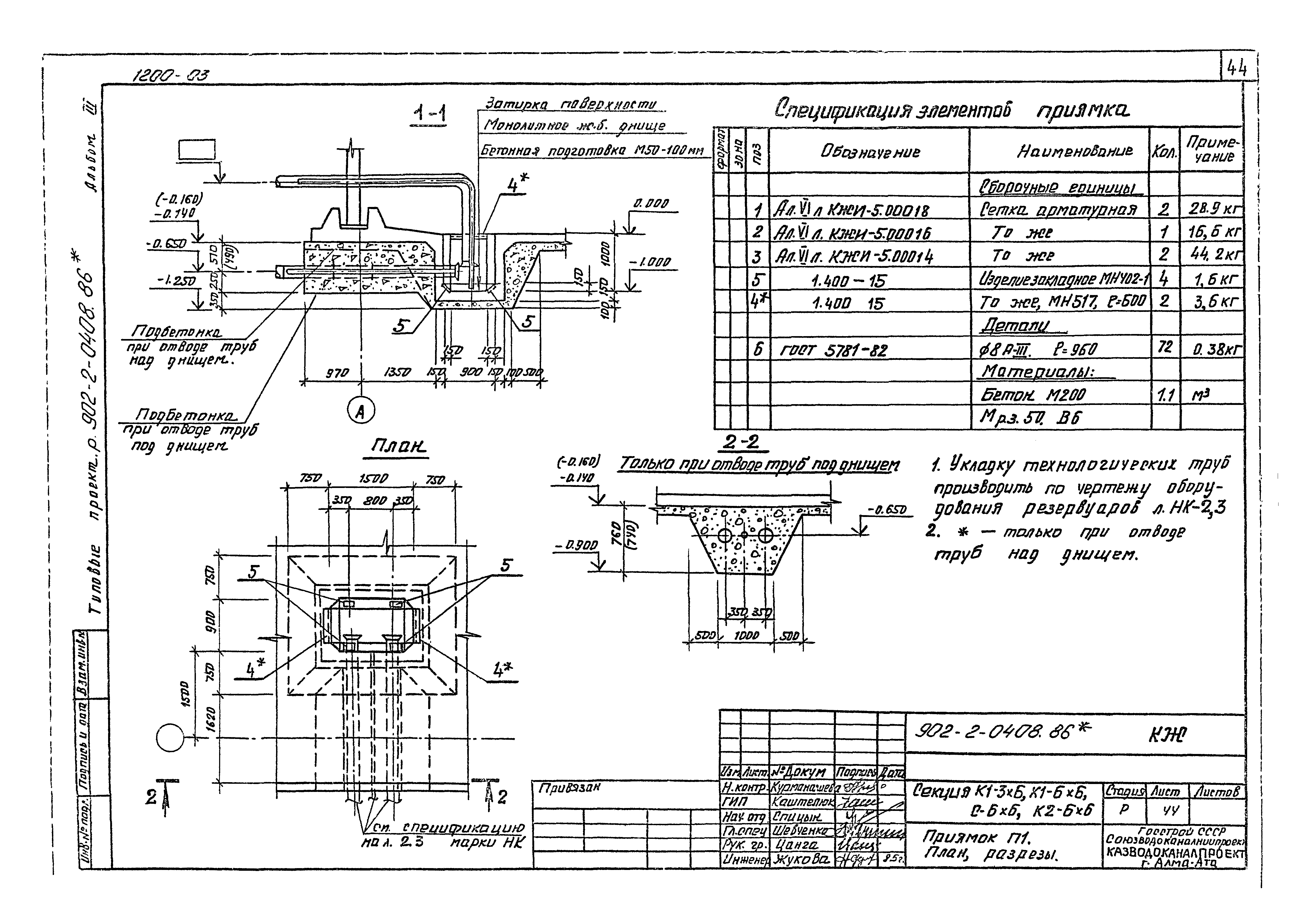
Альбом 3. Рабочие чертежи секций шириной 6 мОбозначение: | Типовые проектные решения 902-2-0408.86 | Обозначение англ: | 902-2-0408.86 | Статус: | cправочные материалы, мп, тпр | Название рус.: | Альбом 3. Рабочие чертежи секций шириной 6 м | Дата добавления в базу: | 01.09.2013 | Дата актуализации: | 05.05.2017 | Оглавление: | ТПР 902-2-0408.86-КЖ-1 Общие данные ТПР 902-2-0408.86-КЖ-2 Секции К1-3х6,К1-6х6,К1-12х6. Схема расположения стеновых панелей ТПР 902-2-0408.86-КЖ-3 Секции К2-6х6,К2-12х12. Схема расположения стеновых панелей ТПР 902-2-0408.86-КЖ-4 Секции С-6х6,С-12х6. Схема расположения стеновых панелей ТПР 902-2-0408.86-КЖ-5 Секции К1-3х6,К1-6х6,К1-12х6,С-6х6,С-12х6,К2-6х6,К2-12х6. Разрез 1-1. Узлы 1,2,3 ТПР 902-2-0408.86-КЖ-6 Секции К1-3х6,К1-6х6,С-6х6,К2-6х6. Схема расположения щитов покрытия (только для нефтесодержащих вод) ТПР 902-2-0408.86-КЖ-7 Секция К1-3х6. Спецификация к схеме расположения стеновых панелей ТПР 902-2-0408.86-КЖ-8 Секция К1-6х6. Спецификация к схеме расположения стеновых панелей ТПР 902-2-0408.86-КЖ-9 Секция К1-12х6. Спецификация к схеме расположения стеновых панелей ТПР 902-2-0408.86-КЖ-10 Секция К2-6х6. Спецификация к схеме расположения стеновых панелей ТПР 902-2-0408.86-КЖ-11 Секция К2-12х6. Спецификация к схеме расположения стеновых панелей ТПР 902-2-0408.86-КЖ-12 Секция С-6х6. Спецификация к схеме расположения стеновых панелей ТПР 902-2-0408.86-КЖ-13 Секция С-12х6. Спецификация к схеме расположения стеновых панелей ТПР 902-2-0408.86-КЖ-14 Секции К1-12х6,К1-6х6,К2-12х6. Монтажные узлы продольных стен ТПР 902-2-0408.86-КЖ-15 Секции К1-3х6,С-6х6,С-12х6,К2-6х6. Монтажные узлы продольных стен ТПР 902-2-0408.86-КЖ-16 Секции К1-3х6,К1-6х6,К1-12х6,К2-6х6,К2-12х6,С-6х6,С-12х6. Монтажные узлы поперечных стен. Спецификация изделий на 1 узел. Узел 9 ТПР 902-2-0408.86-КЖ-17 Секции К1-3х6,К1-6х6,К1-12х6,С-6х6,С-12х6,К2-6х6,К2-12х6. Монтажные узлы 4,5,6,7,8 ТПР 902-2-0408.86-КЖ-18 Секции К1-3х6,К1-6х6,К1-12х6. Днище. Опалубочный чертеж ТПР 902-2-0408.86-КЖ-19 Секции С-6х6,С-12х6. Днище. Опалубочный чертеж ТПР 902-2-0408.86-КЖ-20 Секции К2-6х6,К2-12х6. Днище. Опалубочный чертеж ТПР 902-2-0408.86-КЖ-21 Секции шириной 6 м. Днище. Узлы 10,11 (опалубка). Узел 14 (армирование) ТПР 902-2-0408.86-КЖ-22 Секции шириной 6 м. Днище. Узлы 10,11 (армирование) ТПР 902-2-0408.86-КЖ-23 Секции шириной 6 м. Днище. Узел 15 ТПР 902-2-0408.86-КЖ-24 Секция К1-3х6. Днище, армирование ТПР 902-2-0408.86-КЖ-25 Секция К1-3х6. Днище. Спецификация ТПР 902-2-0408.86-КЖ-26 Секция К1-3х6. Днище. Ведомость расхода стали ТПР 902-2-0408.86-КЖ-27 Секция К1-6х6. Ведомость расхода стали ТПР 902-2-0408.86-КЖ-28 Секция К1-6х6. Днище, армирование ТПР 902-2-0408.86-КЖ-29 Секция К1-6х6. Днище. Спецификация ТПР 902-2-0408.86-КЖ-30 Секция К1-12х6. Днище, армирование ТПР 902-2-0408.86-КЖ-31 Секция К1-12х6. Днище. Спецификация ТПР 902-2-0408.86-КЖ-32 Секция К1-12х6. Днище. Ведомость расхода стали ТПР 902-2-0408.86-КЖ-33 Секция К2-6х6. Днище. Ведомость расхода стали ТПР 902-2-0408.86-КЖ-34 Секция К2-6х6. Днище, армирование ТПР 902-2-0408.86-КЖ-35 Секция К2-6х6. Днище. Спецификация ТПР 902-2-0408.86-КЖ-36 Секция К2-12х6. Днище, армирование ТПР 902-2-0408.86-КЖ-37 Секция К2-12х6. Днище. Спецификация ТПР 902-2-0408.86-КЖ-38 Секция К2-12х6. Днище. Ведомость расхода стали ТПР 902-2-0408.86-КЖ-39 Секция С-12х6. Днище. Ведомость расхода стали ТПР 902-2-0408.86-КЖ-40 Секция С-12х6. Днище, армирование ТПР 902-2-0408.86-КЖ-41 Секция С-12х6. Днище. Спецификация ТПР 902-2-0408.86-КЖ-42 Секция С-6х6. Днище, армирование ТПР 902-2-0408.86-КЖ-43 Секция С-6х6. Днище. Спецификация ТПР 902-2-0408.86-КЖ-44 Секция К1-3х6,К1-6х6,С-6х6,К2-6х6. Приямок П1. План, разрезы ТПР 902-2-0408.86-КЖ-45 Секция К1-3х6,К1-6х6,С-6х6,К2-6х6. Приямок П1. Армирование ТПР 902-2-0408.86-КЖ-46 Секция К1-12х6,С-12х6,К2-12х6. Приямок П2. План, разрезы ТПР 902-2-0408.86-КЖ-47 Секция К1-12х6,С-12х6,К2-12х6. Приямок П2. Армирование ТПР 902-2-0408.86-НК Марка НК ТПР 902-2-0408.86-НК-1 Общие данные. 1 и 2 варианты ТПР 902-2-0408.86-НК-2 Технологические трубопроводы. План. Разрез 4-4. Узел 1. 1 вариант ТПР 902-2-0408.86-НК-3 Технологические трубопроводы. 1 вариант. Разрезы 1-1,2-2,3-3 ТПР 902-2-0408.86-НК-4 Технологические трубопроводы. 1 вариант. Спецификация (продолжение) ТПР 902-2-0408.86-НК-5 Технологические трубопроводы. 2 вариант. План. Разрез 4-4. Узел 1 ТПР 902-2-0408.86-НК-6 Технологические трубопроводы. 2 вариант. Разрезы 1-1,2-2,3-3,5-5 ТПР 902-2-0408.86-НК-7 Технологические трубопроводы. 2 вариант. Спецификация (продолжение) ТПР 902-2-0408.86-ЭК Марка ЭК ТПР 902-2-0408.86-ЭК-1 Общие данные. Спецификация основных монтажных материалов и изделий (начало) ТПР 902-2-0408.86-ЭК-2 Общие данные. Спецификация основных монтажных материалов и изделий (окончание) ТПР 902-2-0408.86-ЭК-3 Установка датчиков уровня (начало) ТПР 902-2-0408.86-ЭК-4 Установка датчиков уровня (окончание) | Разработан: | Казводоканалпроект Госстроя СССР
| Утверждён: | 23.05.1985 СоюзводоканалНИИпроект (SoyuzvodokanalNIIproject 25)
| Расположен в: |
|
                                                          
|