Информационная система
«Ёшкин Кот»

Скачать базу одним архивом
Скачать обновления
История создания базы
Карта сайта

Скачать Типовой проект 125-045/1.2 Часть 0. Раздел 0-2. Общая часть. Материалы для компоновки жилых домов из блок-секций

Дата актуализации: 10.08.2017

Типовой проект 125-045/1.2

Часть 0. Раздел 0-2. Общая часть. Материалы для компоновки жилых домов из блок-секций

Обозначение: Типовой проект 125-045/1.2
Обозначение англ: 125-045/1.2
Статус:действует
Название рус.:Часть 0. Раздел 0-2. Общая часть. Материалы для компоновки жилых домов из блок-секций
Дата добавления в базу:01.09.2013
Дата актуализации:05.05.2017
Дата введения:30.06.1984
Оглавление:ТП 125-045/1.2-АС-1 Заглавный лист (начало)
ТП 125-045/1.2-АС-2÷АС-3 Заглавный лист (продолжение)
ТП 125-045/1.2-АС-4 Заглавный лист (окончание)
ТП 125-045/1.2-АС-5 Чертеж-заготовка планов, фасадов, показателей для основного планировочного решения с колясочной - тип 1
ТП 125-045/1.2-АС-6 Чертеж-заготовка планов, фасадов, показателей для основного планировочного решения 1 этажа со сквозным проходом - тип 2
ТП 125-045/1.2-АС-7 Чертеж-заготовка планов, фасадов, показателей для основного планировочного решения 1 этажа с электрощитовой - тип 3
ТП 125-045/1.2-АС-8 Чертеж-заготовка плана свайного поля
ТП 125-045/1.2-АС-9 Чертеж-заготовка плана оголовков
ТП 125-045/1.2-АС-10 Чертежи-заготовки планов свай и оголовков ЭБд-7,ЭБд-8
ТП 125-045/1.2-АС-11 Чертежи-заготовки планов свай и оголовков ЭБд-9,ЭБд-10
ТП 125-045/1.2-АС-12 Чертеж-заготовка. Сечения 4-4÷10-10
ТП 125-045/1.2-АС-13 Чертеж-заготовка. Сечения 11-11÷12-12
ТП 125-045/1.2-АС-14 Чертеж-заготовка. Сечения 13-13÷20-20
ТП 125-045/1.2-АС-15 План свайного поля (типовое решение)
ТП 125-045/1.2-АС-16 Монтажный план оголовков (типовое решение)
ТП 125-045/1.2-АС-17 Планы свайного поля и оголовков ЭБд-7,ЭБд-8 (типовое решение)
ТП 125-045/1.2-АС-18 Планы свайного поля и оголовков ЭБд-9,ЭБд-10 (типовое решение)
ТП 125-045/1.2-АС-19 Сечения 4-4÷10-10 (типовое решение)
ТП 125-045/1.2-АС-20 Сечения 11-11÷12-12 (типовое решение)
ТП 125-045/1.2-АС-21 Сечения 13-13÷20-20 (типовое решение)
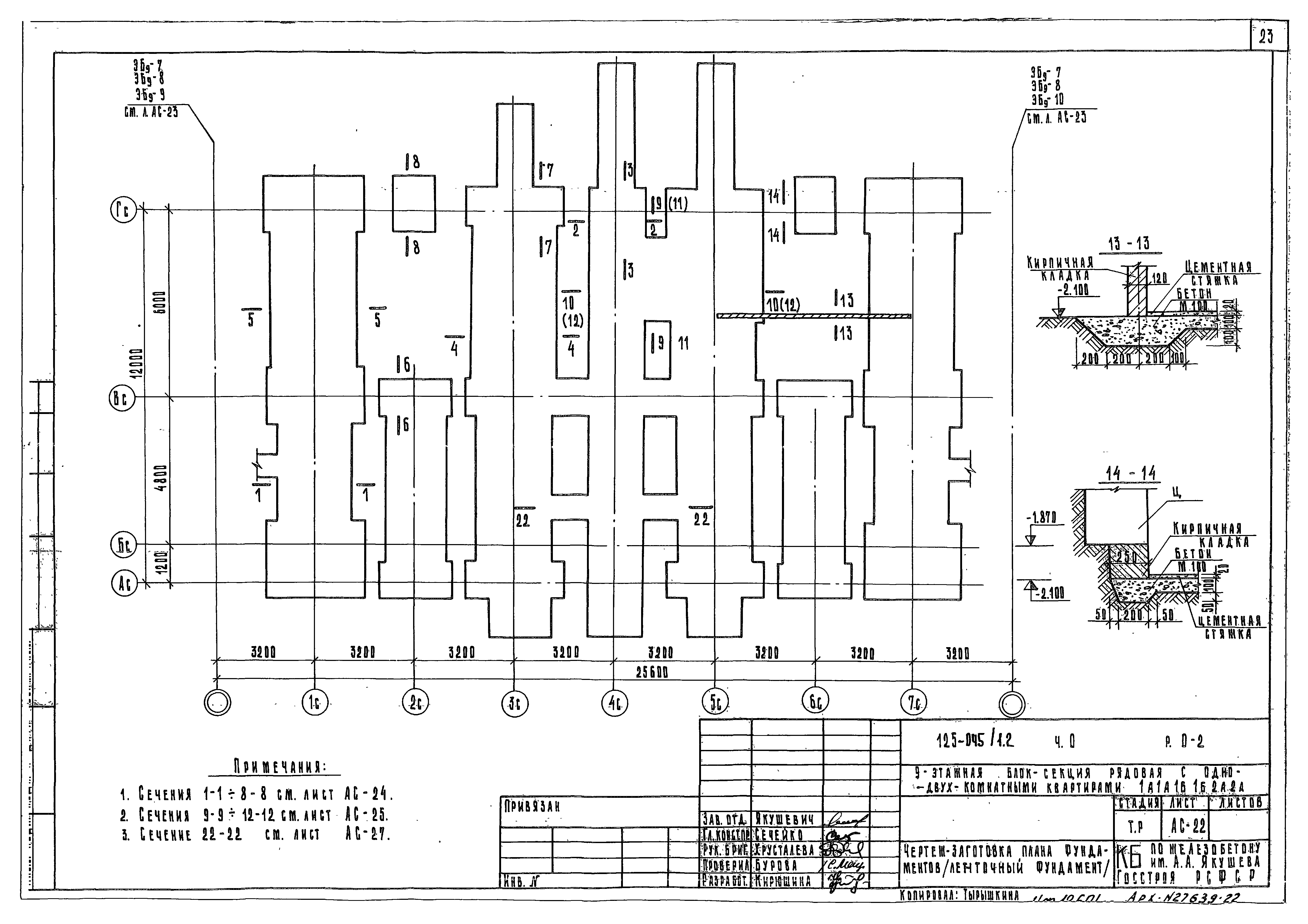
ТП 125-045/1.2-АС-22 Чертеж-заготовка плана фундаментов (ленточный фундамент)
ТП 125-045/1.2-АС-23 Чертеж-заготовка плана фундаментов (ленточный фундамент) ЭБд-8,ЭБд-9,ЭБд-10. Планы фундаментов
ТП 125-045/1.2-АС-24 Чертеж-заготовка. Сечения 1-1÷8-8
ТП 125-045/1.2-АС-25 Чертеж-заготовка. Сечения 9-9÷12-12
ТП 125-045/1.2-АС-26 Чертеж-заготовка. Сечения 15-15÷20-20
ТП 125-045/1.2-АС-27 Чертеж-заготовка. Сечения 21-21÷23-23
ТП 125-045/1.2-АС-28 План фундаментов и опорных подушек (типовые решения)
ТП 125-045/1.2-АС-29 ЭБд-7,ЭБд-8,ЭБд-9,ЭБд-10. Планы фундаментов (типовые решения)
ТП 125-045/1.2-АС-30 Сечения 1-1÷8-8 (типовое решение)
ТП 125-045/1.2-АС-31 Сечения 9-9÷12-12 (типовое решение)
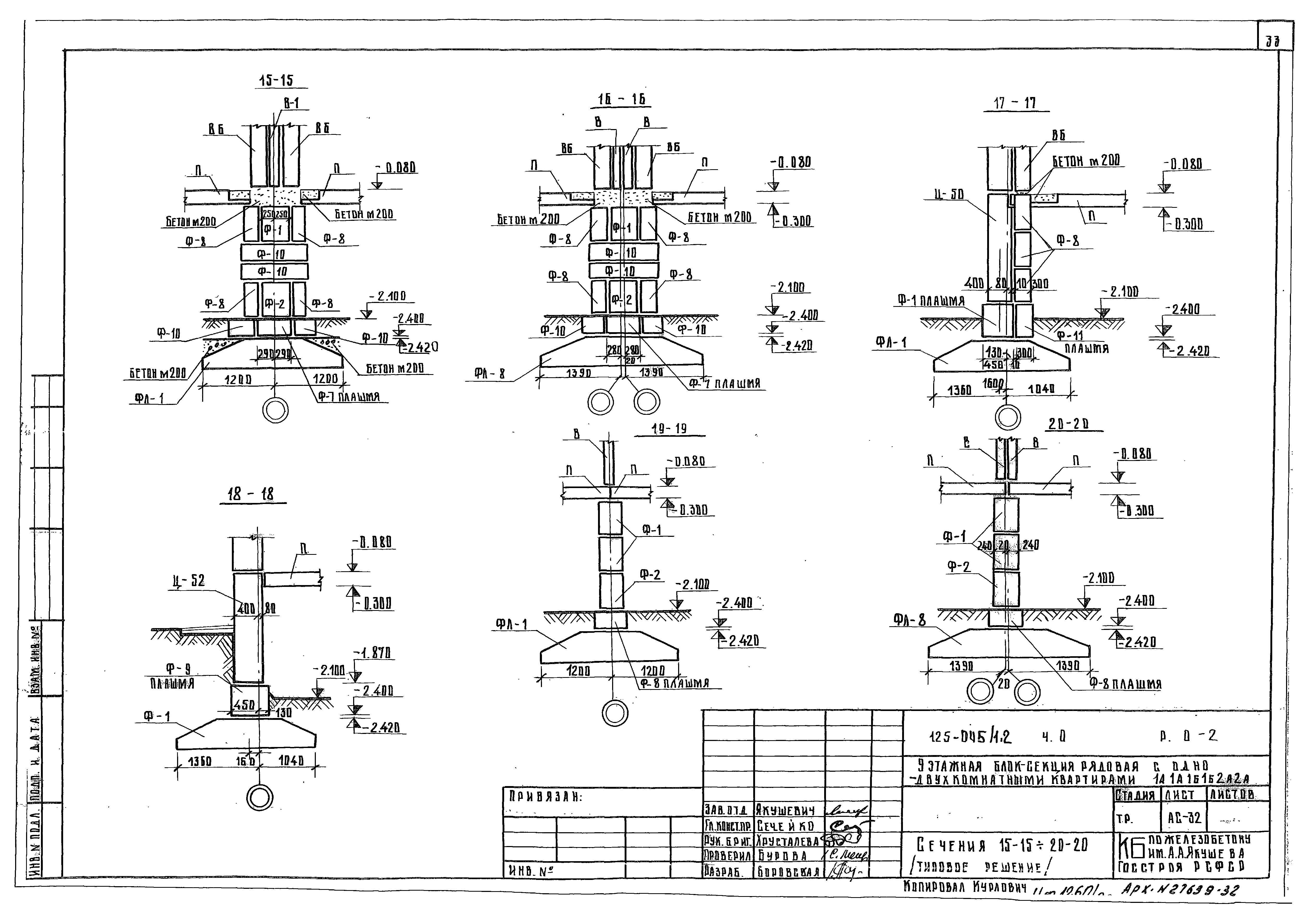
ТП 125-045/1.2-АС-32 Сечения 15-15÷20-20 (типовое решение)
ТП 125-045/1.2-АС-33 Сечения 21-21÷23-23 (типовое решение)
ТП 125-045/1.2-АС-34÷АС-35 Спецификация сборных железобетонных изделий ниже отм. ± 0.000 (свайный фундамент)
ТП 125-045/1.2-АС-36 ЭБд-7,ЭБд-8. Спецификация железобетонных изделий ниже отм. ± 0.000 (свайный фундамент)
ТП 125-045/1.2-АС-37 ЭБд-9,ЭБд-10. Спецификация железобетонных изделий ниже отм. ± 0.000 (свайный фундамент)
ТП 125-045/1.2-АС-38 Спецификация металлических и деревянных изделий ниже отм. 0.000 (свайный фундамент)
ТП 125-045/1.2-АС-39 ЭБд-7,ЭБд-8,ЭБд-9,ЭБд-10. Спецификация металлических изделий ниже отм. 0.000 (свайный фундамент)
ТП 125-045/1.2-АС-40÷АС-41 Спецификация железобетонных изделий ниже отм. ± 0.000 (ленточный фундамент)
ТП 125-045/1.2-АС-42 ЭБд-7,ЭБд-8. Спецификация железобетонных изделий ниже отм. ± 0.000 (ленточный фундамент)
ТП 125-045/1.2-АС-43 ЭБд-9,ЭБд-10. Спецификация железобетонных изделий ниже отм. ± 0.000 (ленточный фундамент)
ТП 125-045/1.2-АС-44 Спецификация металлических и деревянных изделий ниже отм. ± 0.000 (ленточный фундамент)
ТП 125-045/1.2-АС-45 ЭБд-7,ЭБд-8,ЭБд-9,ЭБд-10. Спецификация металлических изделий ниже отм. ± 0.000 (ленточный фундамент)
ТП 125-045/1.2-АС-46÷АС-55 Спецификация железобетонных изделий выше отм. 0.000
ТП 125-045/1.2-АС-56÷АС-60 Спецификация деревянных изделий выше отм. 0.000
ТП 125-045/1.2-АС-61÷АС-65 Спецификация металлических изделий выше отм. 0.000
ТП 125-045/1.2-АС-66 Спецификация прочих материалов выше отм. 0.000
ТП 125-045/1.2-АС-67 ЭБд-7. Спецификация железобетонных изделий выше отм. 0.000
ТП 125-045/1.2-АС-68÷АС-69 ЭБд-7. Спецификация деревянных и металлических изделий выше отм. 0.000
ТП 125-045/1.2-АС-70 ЭБд-8. Спецификация железобетонных изделий выше отм. 0.000
ТП 125-045/1.2-АС-71÷Ас-72 ЭБд-8. Спецификация деревянных и металлических изделий выше отм. 0.000
ТП 125-045/1.2-АС-73 ЭБд-9. Спецификация железобетонных изделий выше отм. 0.000
ТП 125-045/1.2-АС-74 ЭБд-10. Спецификация железобетонных изделий выше отм. 0.000
ТП 125-045/1.2-АС-75÷АС-76 ЭБд-9,ЭБд-10. Спецификация деревянных и металлических изделий выше отм. 0.000
ТП 125-045/1.2-АС-77÷АС-78 Спецификация железобетонных изделий выше отм. 25.120 м (теплый чердак, кровля рулонная)
ТП 125-045/1.2-АС-79 ЭБд-7,ЭБд-8. Спецификация железобетонных изделий выше отм. 25.120 м (теплый чердак, кровля рулонная)
ТП 125-045/1.2-АС-80 ЭБд-9,ЭБд-10. Спецификация железобетонных изделий выше отм. 25.120 м (теплый чердак, кровля рулонная)
ТП 125-045/1.2-АС-81 Спецификация металлических изделий выше отм. 25.120 м (теплый чердак, кровля рулонная)
ТП 125-045/1.2-АС-82 Спецификация металлических, деревянных изделий и прочих материалов (теплый чердак, кровля рулонная)
ТП 125-045/1.2-АС-83 ЭБд-7,ЭБд-8. Спецификация деревянных изделий выше отм. 25.120 (теплый чердак, кровля рулонная)
ТП 125-045/1.2-АС-84 ЭБд-7,ЭБд-8. Спецификация металлических изделий выше отм. 25.120 (теплый чердак, кровля рулонная)
ТП 125-045/1.2-АС-85 ЭБд-9,ЭБд-10. Спецификация деревянных изделий выше отм. 25.120 (теплый чердак, кровля рулонная)
Разработан: КБ по железобетону Госстроя РСФСР
Утверждён:21.06.1982 Госстрой РСФСР (Russian Federation Gosstroy 46)
Расположен в:Техническая документация Строительство Справочные документы Типовые строительные конструкции, изделия и узлы Общероссийский строительный каталог Жилые здания для строительства в городах и поселках городского типа Обычные условия Жилые дома панельные Серия 125
Типовой проект 125-045/1.2Типовой проект 125-045/1.2Типовой проект 125-045/1.2Типовой проект 125-045/1.2Типовой проект 125-045/1.2Типовой проект 125-045/1.2Типовой проект 125-045/1.2Типовой проект 125-045/1.2Типовой проект 125-045/1.2Типовой проект 125-045/1.2Типовой проект 125-045/1.2Типовой проект 125-045/1.2Типовой проект 125-045/1.2Типовой проект 125-045/1.2Типовой проект 125-045/1.2Типовой проект 125-045/1.2Типовой проект 125-045/1.2Типовой проект 125-045/1.2Типовой проект 125-045/1.2Типовой проект 125-045/1.2Типовой проект 125-045/1.2Типовой проект 125-045/1.2Типовой проект 125-045/1.2Типовой проект 125-045/1.2Типовой проект 125-045/1.2Типовой проект 125-045/1.2Типовой проект 125-045/1.2Типовой проект 125-045/1.2Типовой проект 125-045/1.2Типовой проект 125-045/1.2Типовой проект 125-045/1.2Типовой проект 125-045/1.2Типовой проект 125-045/1.2Типовой проект 125-045/1.2Типовой проект 125-045/1.2Типовой проект 125-045/1.2Типовой проект 125-045/1.2Типовой проект 125-045/1.2Типовой проект 125-045/1.2Типовой проект 125-045/1.2Типовой проект 125-045/1.2Типовой проект 125-045/1.2Типовой проект 125-045/1.2Типовой проект 125-045/1.2Типовой проект 125-045/1.2Типовой проект 125-045/1.2Типовой проект 125-045/1.2Типовой проект 125-045/1.2Типовой проект 125-045/1.2Типовой проект 125-045/1.2Типовой проект 125-045/1.2Типовой проект 125-045/1.2Типовой проект 125-045/1.2Типовой проект 125-045/1.2Типовой проект 125-045/1.2Типовой проект 125-045/1.2Типовой проект 125-045/1.2Типовой проект 125-045/1.2Типовой проект 125-045/1.2Типовой проект 125-045/1.2Типовой проект 125-045/1.2Типовой проект 125-045/1.2Типовой проект 125-045/1.2Типовой проект 125-045/1.2Типовой проект 125-045/1.2Типовой проект 125-045/1.2Типовой проект 125-045/1.2Типовой проект 125-045/1.2Типовой проект 125-045/1.2Типовой проект 125-045/1.2Типовой проект 125-045/1.2Типовой проект 125-045/1.2Типовой проект 125-045/1.2Типовой проект 125-045/1.2Типовой проект 125-045/1.2Типовой проект 125-045/1.2Типовой проект 125-045/1.2Типовой проект 125-045/1.2Типовой проект 125-045/1.2Типовой проект 125-045/1.2Типовой проект 125-045/1.2Типовой проект 125-045/1.2Типовой проект 125-045/1.2Типовой проект 125-045/1.2Типовой проект 125-045/1.2Типовой проект 125-045/1.2Типовой проект 125-045/1.2

© 2013 Ёшкин Кот :-) Карта сайта