| ||||||||||||||||||||||||||||||||||
Скачать ГОСТ Р 12.1.019-2009 Система стандартов безопасности труда. Электробезопасность. Общие требования и номенклатура видов защитыДата актуализации: 10.08.2017
|
| Обозначение: | ГОСТ Р 12.1.019-2009 |
| Обозначение англ: | GOST R 12.1.019-2009 |
| Статус: | действует |
| Название рус.: | Система стандартов безопасности труда. Электробезопасность. Общие требования и номенклатура видов защиты |
| Название англ.: | Occupational safety standards system. Electrical safety. General requirements and nomenclature of kinds of protection |
| Дата добавления в базу: | 01.09.2013 |
| Дата актуализации: | 05.05.2017 |
| Дата введения: | 01.01.2011 |
| Область применения: | Стандарт распространяется на электроустановки производственного и бытового назначения на стадиях проектирования, изготовления, монтажа, наладки, испытаний и эксплуатации и устанавливает общие требования по предотвращению опасного и вредного воздействия на персонал электрического тока и электрической дуги, а также номенклатуру видов защиты работников от воздействия указанных факторов. Стандарт не устанавливает требования и номенклатуру видов защиты от электрических полей промышленной частоты, статического и атмосферного электричества. |
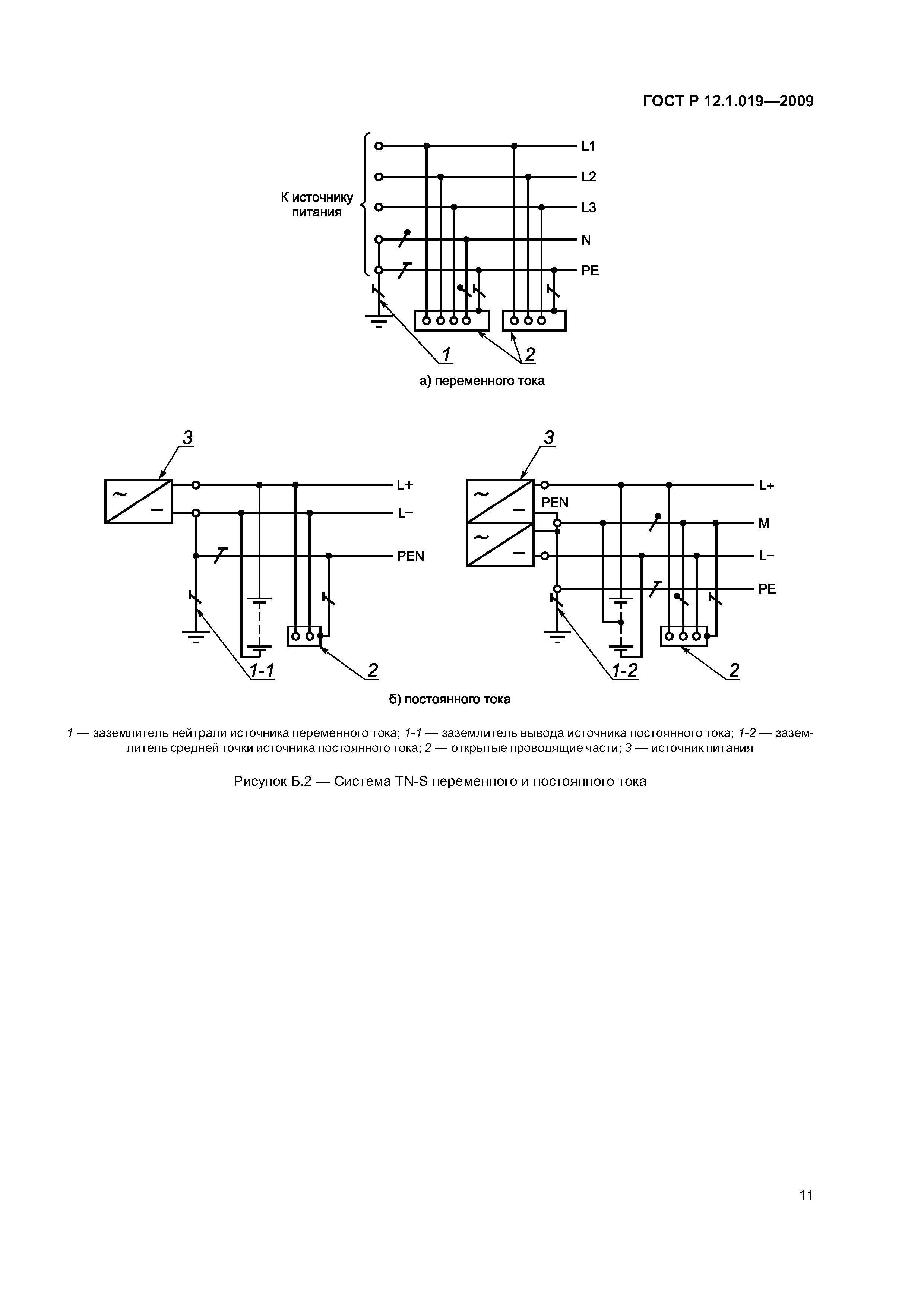
| Оглавление: | 1 Область применения 2 Нормативные ссылки 3 Термины и определения 4 Основные положения 4.1 Общие положения 4.2 Обеспечение электробезопасности техническими способами и средствами 4.3 Контроль требований электробезопасности Приложение А (справочное) Зона досигаемости в электроустановках до 1 кВ Приложение Б (справочное) Обозначения для электроустановок напряжением до 1 кВ Приложение В (справочное) Классы и маркировки электротехнических изделий по способу защиты человека от поражения электрическим током Приложение Г (справочное) Схемы электрических сетей с примерами повреждений, учитываемыми при выборе и обосновании мер защиты от поражения электрическим током при наличии неисправности Приложение Д (справочное) Защитные меры, осуществляемые с помощью защитных устройств Библиография |
| Разработан: | ФГУ ВНИИ охраны и экономики труда Росздрава |
| Утверждён: | 10.12.2009 Федеральное агентство по техническому регулированию и метрологии (681-ст) |
| Издан: | Стандартинформ (2010 г. ) |
| Расположен в: | |
| Нормативные ссылки: |
|































