Информационная система
«Ёшкин Кот»

Скачать базу одним архивом
Скачать обновления
История создания базы
Карта сайта

Скачать ОСТ 108.271.106-76 Подогреватели пароводяные. Системы трубные длиной 2000 мм. Конструкция и размеры

Дата актуализации: 10.08.2017

ОСТ 108.271.106-76

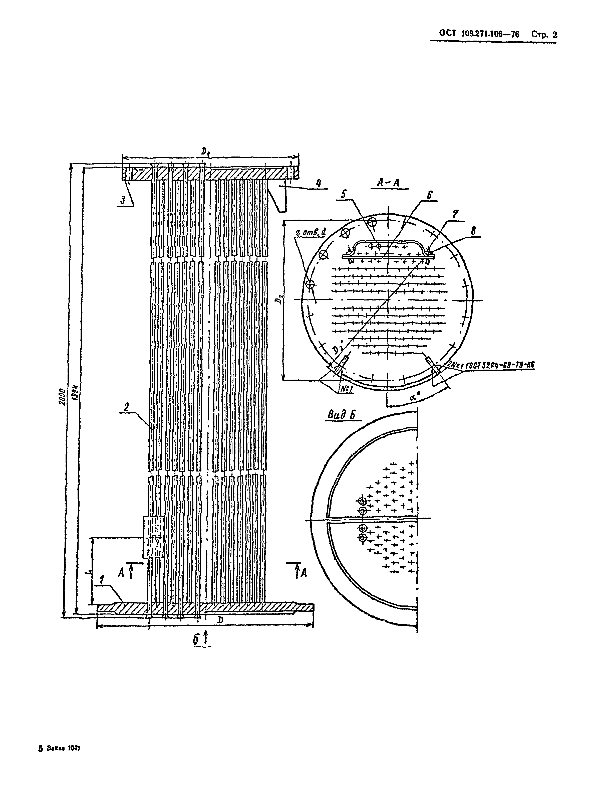
Подогреватели пароводяные. Системы трубные длиной 2000 мм. Конструкция и размеры

Обозначение: ОСТ 108.271.106-76
Обозначение англ: OST 108.271.106-76
Статус:не определен законодательством
Название рус.:Подогреватели пароводяные. Системы трубные длиной 2000 мм. Конструкция и размеры
Дата добавления в базу:01.09.2013
Дата актуализации:05.05.2017
Дата введения:01.01.1978
Область применения:Стандарт распространяется на трубные системы длиной 2000 мм пароводяных подогревателей.
Разработан: Ленинградский филиал института Энергомонтажпроект
НПО ЦКТИ
Утверждён:27.12.1976 Министерство энергетического машиностроения (Ministry of Energy Machinery Manufacturing ПС-002/9623)
Принят: Госгортехнадзор СССР (USSR Gosgortekhnadzor )
ЦПКБ Главтехмонтаж Минмонтажспецстроя
Трест Союзкотлокомлект
Расположен в:Техническая документация Строительство Стандарты Отраслевые стандарты и технические условия Отраслевые стандарты
Список изменений:
Нормативные ссылки:
ОСТ 108.271.106-76ОСТ 108.271.106-76ОСТ 108.271.106-76ОСТ 108.271.106-76ОСТ 108.271.106-76

Текстовое изменение № 1 от 01.01.1983

№ 1

Текстовое изменение № 2 от 01.01.1988

№ 2

Текстовое изменение № 3 от 01.07.1993

№ 3№ 3№ 3№ 3

Текстовое изменение № от 15.02.1994

№ № № №

© 2013 Ёшкин Кот :-) Карта сайта