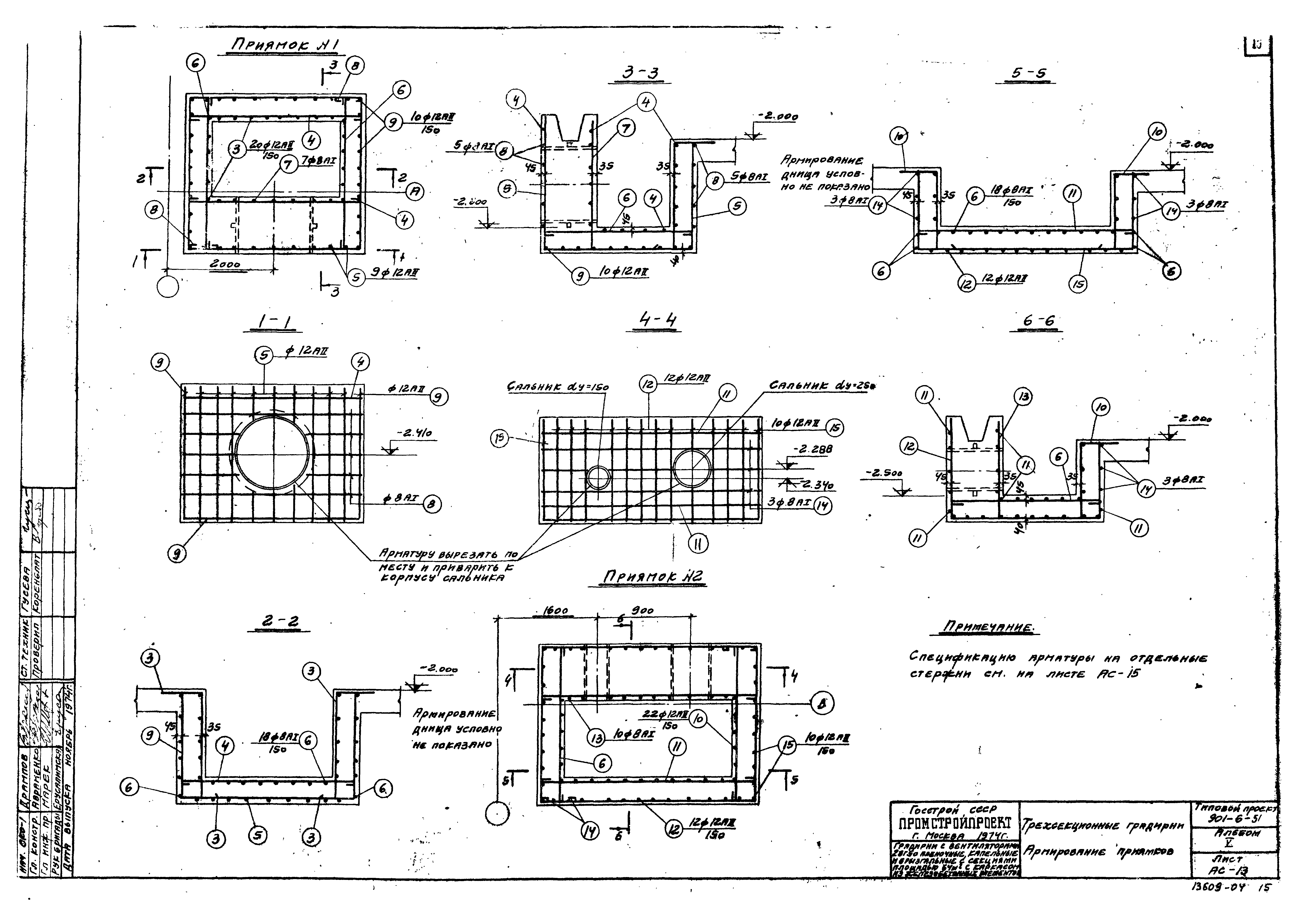
Скачать Типовой проект 901-6-51 Альбом V. Трехсекционные градирниДата актуализации: 10.08.2017 Типовой проект 901-6-51
Альбом V. Трехсекционные градирниОбозначение: | Типовой проект 901-6-51 | Обозначение англ: | 901-6-51 | Статус: | отменен | Название рус.: | Альбом V. Трехсекционные градирни | Дата добавления в базу: | 01.09.2013 | Дата актуализации: | 05.05.2017 | Дата введения: | 01.07.1996 | Разработан: | ЦНИИпроектстальконструкция Союзводоканалниипроект Промстройпроект
| Утверждён: | 12.06.1975 Главпромстройпроект Госстроя СССР (36)
| Расположен в: |
| Заменяет собой: | |
                                    
|