Информационная система
«Ёшкин Кот»

Скачать базу одним архивом
Скачать обновления
История создания базы
Карта сайта

Скачать ГОСТ Р ИСО/ТС 10303-1156-2009 Системы автоматизации производства и их интеграция. Представление данных об изделии и обмен этими данными. Часть 1156. Прикладной модуль. Структура и классификация изделия

Дата актуализации: 10.08.2017

ГОСТ Р ИСО/ТС 10303-1156-2009

Системы автоматизации производства и их интеграция. Представление данных об изделии и обмен этими данными. Часть 1156. Прикладной модуль. Структура и классификация изделия

Обозначение: ГОСТ Р ИСО/ТС 10303-1156-2009
Обозначение англ: GOST R ISO/TS 10303-1156-2009
Статус:действует
Название рус.:Системы автоматизации производства и их интеграция. Представление данных об изделии и обмен этими данными. Часть 1156. Прикладной модуль. Структура и классификация изделия
Название англ.:Industrial automation systems and integration. Product data representation and exchange. Part 1156. Application module. Product structure and classification
Дата добавления в базу:01.09.2013
Дата актуализации:05.05.2017
Дата введения:01.07.2010
Область применения:Стандарт определяет прикладной модуль «Структура и классификация изделия». В область применения стандарта входят: - существование конкретного изделия; - отношение часть-целое между двумя конкретными изделиями; - отношение соединения между двумя конкретными изделиями; - отношение нахождения внутри между двумя конкретными изделиями; - отношение использования конкретного изделия в отношении соединения между двумя конкретными изделиями; - существование класса изделия; - спецификация полной принадлежности к классу изделий или к соответствию между классами; - ссылка на внешне определенный класс изделий или класс отношений между изделиями. В область применения настоящего стандарта не входит: - структура и классификация документации; - структура и классификация деятельности
Оглавление:1 Область применения
2 Нормативные ссылки
3 Термины и определения
   3.1 Термины, определенные в ИСО 10303-1
   3.2 Термин, определенный в ИСО 10303-202
   3.3 Термины, определенные в ИСО/ТС 10303-1001
   3.4 Термин, определенный в ИСО/ТС 10303-1017
   3.5 Термин, определенный в ИСО/ТС 10303-54
4 Информационные требования
   4.1 Прикладные эталонные модели, необходимые для прикладного модуля
   4.2 Определение типов данных прикладной эталонной модели
5 Интерпретированная модель модуля
   5.1 Спецификация отображения
   5.2 Сокращенный листинг интерпретированной модели прикладного модуля на языке ЕХРRЕSS . 9 Приложение А (обязательное) Сокращенные наименования объектов интерпретированной модели прикладного модуля
Приложение А (обязательное) Сокращенные наименования объектов интерпретированной модели прикладного модуля
Приложение В (обязательное) Регистрация информационных объектов
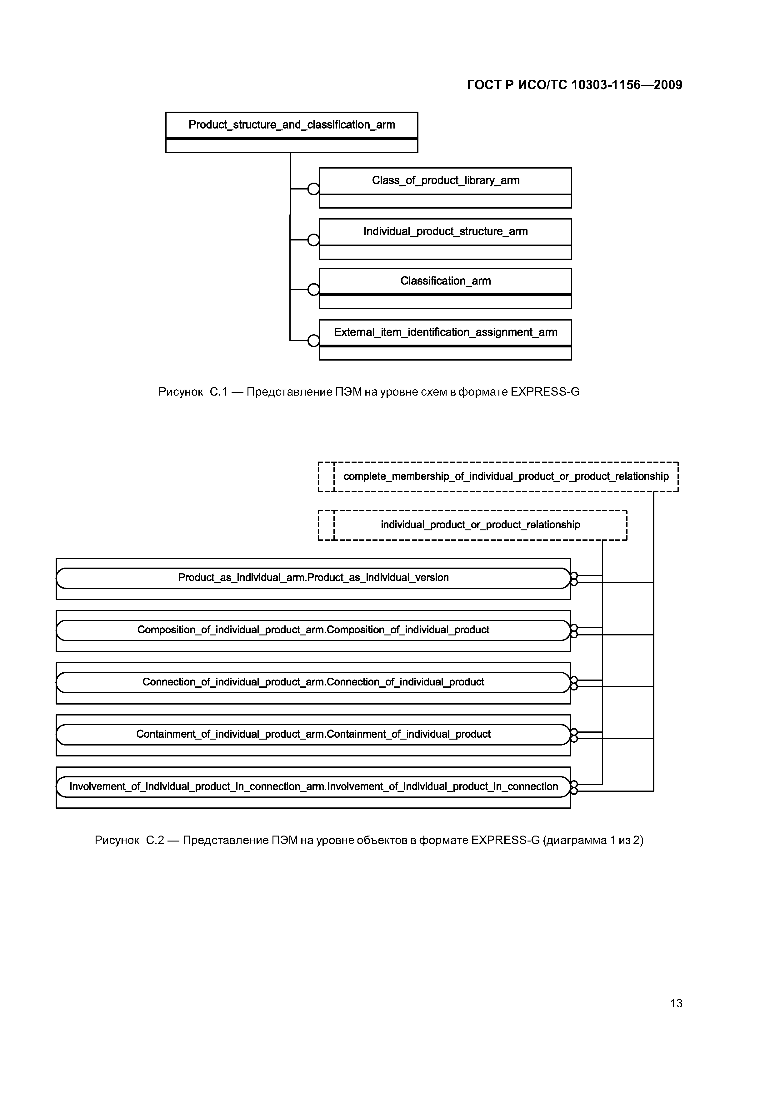
Приложение С (справочное) ЕХРRЕSS-G диаграммы прикладной эталонной модели
Приложение D (справочное) ЕХРRЕSS-G диаграммы интерпретированной модели прикладного модуля
Приложение Е (справочное) Машинно-интерпретируемые листинги
Приложение F (справочное) Сведения о соответствии ссылочных международных стандартов ссылочным национальным стандартам Российской Федерации
Разработан: ООО Корпоративные электронные системы
Утверждён:14.09.2009 Федеральное агентство по техническому регулированию и метрологии (387-ст)
Издан: Стандартинформ (2010 г. )
Расположен в:Техническая документация Электроэнергия МАШИНОСТРОЕНИЕ Промышленные автоматизированные системы Измерение и контроль производственного процесса Экология МАШИНОСТРОЕНИЕ Промышленные автоматизированные системы Измерение и контроль производственного процесса
Нормативные ссылки:
ГОСТ Р ИСО/ТС 10303-1156-2009ГОСТ Р ИСО/ТС 10303-1156-2009ГОСТ Р ИСО/ТС 10303-1156-2009ГОСТ Р ИСО/ТС 10303-1156-2009ГОСТ Р ИСО/ТС 10303-1156-2009ГОСТ Р ИСО/ТС 10303-1156-2009ГОСТ Р ИСО/ТС 10303-1156-2009ГОСТ Р ИСО/ТС 10303-1156-2009ГОСТ Р ИСО/ТС 10303-1156-2009ГОСТ Р ИСО/ТС 10303-1156-2009ГОСТ Р ИСО/ТС 10303-1156-2009ГОСТ Р ИСО/ТС 10303-1156-2009ГОСТ Р ИСО/ТС 10303-1156-2009ГОСТ Р ИСО/ТС 10303-1156-2009ГОСТ Р ИСО/ТС 10303-1156-2009ГОСТ Р ИСО/ТС 10303-1156-2009ГОСТ Р ИСО/ТС 10303-1156-2009ГОСТ Р ИСО/ТС 10303-1156-2009ГОСТ Р ИСО/ТС 10303-1156-2009ГОСТ Р ИСО/ТС 10303-1156-2009ГОСТ Р ИСО/ТС 10303-1156-2009ГОСТ Р ИСО/ТС 10303-1156-2009ГОСТ Р ИСО/ТС 10303-1156-2009

© 2013 Ёшкин Кот :-) Карта сайта