Скачать Серия 4.905-8 Оборудование, узлы и детали наружных газопроводов (подземных и наземных)Дата актуализации: 10.08.2017 Серия 4.905-8
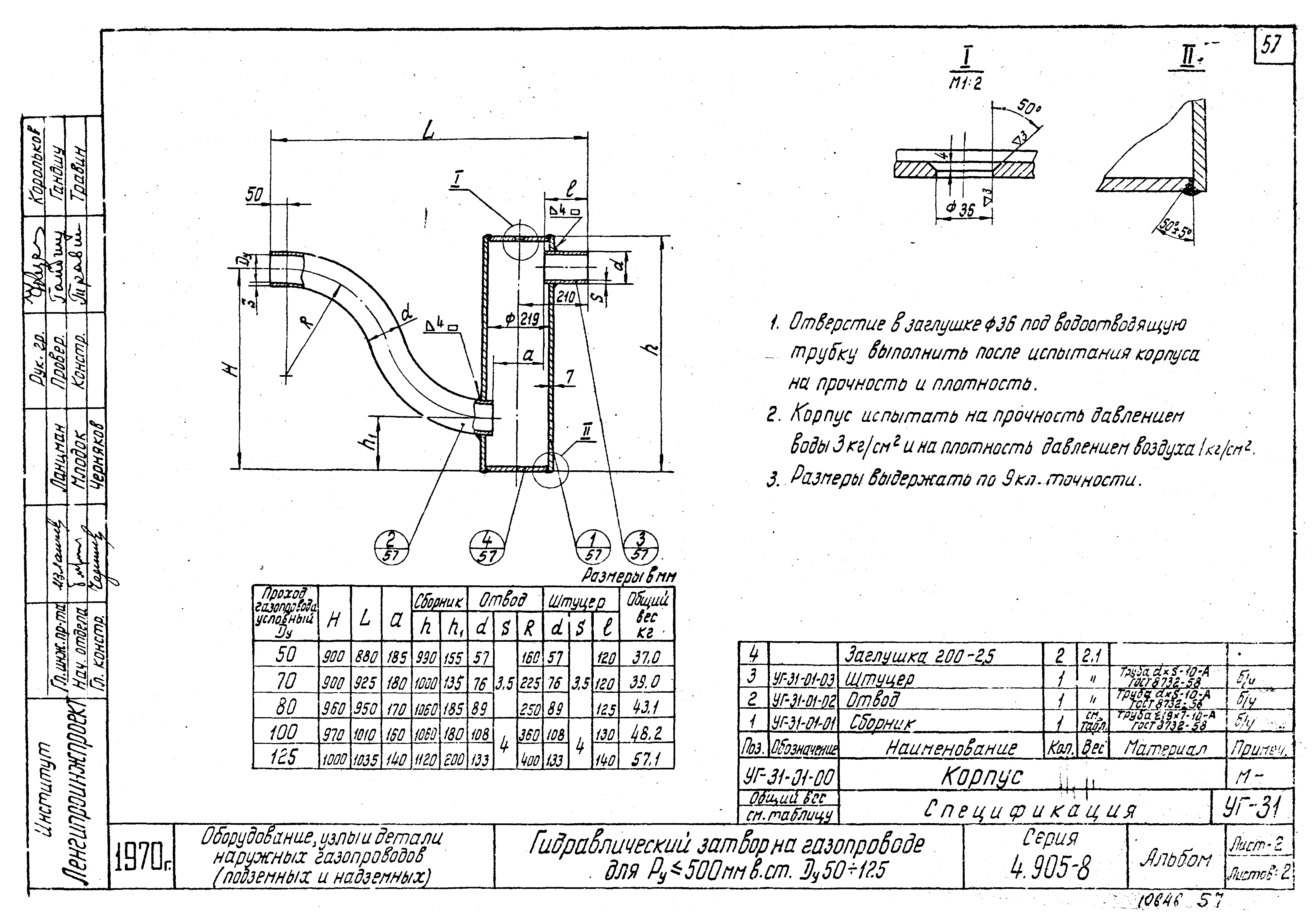
Оборудование, узлы и детали наружных газопроводов (подземных и наземных)Обозначение: | Серия 4.905-8 | Обозначение англ: | Series 4.905-8 | Статус: | не действует | Название рус.: | Оборудование, узлы и детали наружных газопроводов (подземных и наземных) | Дата добавления в базу: | 01.09.2013 | Дата актуализации: | 05.05.2017 | Дата введения: | 01.12.1970 | Дата окончания срока действия: | 01.11.1977 | Разработан: | Ленгипроинжпроект Ленгорисполкома Мосгазпроект
| Утверждён: | 16.09.1970 МосгазНИИпроект (88)
| Расположен в: |
| Чем заменён: | |
                                                                                                                                                                           
|