Информационная система
«Ёшкин Кот»

Скачать базу одним архивом
Скачать обновления
История создания базы
Карта сайта

Скачать ОСТ 24.125.57-89 Бобышки для трубопроводов АЭС. Конструкция и размеры

Дата актуализации: 10.08.2017

ОСТ 24.125.57-89

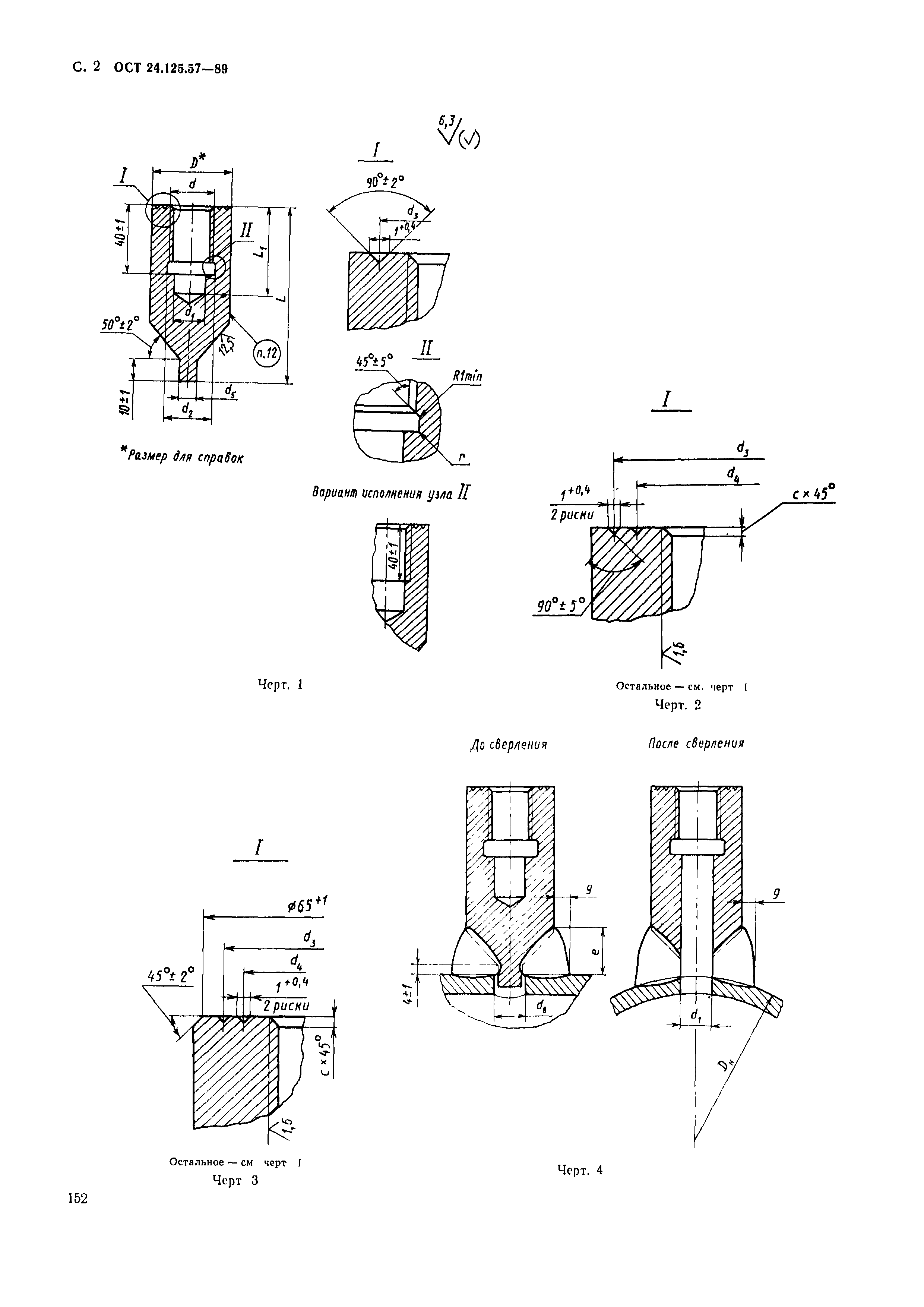
Бобышки для трубопроводов АЭС. Конструкция и размеры

Обозначение: ОСТ 24.125.57-89
Обозначение англ: OST 24.125.57-89
Статус:не определен законодательством
Название рус.:Бобышки для трубопроводов АЭС. Конструкция и размеры
Дата добавления в базу:01.09.2013
Дата актуализации:05.05.2017
Дата введения:01.01.1990
Область применения:Стандарт распространяется на бобышки для трубопроводов АЭС.
Разработан: НПО ЦКТИ им. И.И. Ползунова
Утверждён:26.05.1989 Министерство тяжелого, энергетического и транспортного машиностроения СССР (ВА-002-1/4829)
Принят: Минатомэнерго СССР (USSR Minatomenergo )
Госатомэнергонадзор СССР (USSR Gosatomenergonadzor )
Расположен в:Техническая документация Экология ЭНЕРГЕТИКА И ТЕПЛОТЕХНИКА Атомная энергетика Атомная энергетика, прочие аспекты Строительство Стандарты Отраслевые стандарты и технические условия Отраслевые стандарты
Нормативные ссылки:
ОСТ 24.125.57-89ОСТ 24.125.57-89ОСТ 24.125.57-89ОСТ 24.125.57-89ОСТ 24.125.57-89ОСТ 24.125.57-89

© 2013 Ёшкин Кот :-) Карта сайта