Информационная система
«Ёшкин Кот»

Скачать базу одним архивом
Скачать обновления
История создания базы
Карта сайта

Скачать ОСТ 24.125.52-89 Блоки с диафрагмами для трубопроводов АЭС. Конструкция и размеры

Дата актуализации: 10.08.2017

ОСТ 24.125.52-89

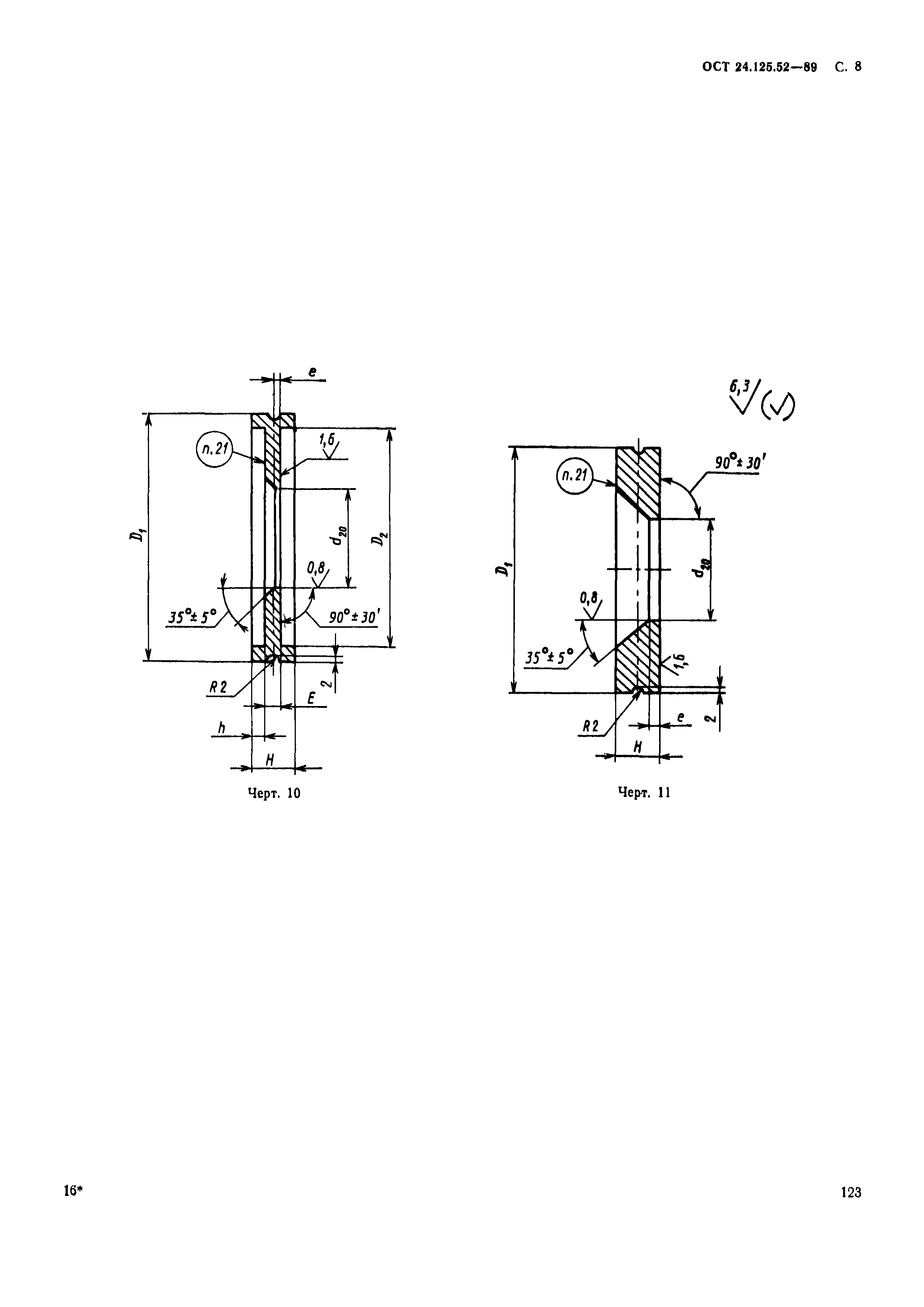
Блоки с диафрагмами для трубопроводов АЭС. Конструкция и размеры

Обозначение: ОСТ 24.125.52-89
Обозначение англ: OST 24.125.52-89
Статус:не определен законодательством
Название рус.:Блоки с диафрагмами для трубопроводов АЭС. Конструкция и размеры
Дата добавления в базу:01.09.2013
Дата актуализации:05.05.2017
Дата введения:01.01.1990
Область применения:Стандарт распространяется на блоки с диафрагмами для трубопроводов АЭС.
Разработан: НПО ЦКТИ им. И.И. Ползунова
Утверждён:26.05.1989 Министерство тяжелого, энергетического и транспортного машиностроения СССР (ВА-002-1/4829)
Принят: Минатомэнерго СССР (USSR Minatomenergo )
Госатомэнергонадзор СССР (USSR Gosatomenergonadzor )
Расположен в:Техническая документация Экология ЭНЕРГЕТИКА И ТЕПЛОТЕХНИКА Атомная энергетика Атомная энергетика, прочие аспекты Строительство Стандарты Отраслевые стандарты и технические условия Отраслевые стандарты
Заменяет собой:
  • ОСТ 24.462.30-74
  • ОСТ 24.462.31-74
  • ОСТ 24.833.06-74
  • ОСТ 24.839.09-74
  • ОСТ 24.839.10-74
Нормативные ссылки:
ОСТ 24.125.52-89ОСТ 24.125.52-89ОСТ 24.125.52-89ОСТ 24.125.52-89ОСТ 24.125.52-89ОСТ 24.125.52-89ОСТ 24.125.52-89ОСТ 24.125.52-89ОСТ 24.125.52-89ОСТ 24.125.52-89ОСТ 24.125.52-89ОСТ 24.125.52-89ОСТ 24.125.52-89ОСТ 24.125.52-89ОСТ 24.125.52-89

© 2013 Ёшкин Кот :-) Карта сайта