Скачать Шифр М24.05/07 Конструкции стен, покрытий и полов с теплоизоляцией из пенополистирольных плит. Материалы для проектирования и рабочие чертежи узловДата актуализации: 10.08.2017 Шифр М24.05/07
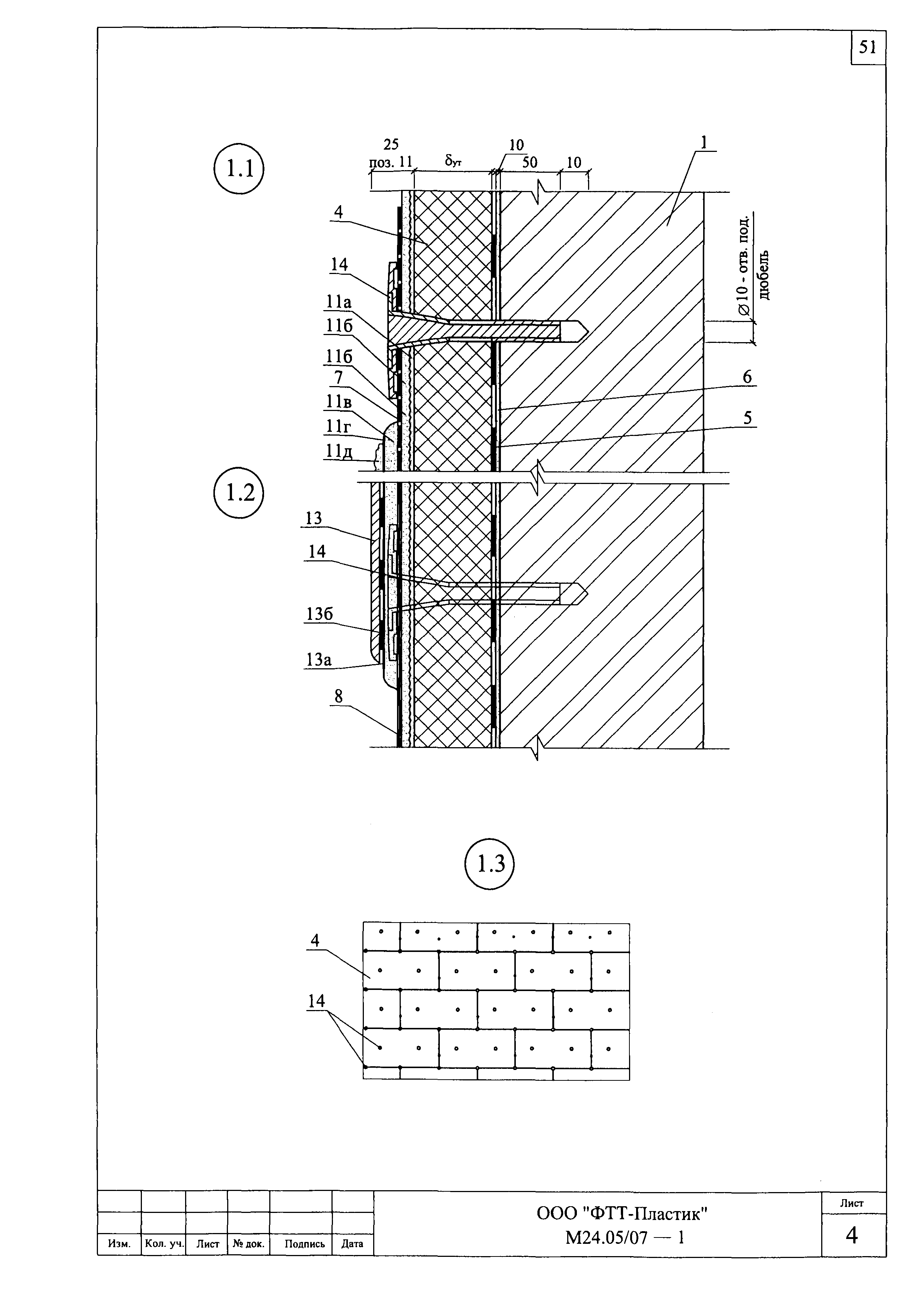
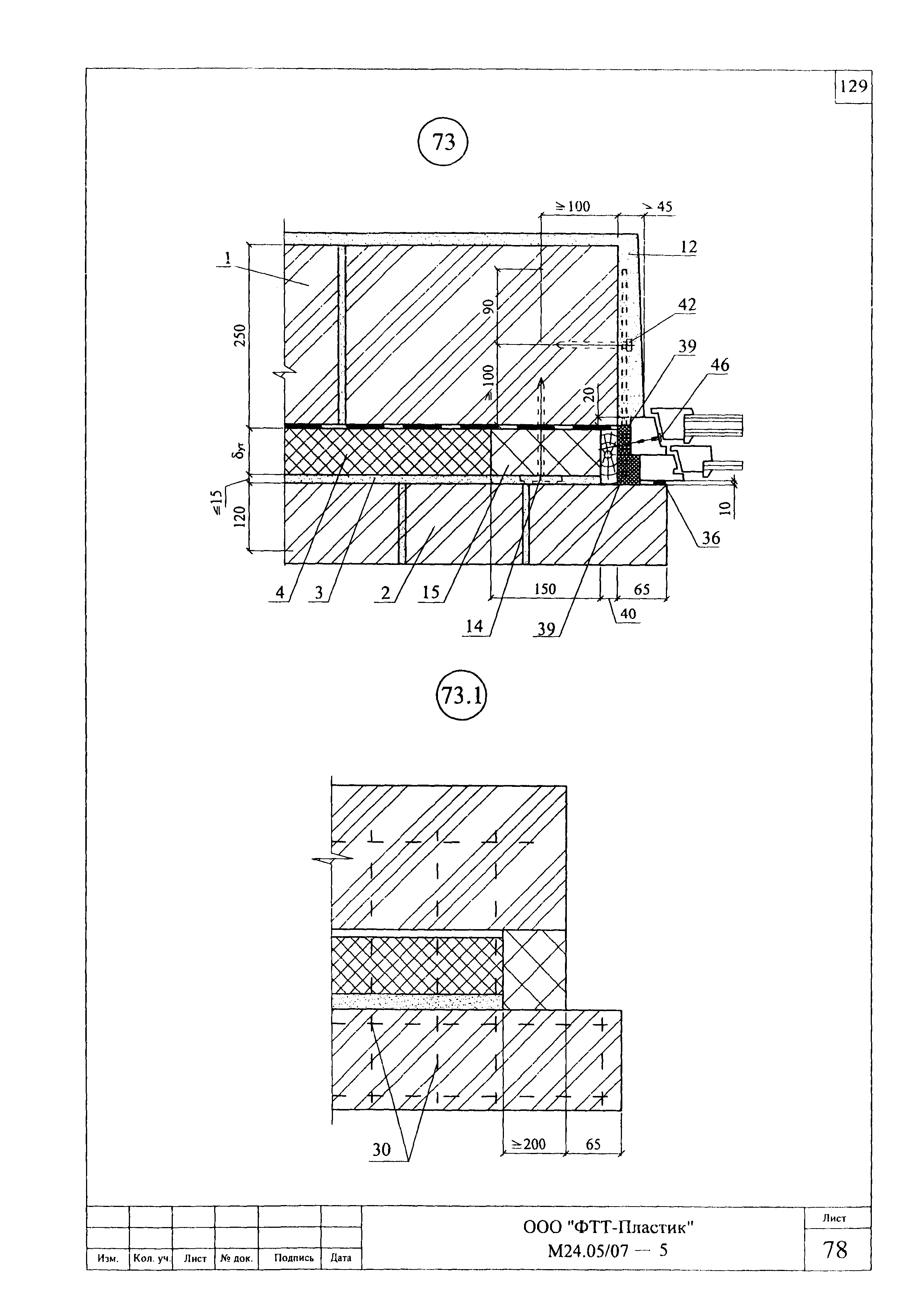
Конструкции стен, покрытий и полов с теплоизоляцией из пенополистирольных плит. Материалы для проектирования и рабочие чертежи узловОбозначение: | Шифр М24.05/07 | Обозначение англ: | М24.05/07 | Статус: | не определен законодательством | Название рус.: | Конструкции стен, покрытий и полов с теплоизоляцией из пенополистирольных плит. Материалы для проектирования и рабочие чертежи узлов | Дата добавления в базу: | 01.09.2013 | Дата актуализации: | 05.05.2017 | Дата введения: | 10.05.2007 | Оглавление: | М24.05/07-ПЗ Пояснительная записка М24.05/07-ПЗ 1. Общие положения М24.05/07-ПЗ 2. Теплоизоляция М24.05/07-ПЗ 3. Нормы теплозащиты и данные по толщине теплоизоляции М24.05/07-ПЗ 4. Конструктивные решения стен М24.05/07-ПЗ 5. Отделка штукатурных фасадов М24.05/07-ПЗ 6. Конструктивные решения покрытий М24.05/07-ПЗ А. Новое строительство М24.05/07-ПЗ Б. Реконструкция М24.05/07-ПЗ 7. Конструктивные решения полов М24.05/07-1-5 Разделы 1-5 Стены М24.05/07-1 Раздел 1 Новое строительство и реконструкция. Защитно-декоративный слой из штукатурки М24.05/07-2 Раздел 2 Новое строительство. Облицовка кирпичом М24.05/07-3 Раздел 3 Реконструкция. Облицовка кирпичом М24.05/07-4 Раздел 4 Самонесущая стена из кирпича с облицовкой кирпичом в здании с несущим каркасом М24.05/07-5 Раздел 5 Самонесущая стена из легкобетонных блоков с облицовкой кирпичом в здании с несущим каркасом М24.05/07-6 Раздел 6 Покрытия М24.05/07-7 Раздел 7 Полы М24.05/07-8 Раздел 8 Изделия комплектующие Приложение 1. Пример расчета повышения теплозащиты стены Приложение 2. Пример расчета парозащиты стены Приложение 3. Пример определения показателя теплоусвоения поверхности пола по СНиП 23-02-2003 Приложение 4. Обеспечение пожарной безопасности при использовании в стенах и покрытиях теплоизоляции из плит пенополистирольных типа ПСБ-С марок 15, 25Ф и 35 Приложение 5. Рекомендации по технологии производства работ при трехслойной кладке стен с применением пенополистирола* | Разработан: | ЦНИИпромзданий
| Утверждён: | 10.05.2007 ЦНИИ промзданий (TsNII promzdaniy )
| Расположен в: |
|
                                                                                                                                                                        
|