Скачать Шифр М25.1/97 Трехслойные кирпичные стены, железобетонные покрытия и полы с теплоизоляцией из пенополистирола Стайрофоум. Материалы для проектирования и рабочие чертежи узловДата актуализации: 10.08.2017 Шифр М25.1/97
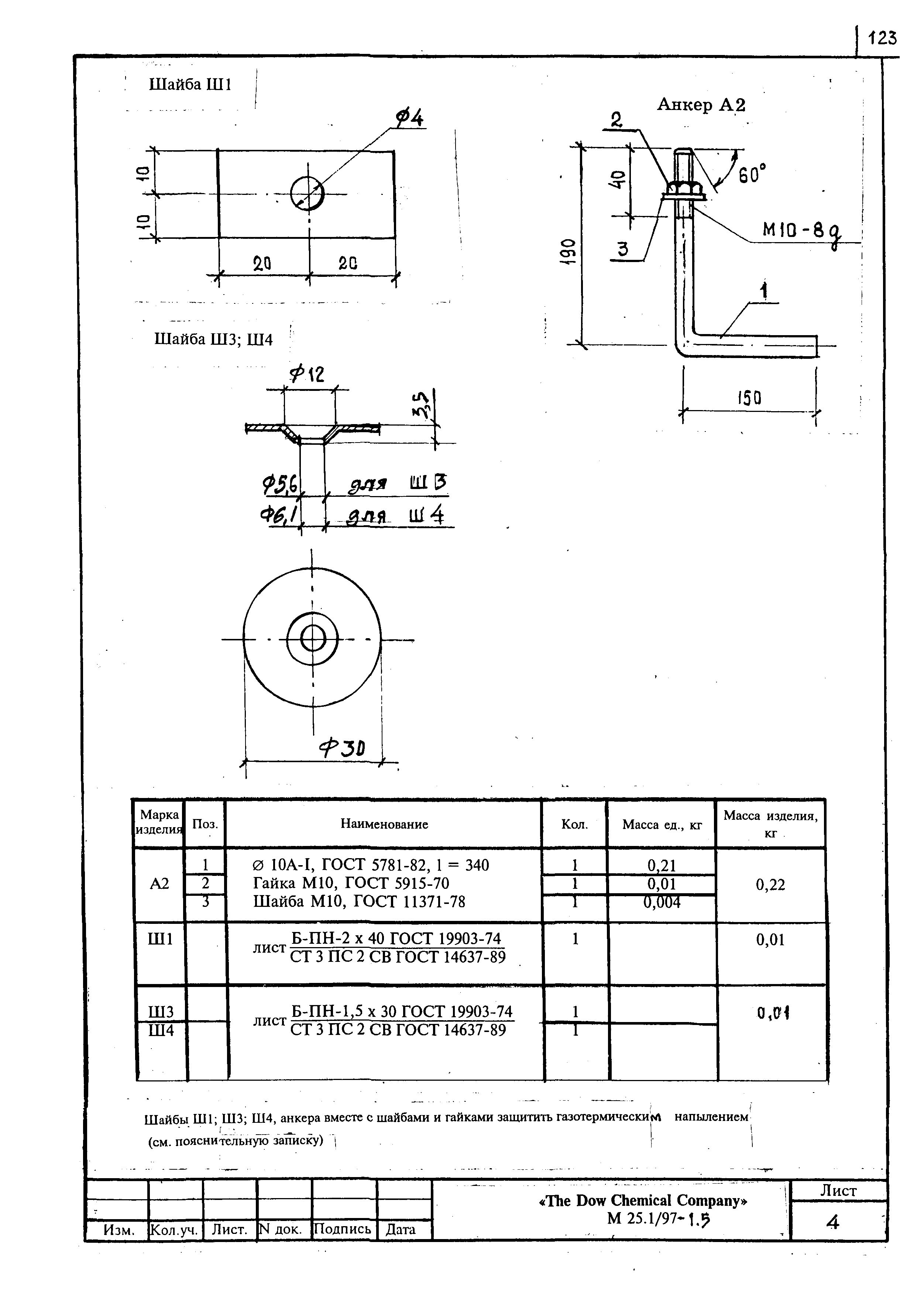
Трехслойные кирпичные стены, железобетонные покрытия и полы с теплоизоляцией из пенополистирола "Стайрофоум". Материалы для проектирования и рабочие чертежи узловОбозначение: | Шифр М25.1/97 | Обозначение англ: | М25.1/97 | Статус: | не действует | Название рус.: | Трехслойные кирпичные стены, железобетонные покрытия и полы с теплоизоляцией из пенополистирола "Стайрофоум". Материалы для проектирования и рабочие чертежи узлов | Дата добавления в базу: | 01.09.2013 | Дата актуализации: | 05.05.2017 | Дата окончания срока действия: | 30.06.2000 | Область применения: | Альбом содержит материалы для проектирования и рабочие чертежи трехслойных кирпичных стен и железобетонных покрытий отапливаемых зданий различного назначения и полов зданий холодильников с теплоизоляцией из плитного экструзионного пенополистирола типа "Стайрофоум", изготавливаемого по технологии фирмы "Дау Кемикл Компани" | Разработан: | ЦНИИпромзданий
| Утверждён: | 01.01.1997 ЦНИИ промзданий (TsNII promzdaniy )
| Расположен в: |
|
                                                                                                                                                              
|