Скачать Типовые материалы для проектирования 407-03-539.90 Альбом 4. Строительные конструкции. Стальные изделияДата актуализации: 10.08.2017 Типовые материалы для проектирования 407-03-539.90
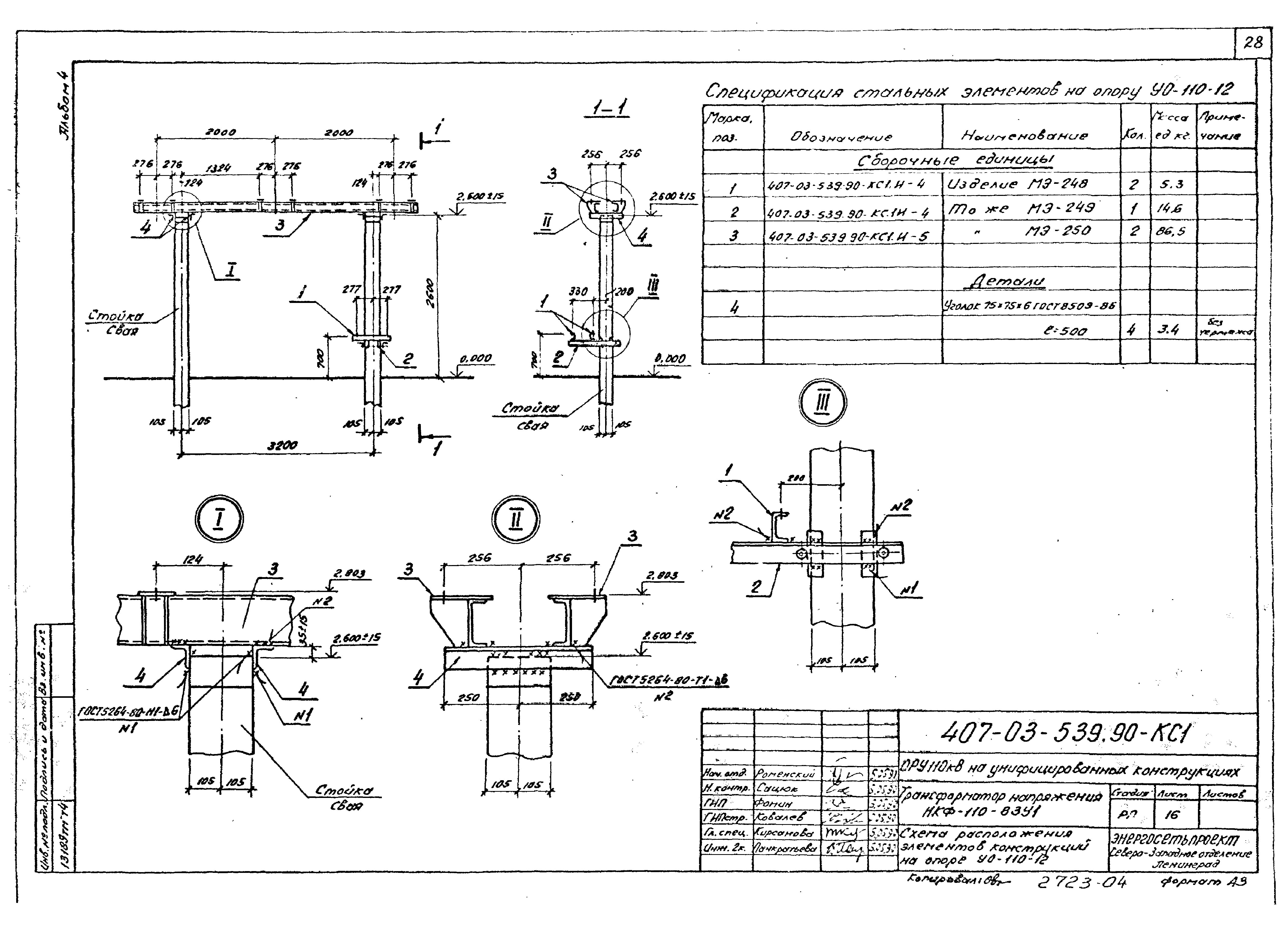
Альбом 4. Строительные конструкции. Стальные изделияОбозначение: | Типовые материалы для проектирования 407-03-539.90 | Обозначение англ: | 407-03-539.90 | Статус: | cправочные материалы, мп, тпр | Название рус.: | Альбом 4. Строительные конструкции. Стальные изделия | Дата добавления в базу: | 01.09.2013 | Дата актуализации: | 05.05.2017 | Дата введения: | 30.05.1990 | Оглавление: | Пояснительная записка Таблица усилий в железобетонных стойках опор под оборудование Таблица вариантов железобетонных элементов опор под оборудование Строительные конструкции Выключатель ВМТ-110Б-25/1250 УХЛ1, ВМТ-110Б-40/2000 УХЛ1. Схема расположения элементов конструкций на опоре УО-110-1 (h = 1,5 м) Выключатель ВМТ-110Б-25/1250 УХЛ1, ВМТ-110Б-40/2000 УХЛ1. Схема расположения элементов конструкций на опоре УО-110-2 (h = 2,7 м) Выключатель ВМТ-110Б-25/1250 УХЛ1, ВМТ-110Б-40/2000 УХЛ1. Схема расположения элементов конструкций на опоре УО-110-2 (h = 2,7 м). Узлы II - IV Выключатель ВВБК-110Б-50/3150 У1. Схема расположения элементов конструкций на опоре УО-110-3 Выключатель ВВБК-110Б-50/3150 У1. Схема расположения элементов конструкций на опоре УО-110-3. Разрезы. Узлы Отделитель ОДЗ-1-110/1000 УХЛ1 с приводами ПРО-1У1 и ПР-180-У1. Схема расположения элементов конструкций на опоре УО-110-4 Отделитель ОДЗ-1-110/1000 УХЛ1 с приводами ПРО-1У1 и ПР-180-У1. Схема расположения элементов конструкций на опоре УО-110-4. Узлы II - IV Короткозамыкатель КЗ-110 УХЛ1. Схема расположения элементов конструкций на опоре УО-110-5 Короткозамыкатель КЗ-110 УХЛ1. Схема расположения элементов конструкций на опоре УО-110-5. Узлы II, III Однополюсный разъединитель РДЗ-110/2000 УХЛ1 с приводом ПР-У1. Схема расположения элементов конструкций на опоре УО-110-6 Трехполюсный разъединитель РДЗ-110/1000(2000) УХЛ1 с приводом ПР-У1. Схема расположения элементов конструкций на опоре УО-110-7 Разъединитель РДЗ-СК-110/1000 УХЛ1 с приводом ПР-У1. Схема расположения элементов конструкций на опоре УО-110-8 Трансформатор тока ТФЗМ-110Б-IУ1, ТФЗМ-110Б-IIIУ1, ТФЗМ-110Б-IVУ1. Схема расположения элементов конструкций на опоре УО-110-9 (h = 2,8 м) Трансформатор тока ТФЗМ-110Б-IУ1, ТФЗМ-110Б-IIIУ1, ТФЗМ-110Б-IVУ1. Схема расположения элементов конструкций на опоре УО-110-10 (h = 5,4 м) Трансформатор напряжения НКФ-110-ВЗУ1. Схема расположения элементов конструкций на опоре УО-110-11 Трансформатор напряжения НКФ-110-ВЗУ1. Схема расположения элементов конструкций на опоре УО-110-12 Трансформатор напряжения НКФ-110-ВЗУ1. Схема расположения элементов конструкций на опоре УО-110-13 Разрядник РВМГ-110м. Схема расположения элементов конструкций на опоре УО-110-14 Разрядник РВС-110м. Схема расположения элементов конструкций на опоре УО-110-15 Шинная опора ШО-110-У1. Схема расположения элементов конструкций на опоре УО-110-16 (h = 2,93 м) Шинная опора ШО-110-У1. Схема расположения элементов конструкций на опоре УО-110-17 (h = 3,5 м) Две шинные опоры ШО-110-У1. Схема расположения элементов конструкций на опоре УО-110-18 Три шинные опоры ШО-110-У1. Схема расположения элементов конструкций на опоре УО-110-19 Конденсатор связи СМП-110/V3-6,4У1. Схема расположения элементов конструкций на опоре УО-110-20 Конденсатор связи СМП-110/V3-6,4У1 с фильтром присоединения ФПМ. Схема расположения элементов конструкций на опоре УО-110-21 Конденсатор связи СМП-110/V3-6,4У1 со шкафом отбора напряжения ШОН. Схема расположения элементов конструкций на опоре УО-110-22 Высокочастотный заградитель ВЗ-1250-0,5У1 на шинных опорах ШО-110У1. Схема расположения элементов конструкций на опоре УО-110-23 Типы закреплений опор под оборудование Схема расположения элементов конструкций ячейкового портала ПЖС-110Я13 Схема расположения элементов конструкций ячейкового портала ПЖС-110Я14 Схема расположения элементов конструкций ячейкового портала ПЖС-110Я15 Схема расположения элементов конструкций ячейкового портала ПЖС-110Я16 Схема расположения элементов конструкций ячейкового портала ПЖС-110Я17 Схема расположения элементов конструкций ячейкового портала ПЖС-110Я16. Спецификация Схема расположения элементов конструкций ячейкового портала ПЖС-110Я17. Спецификация Схема расположения элементов конструкций ячейкового портала ПЖС-110Я18 Схема расположения элементов конструкций ячейкового портала ПЖС-110Я19 Схема расположения элементов конструкций ячейкового портала ПЖС-110Я18. Спецификация Схема расположения элементов конструкций ячейкового портала ПЖС-110Я19. Спецификация Схема расположения элементов конструкций ячейкового портала ПСЛ-110Я13 Схема расположения элементов конструкций ячейкового портала ПСЛ-110Я14 Схема расположения элементов конструкций ячейкового портала ПСЛ-110Я15 Схема расположения элементов конструкций ячейкового портала ПСЛ-110Я16 Схема расположения элементов конструкций ячейкового портала ПСЛ-110Я17 Схема расположения элементов конструкций ячейкового портала ПСЛ-110Я16. Спецификация Схема расположения элементов конструкций ячейкового портала ПСЛ-110Я17. Спецификация Схема расположения элементов конструкций ячейкового портала ПСЛ-110Я18 Схема расположения элементов конструкций ячейкового портала ПСЛ-110Я19 Схема расположения элементов конструкций ячейкового портала ПСЛ-110Я18. Спецификация Схема расположения элементов конструкций ячейкового портала ПСЛ-110Я19. Спецификация Схема расположения элементов конструкций ячейкового портала ПСТ-110Я13 Схема расположения элементов конструкций ячейкового портала ПСТ-110Я14 Схема расположения элементов конструкций ячейкового портала ПСТ-110Я15 Схема расположения элементов конструкций ячейкового портала ПСТ-110Я16 Схема расположения элементов конструкций ячейкового портала ПСТ-110Я17 Схема расположения элементов конструкций ячейкового портала ПСТ-110Я16. Спецификация Схема расположения элементов конструкций ячейкового портала ПСТ-110Я17. Спецификация Схема расположения элементов конструкций ячейкового портала ПСТ-110Я18 Схема расположения элементов конструкций ячейкового портала ПСТ-110Я19 Схема расположения элементов конструкций ячейкового портала ПСТ-110Я18. Спецификация Схема расположения элементов конструкций ячейкового портала ПСТ-110Я19. Спецификация Стальные изделия Изделие МЭ-111, МЭ-111а Изделие МЭ-240 Изделие МЭ-241…МЭ-246 Изделие МЭ-247…МЭ-249 Изделие МЭ-250…МЭ-253 Изделие МЭ-254, МЭ-279 | Разработан: | Северо-западное отделение института Энергосетьпроект
| Утверждён: | 30.05.1990 Минэнерго СССР (USSR Minenergo 37)
| Издан: | Энергосетьпроект (1990 г. )
| Расположен в: |
| Заменяет собой: | |
                                                                        
|