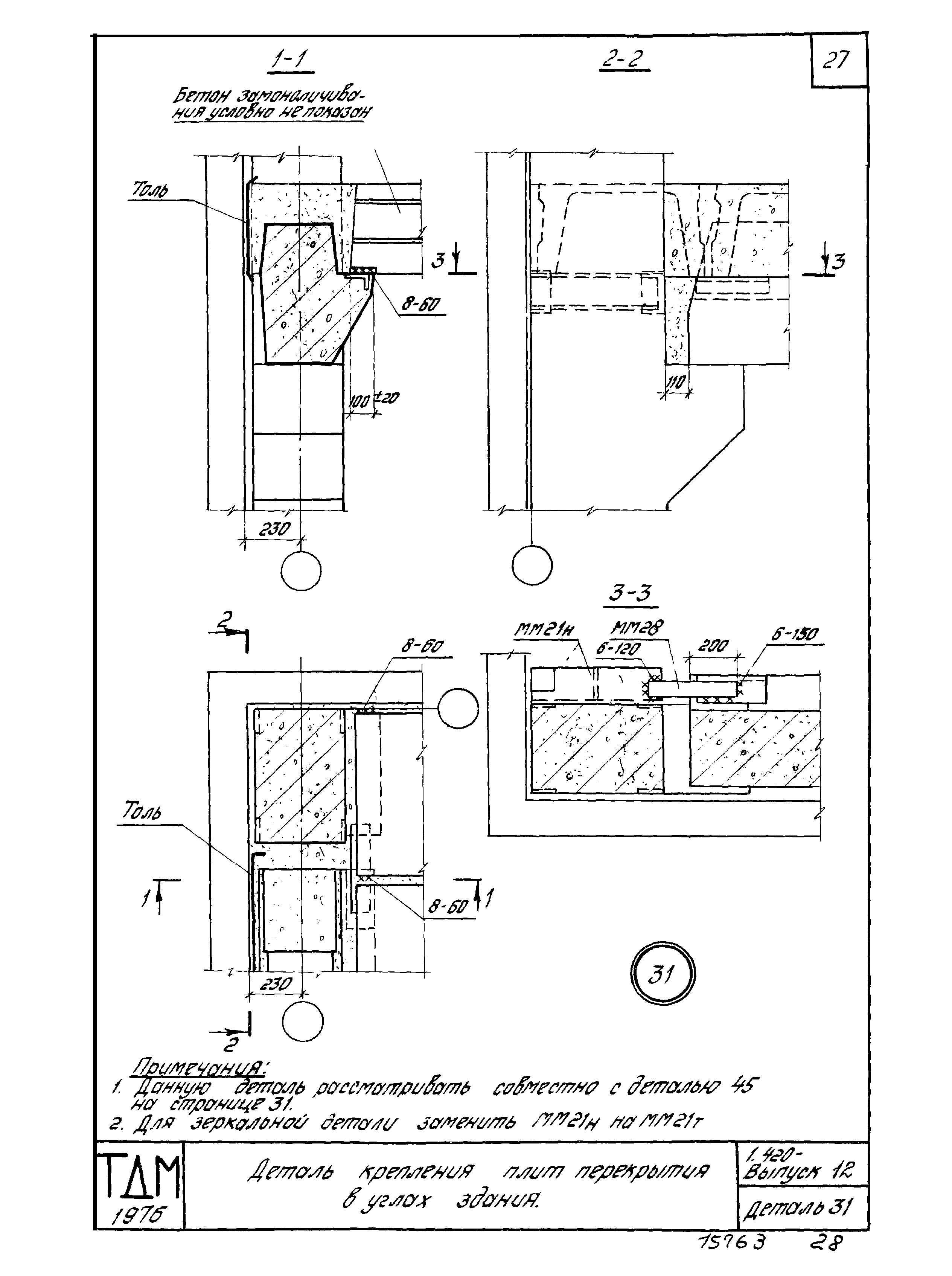
Скачать Серия 1.420-12 Выпуск 12. Детали сопряжений плит перекрытий типа 1 с опиранием на полки ригелейДата актуализации: 10.08.2017 Серия 1.420-12
Выпуск 12. Детали сопряжений плит перекрытий типа 1 с опиранием на полки ригелей| Обозначение: | Серия 1.420-12 | | Обозначение англ: | Series 1.420-12 | | Статус: | не действует | | Название рус.: | Выпуск 12. Детали сопряжений плит перекрытий типа 1 с опиранием на полки ригелей | | Дата добавления в базу: | 01.09.2013 | | Дата актуализации: | 05.05.2017 | | Дата введения: | 01.03.1979 | | Дата окончания срока действия: | 01.10.1998 | | Разработан: | ЦНИИпромзданий НИИЖБ
| | Утверждён: | 26.09.1978 Госстрой СССР (Государственный комитет Совета Министров СССР по делам строительства) (USSR Gosstroy 186)
| | Расположен в: |
| | Заменяет собой: | | | Чем заменён: | |
                                
|