Информационная система
«Ёшкин Кот»

Скачать базу одним архивом
Скачать обновления
История создания базы
Карта сайта

Скачать Серия 3.818.9-2 Выпуск 4/91. Лотки железобетонные каналов навозоудаления свиноводческих зданий и зданий крупного рогатого скота. Рабочие чертежи

Дата актуализации: 10.08.2017

Серия 3.818.9-2

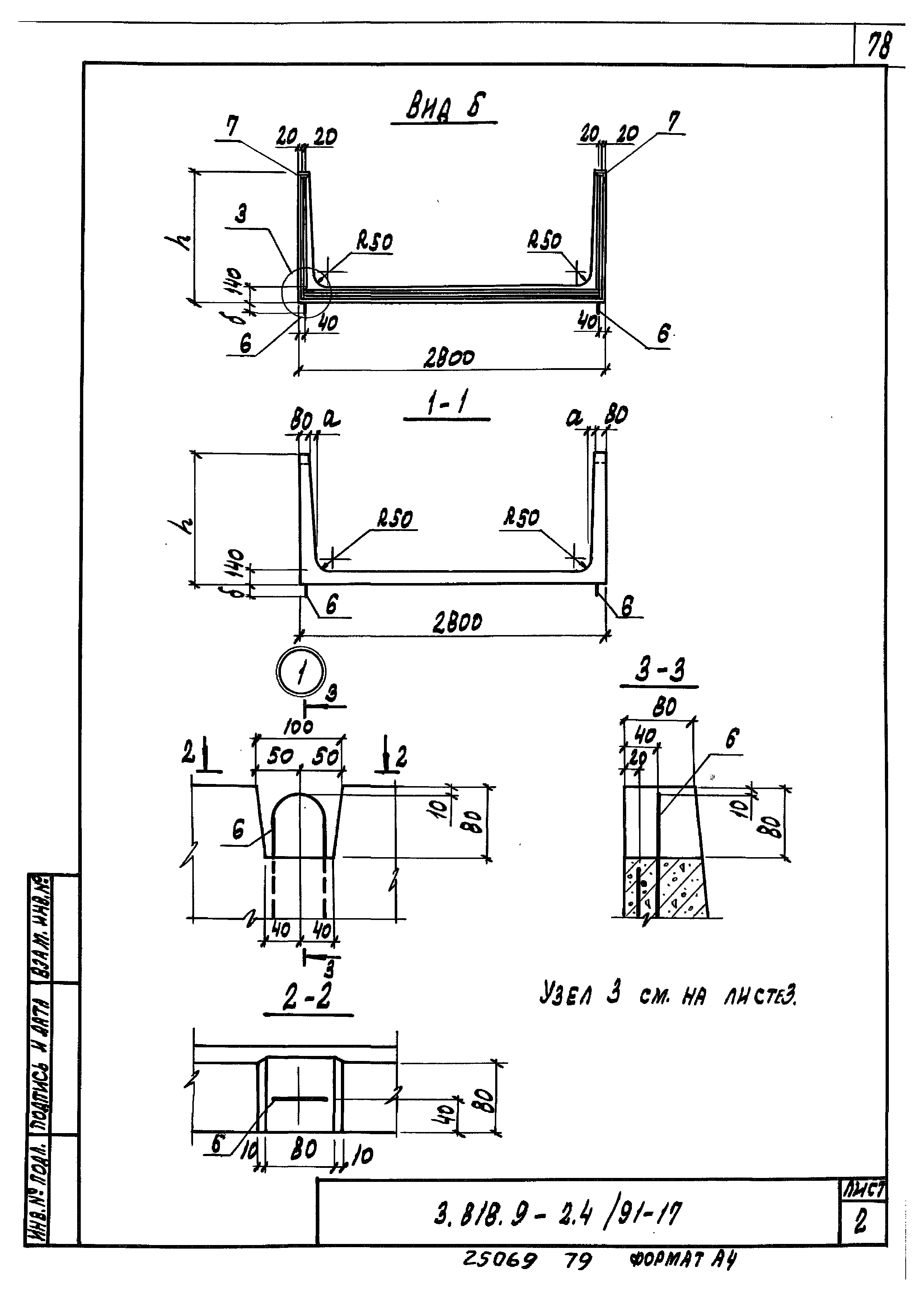
Выпуск 4/91. Лотки железобетонные каналов навозоудаления свиноводческих зданий и зданий крупного рогатого скота. Рабочие чертежи

Обозначение: Серия 3.818.9-2
Обозначение англ: Series 3.818.9-2
Статус:не определен законодательством
Название рус.:Выпуск 4/91. Лотки железобетонные каналов навозоудаления свиноводческих зданий и зданий крупного рогатого скота. Рабочие чертежи
Дата добавления в базу:01.09.2013
Дата актуализации:05.05.2017
Дата введения:17.04.1991
Оглавление:3.818.9-2.4/91-ТТ Технические требования
3.818.9-2.4/91-1 Лоток 1ЛК298.55.24;1ЛК73.55.24
3.818.9-2.4/91-2 Лоток 1ЛК597.55.50;1ЛК73.55.50
3.818.9-2.4/91-3 Лоток 1ЛК597.70.50;1ЛК73.70.50
3.818.9-2.4/91-4 Лоток 1ЛК298.115.90;1ЛК98.115.90
3.818.9-2.4/91-5 Лоток 1ЛК298.120.53
3.818.9-2.4/91-6 Лоток 1ЛК298.55.50
3.818.9-2.4/91-7 Лоток 1ЛК298.70.45
3.818.9-2.4/91-8 Лоток 1ЛК298.140.50;1ЛК298.160.52;1ЛК298.180.52;1ЛК298.200.52
3.818.9-2.4/91-9 Лоток 1ЛК298.198.240.54
3.818.9-2.4/91-10 Лоток 1ЛК298.198.260.70;1ЛК198.280.70
3.818.9-2.4/91-11 Лоток 2ЛК597.55.75;2ЛК597.55.50;2ЛК73.55.75;2ЛК73.55.50
3.818.9-2.4/91-12 Лоток 2ЛК597.70.50;2ЛК73.70.50;2ЛК597.70.75;2ЛК298.70.75;2ЛК298.70.75;2ЛК73.70.75;2ЛК597.70.100;2ЛК298.70.100;2ЛК73.70.100
3.818.9-2.4/91-13 Лоток 2ЛК598.100.50;2ЛК73.100.50;2ЛК298.100.75;2ЛК73.100.75;2ЛК298.100.100;2ЛК73.100.100
3.818.9-2.4/91-14 Лоток 3ЛК298.100.75;3ЛК73.100.75;3ЛК298.100.100;3ЛК73.100.100
3.818.9-2.4/91-15 Лоток 3ЛК298.140.75;3ЛК73.140.75;3ЛК298.140.100;3ЛК73.140.100
3.818.9-2.4/91-16 Лоток 3ЛК298.180.75;3ЛК73.180.75;3ЛК298.180.100;3ЛК73.180.100
3.818.9-2.4/91-17 Лоток 3ЛК198.280.100;3ЛК198.280.125
3.818.9-2.4/91-18 Сетка С1,С2
3.818.9-2.4/91-19 Сетка С3,С4
3.818.9-2.4/91-20 Сетка С5,С6
3.818.9-2.4/91-21 Сетка С7,С8
3.818.9-2.4/91-22 Сетка С9
3.818.9-2.4/91-23 Сетка С10
3.818.9-2.4/91-24 Сетка С11
3.818.9-2.4/91-25 Сетка С12…С14
3.818.9-2.4/91-26 Сетка С15
3.818.9-2.4/91-27 Сетка С16
3.818.9-2.4/91-28 Сетка С17,С18
3.818.9-2.4/91-29 Сетка С19,С20
3.818.9-2.4/91-30 Сетка С21...С23
3.818.9-2.4/91-31 Сетка С24,С25
3.818.9-2.4/91-32 Сетка С26...С28
3.818.9-2.4/91-33 Сетка С29...С31
3.818.9-2.4/91-34 Сетка С32...С34
3.818.9-2.4/91-35 Сетка С35,С36
3.818.9-2.4/91-36 Сетка С37,С38
3.818.9-2.4/91-37 Сетка С39,С40
3.818.9-2.4/91-38 Сетка С41,С42
3.818.9-2.4/91-39 Сетка С43,С44
3.818.9-2.4/91-40 Изделие закладное М1,М2
3.818.9-2.4/91-41 Изделие закладное М3
3.818.9-2.4/91-42 Изделие закладное М4
3.818.9-2.4/91-43 Петля ПМ1…ПМ19
3.818.9-2.4/91-РС Ведомость расхода стали
Разработан: ЦНИИЭПсельстрой
ГипроНИсельхоз (Институт Гипронисельхоз )
Утверждён:12.02.1991 Совет Министров СССР (USSR Cabinet of Ministers 070-81/70)
Расположен в:Техническая документация Строительство Справочные документы Типовые строительные конструкции, изделия и узлы Общероссийский строительный каталог Сельскохозяйственные предприятия, здания и сооружения Разные сельскохозяйственные здания и сооружения Конструкции, изделия, узлы и детали Строительные конструкции, изделия и узлы зданий и сооружений для всех видов строительства Конструкции и изделия сооружений и оборудования зданий Надземные сооружения Разные сооружения
Серия 3.818.9-2Серия 3.818.9-2Серия 3.818.9-2Серия 3.818.9-2Серия 3.818.9-2Серия 3.818.9-2Серия 3.818.9-2Серия 3.818.9-2Серия 3.818.9-2Серия 3.818.9-2Серия 3.818.9-2Серия 3.818.9-2Серия 3.818.9-2Серия 3.818.9-2Серия 3.818.9-2Серия 3.818.9-2Серия 3.818.9-2Серия 3.818.9-2Серия 3.818.9-2Серия 3.818.9-2Серия 3.818.9-2Серия 3.818.9-2Серия 3.818.9-2Серия 3.818.9-2Серия 3.818.9-2Серия 3.818.9-2Серия 3.818.9-2Серия 3.818.9-2Серия 3.818.9-2Серия 3.818.9-2Серия 3.818.9-2Серия 3.818.9-2Серия 3.818.9-2Серия 3.818.9-2Серия 3.818.9-2Серия 3.818.9-2Серия 3.818.9-2Серия 3.818.9-2Серия 3.818.9-2Серия 3.818.9-2Серия 3.818.9-2Серия 3.818.9-2Серия 3.818.9-2Серия 3.818.9-2Серия 3.818.9-2Серия 3.818.9-2Серия 3.818.9-2Серия 3.818.9-2Серия 3.818.9-2Серия 3.818.9-2Серия 3.818.9-2Серия 3.818.9-2Серия 3.818.9-2Серия 3.818.9-2Серия 3.818.9-2Серия 3.818.9-2Серия 3.818.9-2Серия 3.818.9-2Серия 3.818.9-2Серия 3.818.9-2Серия 3.818.9-2Серия 3.818.9-2Серия 3.818.9-2Серия 3.818.9-2Серия 3.818.9-2Серия 3.818.9-2Серия 3.818.9-2Серия 3.818.9-2Серия 3.818.9-2Серия 3.818.9-2Серия 3.818.9-2Серия 3.818.9-2Серия 3.818.9-2Серия 3.818.9-2Серия 3.818.9-2Серия 3.818.9-2Серия 3.818.9-2Серия 3.818.9-2Серия 3.818.9-2Серия 3.818.9-2Серия 3.818.9-2Серия 3.818.9-2Серия 3.818.9-2Серия 3.818.9-2Серия 3.818.9-2Серия 3.818.9-2Серия 3.818.9-2Серия 3.818.9-2Серия 3.818.9-2Серия 3.818.9-2Серия 3.818.9-2Серия 3.818.9-2Серия 3.818.9-2Серия 3.818.9-2Серия 3.818.9-2Серия 3.818.9-2Серия 3.818.9-2Серия 3.818.9-2Серия 3.818.9-2Серия 3.818.9-2Серия 3.818.9-2Серия 3.818.9-2Серия 3.818.9-2Серия 3.818.9-2Серия 3.818.9-2Серия 3.818.9-2Серия 3.818.9-2Серия 3.818.9-2Серия 3.818.9-2Серия 3.818.9-2Серия 3.818.9-2Серия 3.818.9-2Серия 3.818.9-2

© 2013 Ёшкин Кот :-) Карта сайта