Скачать ОСТ 32.100-87 Ультразвуковой контроль швов сварных соединений мостов, локомотивов и вагоновДата актуализации: 10.08.2017 ОСТ 32.100-87
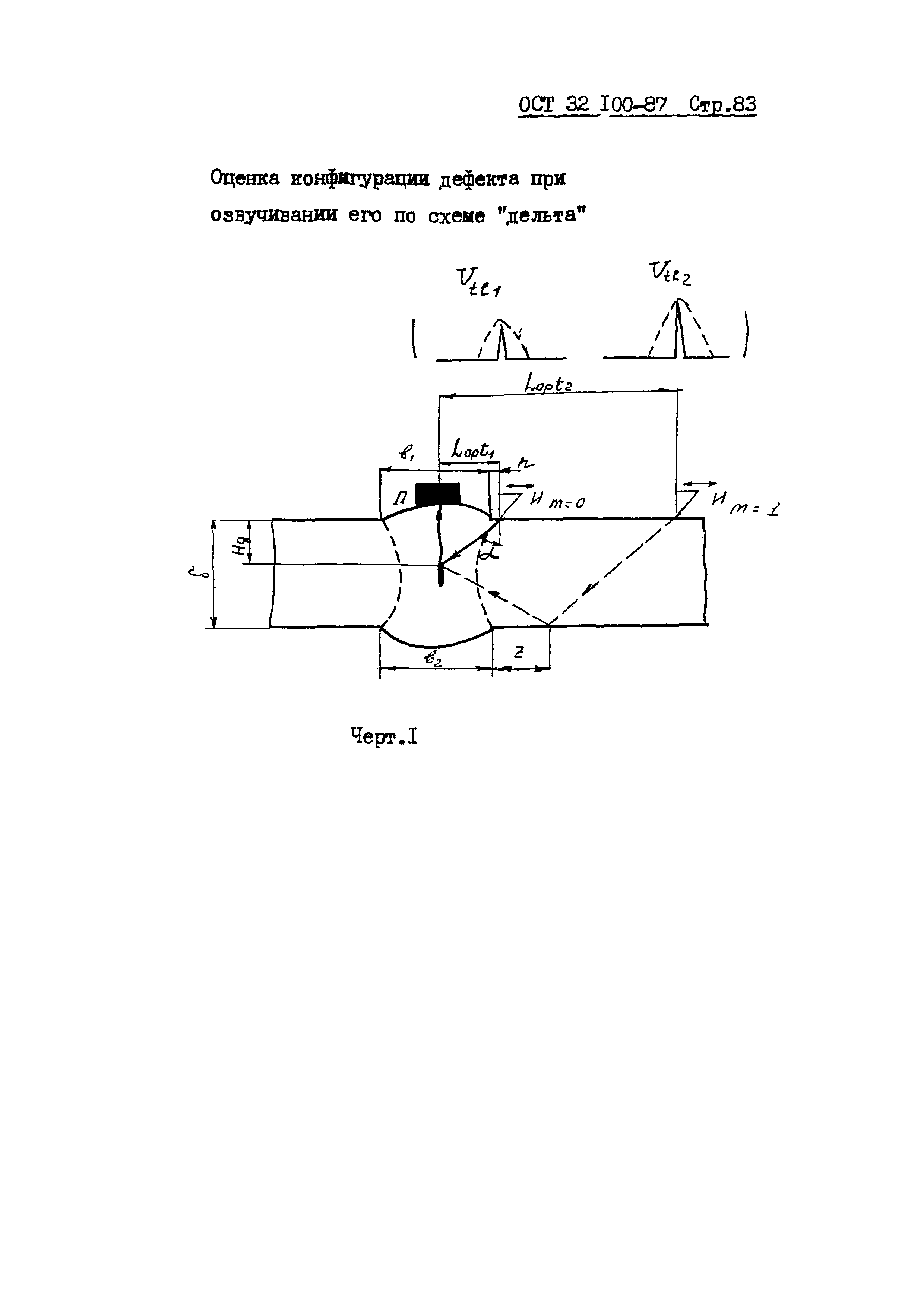
Ультразвуковой контроль швов сварных соединений мостов, локомотивов и вагоновОбозначение: | ОСТ 32.100-87 | Обозначение англ: | OST 32.100-87 | Статус: | не определен законодательством | Название рус.: | Ультразвуковой контроль швов сварных соединений мостов, локомотивов и вагонов | Дата добавления в базу: | 01.09.2013 | Дата актуализации: | 05.05.2017 | Дата введения: | 30.06.2003 | Область применения: | Стандарт распространяется на ультразвуковой контроль швов сварных соединений в железнодорожных мостах, локомотивах и вагонах в условиях их изготовления, монтажа, эксплуатации и ремонта. | Оглавление: | 1. Общие положения 1.1 Объём и формы применения ультразвукового контроля 1.2 Условия и порядок введения ультразвукового контроля 1.3 Квалификация специалистов по ультразвуковому контролю 1.4 Организация работ по контролю 2. Аппаратура 3. Подготовка к контролю 3.1 Подготовка аппаратуры 3.2 Подготовка сварного соединения и контролю и выбор параметров контроля 3.3 Размещение аппаратуры и настройка дефектоскопа 4. Проведение контроля 5. Оценка качества швов сварных соединений 6. Оформление результатов контроля 7. Требования безопасности Приложения | Разработан: | МПС России
| Утверждён: | 25.11.1987 МПС (Ministry of Railroads Д-5966у)
| Расположен в: |
| Нормативные ссылки: | |
                                                                                                                  
|