Информационная система
«Ёшкин Кот»

Скачать базу одним архивом
Скачать обновления
История создания базы
Карта сайта

Скачать Рекомендации по расчету фундаментов глубокого заложения опор мостов

Дата актуализации: 10.08.2017

Рекомендации по расчету фундаментов глубокого заложения опор мостов

Статус:не действует
Название рус.:Рекомендации по расчету фундаментов глубокого заложения опор мостов
Дата добавления в базу:01.09.2013
Дата актуализации:05.05.2017
Оглавление:Предисловие
   1. Общие положения расчета фундаментов глубокого заложения
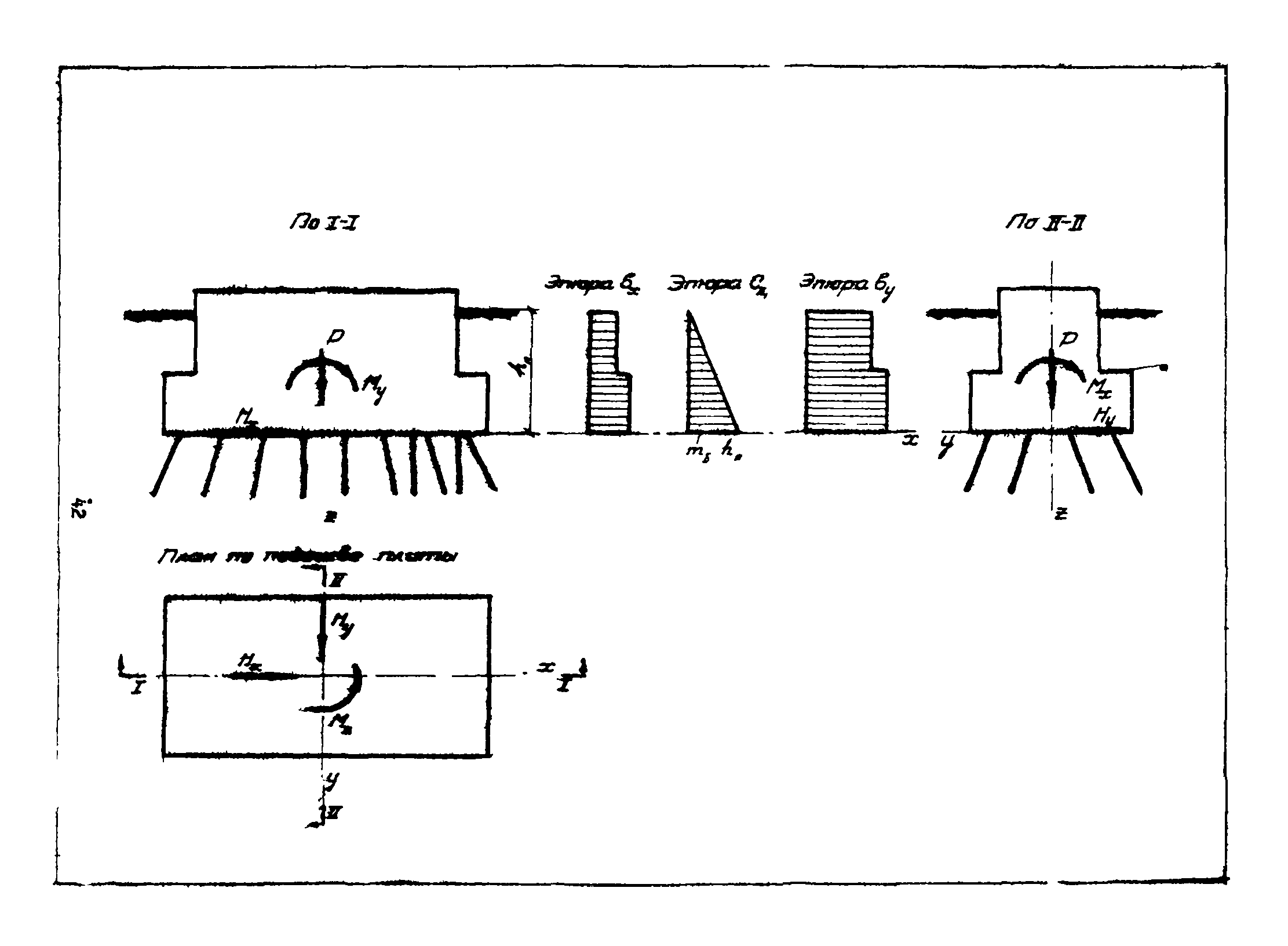
   2. Основные положения расчета ростверков
   3. Расчет однорядных высоких ростверков на нагрузки, действующие в плоскости, перпендикулярной плоскости ряда
   4. Общий случай расчета ростверков по плоским расчетным схемам
   5. Пространственный расчет симметричных ростверков
   6. Расчет ростверков в матричной форме
   7. Особенности расчета высоких свайных ростверков устоев
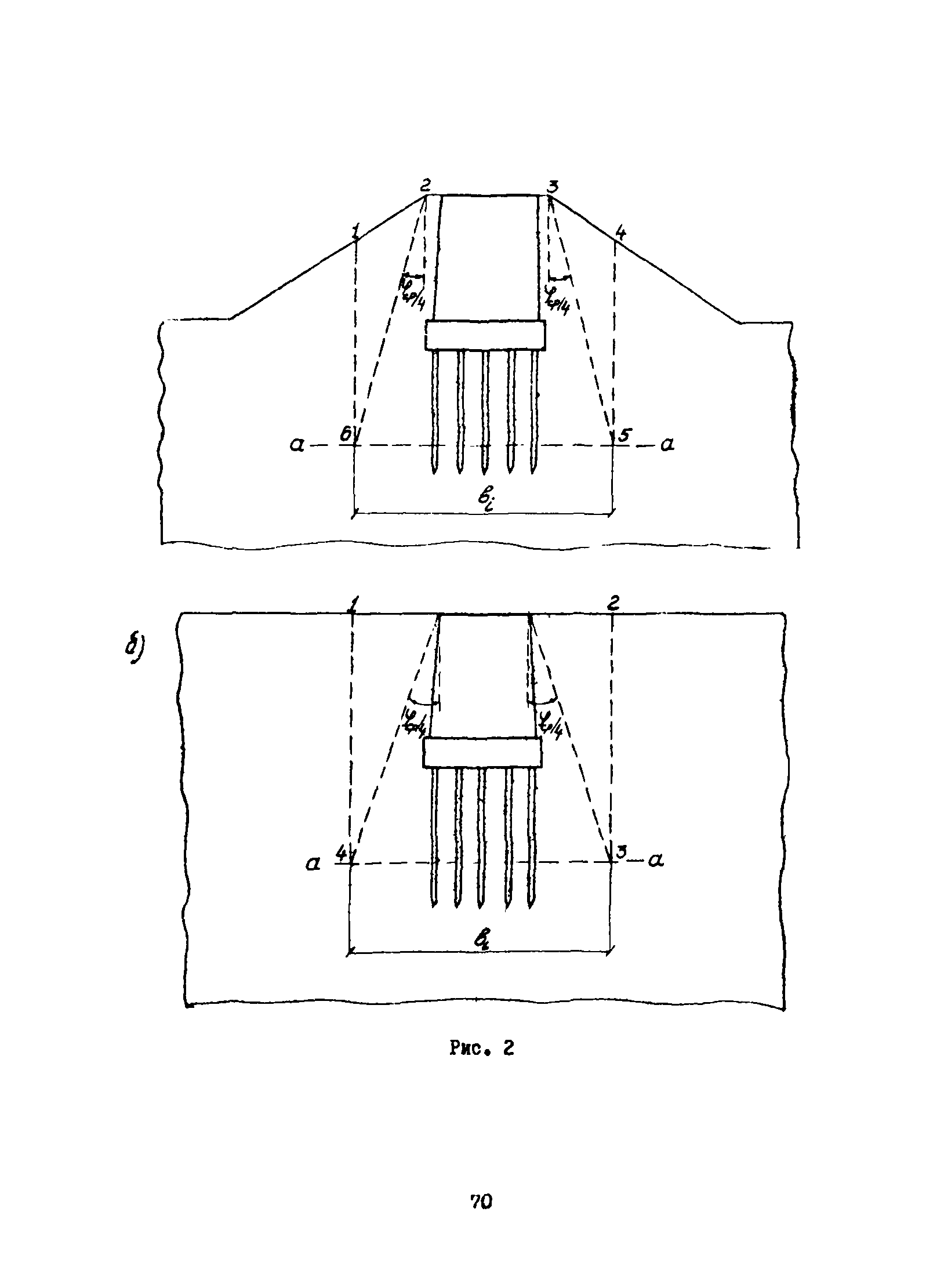
   8. Основные положения расчета массивных фундаментов из опускных колодцев или кессонов
   9. Формулы расчета массивных фундаментов из опускных колодцев или кессонов
Приложение
Разработан: ВНИИ транспортного строительства
Издан: Ротапринт ЦНИИСа (1970 г. )
Расположен в:Техническая документация Экология ЖЕЛЕЗНОДОРОЖНАЯ ТЕХНИКА Оборудование для сооружения и технического обслуживания железных/канатных дорог Строительство Справочные документы Директивные письма, положения, рекомендации и др.

© 2013 Ёшкин Кот :-) Карта сайта