Информационная система
«Ёшкин Кот»

Скачать базу одним архивом
Скачать обновления
История создания базы
Карта сайта

Скачать РД 39-0147103-393-87 Методические указания по определению минимально допустимых и технологических остатков нефти в резервуарных парках насосных станций управлений магистральными нефтепроводами Главтранснефти

Дата актуализации: 10.08.2017

РД 39-0147103-393-87

Методические указания по определению минимально допустимых и технологических остатков нефти в резервуарных парках насосных станций управлений магистральными нефтепроводами Главтранснефти

Обозначение: РД 39-0147103-393-87
Обозначение англ: RD 39-0147103-393-87
Статус:заменен
Название рус.:Методические указания по определению минимально допустимых и технологических остатков нефти в резервуарных парках насосных станций управлений магистральными нефтепроводами Главтранснефти
Дата добавления в базу:01.09.2013
Дата актуализации:05.05.2017
Дата введения:01.11.1992
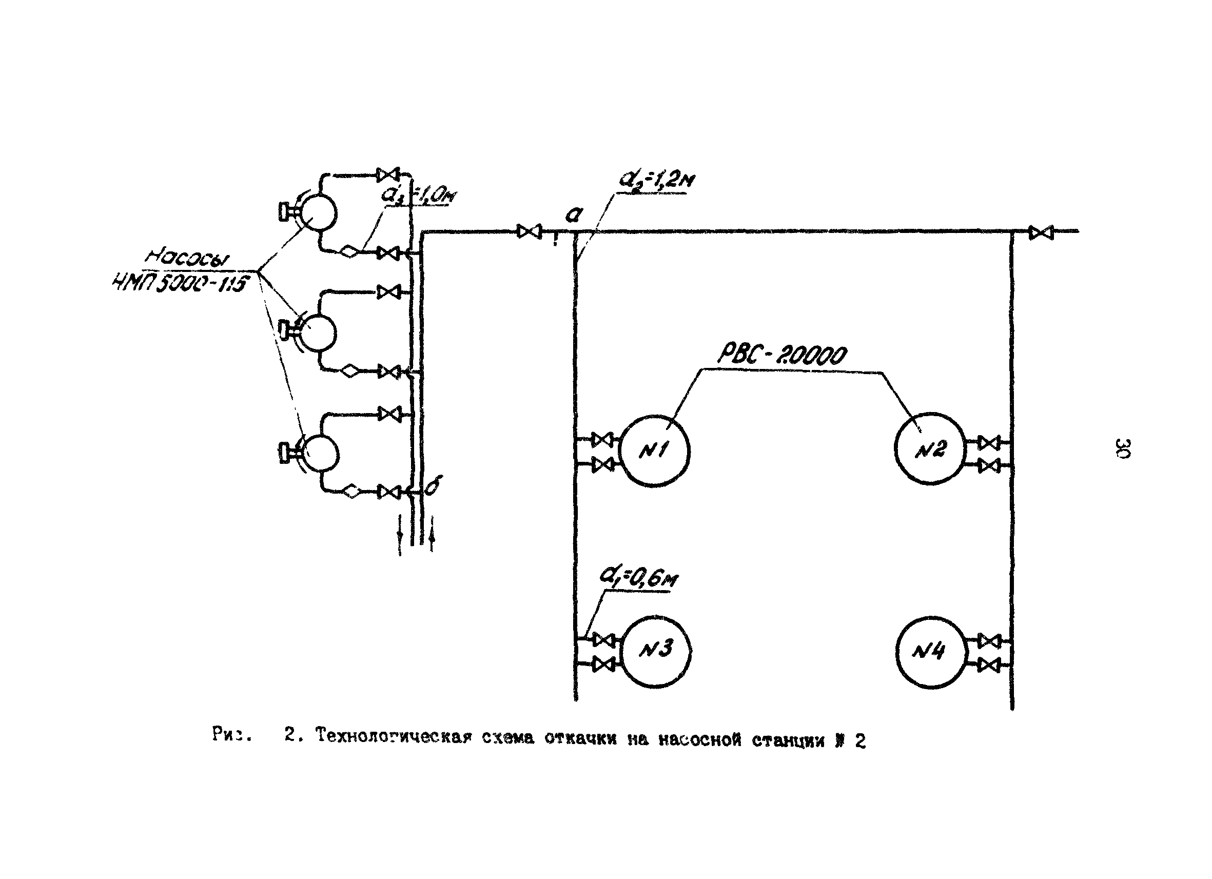
Область применения:Методические указания предназначены для определения технологических и минимально допустимых остатков нефти в резервуарных парках управлений магистральными нефтепроводами Главтранснефти.
Оглавление:1 Общие положения
2 Определение минимально допустимого уровня нефти в резервуаре
3 Определение технологического уровня
4 Определение величины товаро-коммерческих запасов нефти
Приложение
Разработан: ВНИИСПТнефть
Утверждён: Министерство нефтяной промышленности СССР (USSR Ministry of the Petroleum Industry )
Издан: Ротапринт ВНИИСПТнефть (1987 г. )
Расположен в:Техническая документация Экология ДОБЫЧА И ПЕРЕРАБОТКА НЕФТИ, ГАЗА И СМЕЖНЫЕ ПРОИЗВОДСТВА Нефтяные продукты в целом Строительство Нормативные документы Отраслевые и ведомственные нормативно-методические документы Проектирование и строительство объектов нефтяной и газовой промышленности
Заменяет собой:
  • РД 39-30-599-81
Чем заменён:
  • РД 153-39.4-077-01 «Методика определения нормативов технологических остатков нефти в резервуарных парках ОАО "АК "Транснефть"»
Нормативные ссылки:
РД 39-0147103-393-87РД 39-0147103-393-87РД 39-0147103-393-87РД 39-0147103-393-87РД 39-0147103-393-87РД 39-0147103-393-87РД 39-0147103-393-87РД 39-0147103-393-87РД 39-0147103-393-87РД 39-0147103-393-87РД 39-0147103-393-87РД 39-0147103-393-87РД 39-0147103-393-87РД 39-0147103-393-87РД 39-0147103-393-87РД 39-0147103-393-87РД 39-0147103-393-87РД 39-0147103-393-87РД 39-0147103-393-87РД 39-0147103-393-87РД 39-0147103-393-87РД 39-0147103-393-87РД 39-0147103-393-87РД 39-0147103-393-87РД 39-0147103-393-87РД 39-0147103-393-87РД 39-0147103-393-87РД 39-0147103-393-87РД 39-0147103-393-87РД 39-0147103-393-87РД 39-0147103-393-87РД 39-0147103-393-87РД 39-0147103-393-87РД 39-0147103-393-87РД 39-0147103-393-87РД 39-0147103-393-87РД 39-0147103-393-87РД 39-0147103-393-87РД 39-0147103-393-87

© 2013 Ёшкин Кот :-) Карта сайта