| ||||||||||||||||||||||||||
Скачать Серия 2.400-12.93 Выпуск 3. Альбом 2. Пример применения чертежей монтажных узлов сопряжений сборных конструкций в проекте одноэтажного здания. Комплект прилагаемых документовДата актуализации: 10.08.2017
|
| Обозначение: | Серия 2.400-12.93 |
| Обозначение англ: | Series 2.400-12.93 |
| Статус: | не определен законодательством |
| Название рус.: | Выпуск 3. Альбом 2. Пример применения чертежей монтажных узлов сопряжений сборных конструкций в проекте одноэтажного здания. Комплект прилагаемых документов |
| Дата добавления в базу: | 01.09.2013 |
| Дата актуализации: | 05.05.2017 |
| Дата введения: | 01.01.1994 |
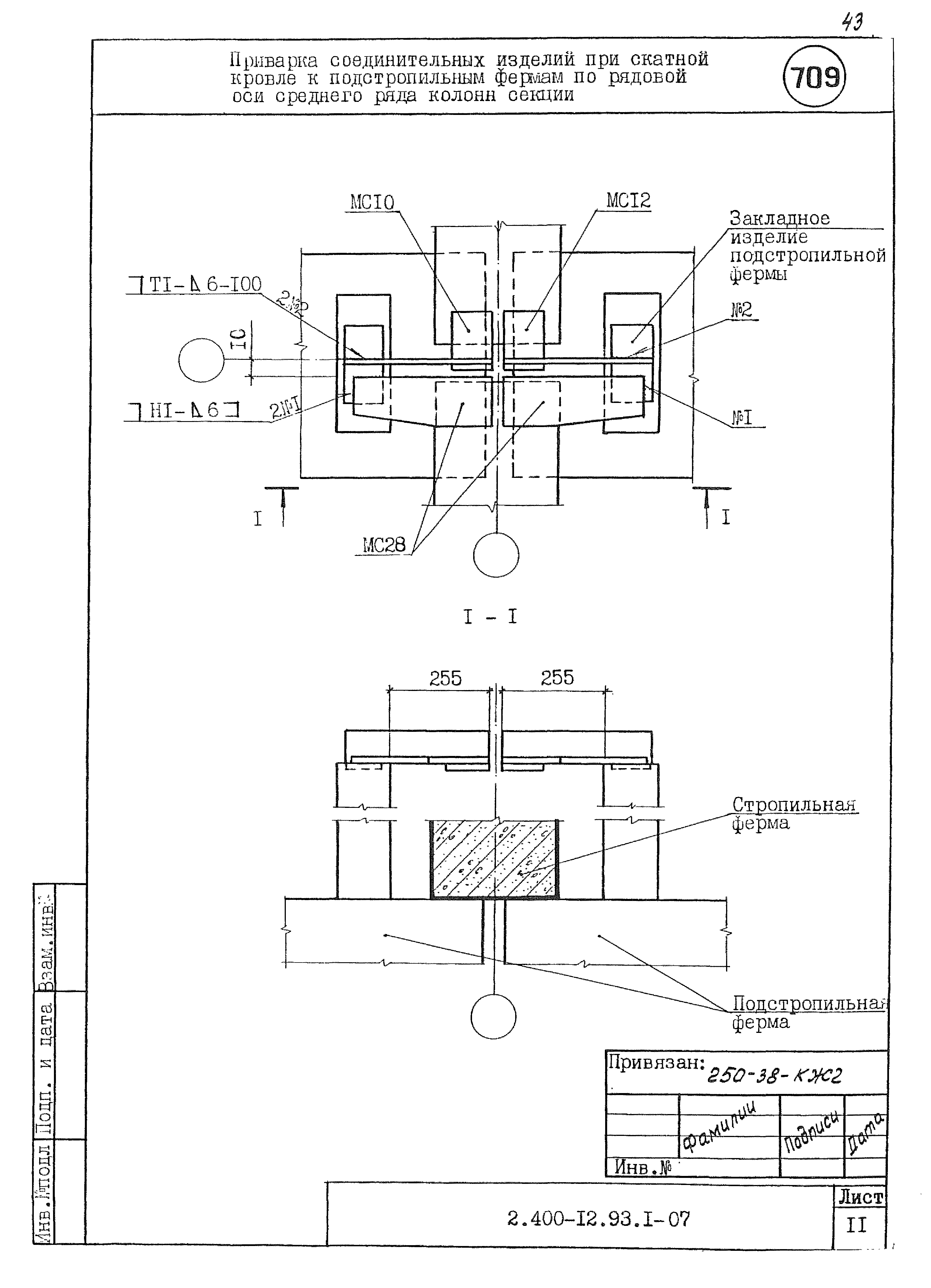
| Оглавление: | 2.400-12.93.1-01 Раздел 1. Сопряжения колонн с фундаментами. Технические требования TT1. 2.400-12.93.1-01 Узлы 101, 103, 107 2.400-12.93.1-02 Раздел 2. Сопряжения распорок и связей с колоннами. Технические требования ТТ2. 2.400-12.93.1-02 Узлы 201, 202, 207...210, 212, 230, 231 2.400-12.93.1-03 Раздел 3. Сопряжения колонн с подкрановыми балками. Технические требования ТТ3. 2.400-12.93.1-03 Узлы 301, 302 2.400-12.93.1-04 Раздел 4. Сопряжения подстропильных и стропильных конструкций с колоннами. Технические требования ТТ4. 2.400-12.93.1-04 Узлы 401, 405, 407, 408 2.400-12.93.1-05 Раздел 5. Сопряжения фахверковых колонн с конструкциями покрытия. Технические требования ТТ5. 2.400-12.93.1-05 Узлы 502-1, 502-2, 503-1, 503-2, 507 2.400-12.93.1-06 Раздел 6. Сопряжения стропильных конструкций с подстропильными. Технические требования ТТ6. 2.400-12.93.1-06 Узлы 601...603 2.400-12.93.1-07 Раздел 7. Сопряжения плит с конструкциями покрытия и стальных щитов с плитами покрытия. Технические требования ТТ7. 2.400-12.93.1-07 Узлы 704-1л 704-2, 707...709, 713, 714, 719, 720, 728, 729, 731 |
| Разработан: | ЦНИИпромзданий |
| Утверждён: | 07.09.1993 Госстрой России (Russian Federation Gosstroy 9-3-2/194) |
| Расположен в: |


















































