Информационная система
«Ёшкин Кот»

Скачать базу одним архивом
Скачать обновления
История создания базы
Карта сайта

Скачать ОСТ 1 10098-71 Соединения трубопроводов подвижные с агрегатами для топливных и масляных систем. Конструкция и размеры

Дата актуализации: 10.08.2017

ОСТ 1 10098-71

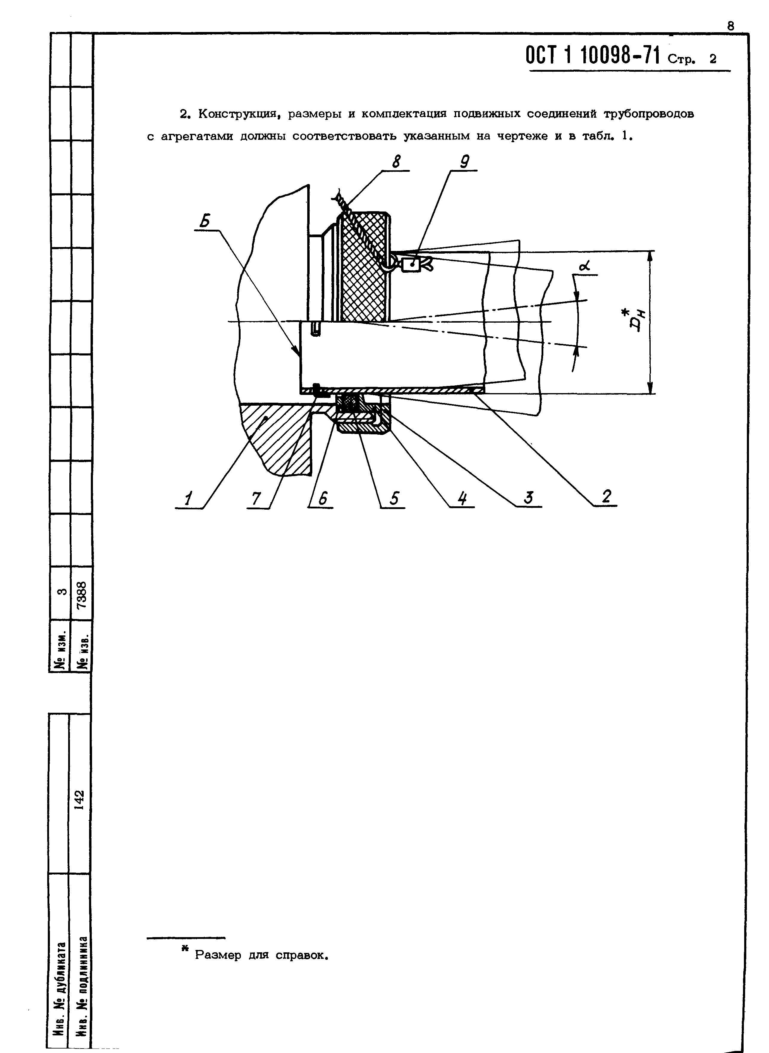
Соединения трубопроводов подвижные с агрегатами для топливных и масляных систем. Конструкция и размеры

Обозначение: ОСТ 1 10098-71
Обозначение англ: 10098-71
Статус:действует
Название рус.:Соединения трубопроводов подвижные с агрегатами для топливных и масляных систем. Конструкция и размеры
Дата добавления в базу:01.09.2013
Дата актуализации:05.05.2017
Дата введения:01.03.1972
Область применения:Стандарт распространяется на подвижные соединения трубопроводов с агрегатами для топливных и масляных систем.
Утверждён:25.11.1971 Министерство (Ministry 087-16)
Расположен в:Техническая документация
Заменяет собой:
  • «1034АТ»
Нормативные ссылки:
ОСТ 1 10098-71ОСТ 1 10098-71ОСТ 1 10098-71ОСТ 1 10098-71ОСТ 1 10098-71ОСТ 1 10098-71

© 2013 Ёшкин Кот :-) Карта сайта