Информационная система
«Ёшкин Кот»

Скачать базу одним архивом
Скачать обновления
История создания базы
Карта сайта

Скачать Шифр М27.38/07 Ветрозащита из материала JUTA в многослойных стенах и покрытиях с теплоизоляцией из минерало- и стекловатных плит и матов. Материалы для проектирования и рабочие чертежи узлов

Дата актуализации: 10.08.2017

Шифр М27.38/07

Ветрозащита из материала "JUTA" в многослойных стенах и покрытиях с теплоизоляцией из минерало- и стекловатных плит и матов. Материалы для проектирования и рабочие чертежи узлов

Обозначение: Шифр М27.38/07
Обозначение англ: М27.38/07
Статус:не определен законодательством
Название рус.:Ветрозащита из материала "JUTA" в многослойных стенах и покрытиях с теплоизоляцией из минерало- и стекловатных плит и матов. Материалы для проектирования и рабочие чертежи узлов
Дата добавления в базу:01.09.2013
Дата актуализации:05.05.2017
Дата введения:15.12.1988
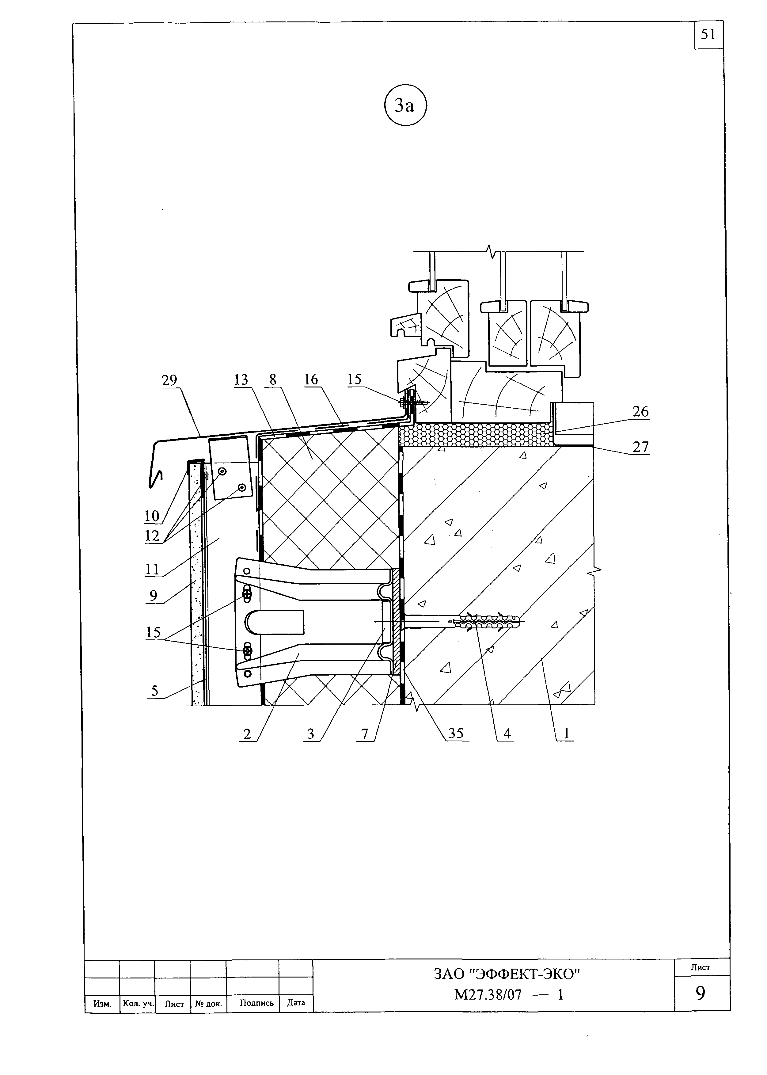
Область применения:Альбом содержит материалы для проектирования и рабочие чертежи узлов с применением ветро-, гидро- и пароизоляционных материалов "JUTA" в многослойных стенах и покрытиях зданий различного назначения с минерало- или стекловолокнистой теплоизоляцией
Оглавление:М27.38/07 Сертификат
М27.38/07-ПЗ Пояснительная записка
М27.38/07-ПЗ 1. Общие положения
М27.38/07-ПЗ 2. Применяемые материалы
М27.38/07-ПЗ 3. Нормы теплозащиты и данные по толщине теплоизоляции
М27.38/07-ПЗ 4. Стены с экранами из плиток
М27.38/07-ПЗ 5. Стены с облицовкой из оцинкованных стальных профлистов
М27.38/07-ПЗ 6. Покрытия с кровлей из оцинкованных стальных профлистов
М27.38/07-ПЗ 7. Ограждающие конструкции мансард
М27.38/07-ПЗ 8. Конструктивные решения чердачных перекрытий
М27.38/07-ПЗ 9. Конструктивные решения полов
М27.38/07-1 Раздел 1. Стены с экранами из плиток
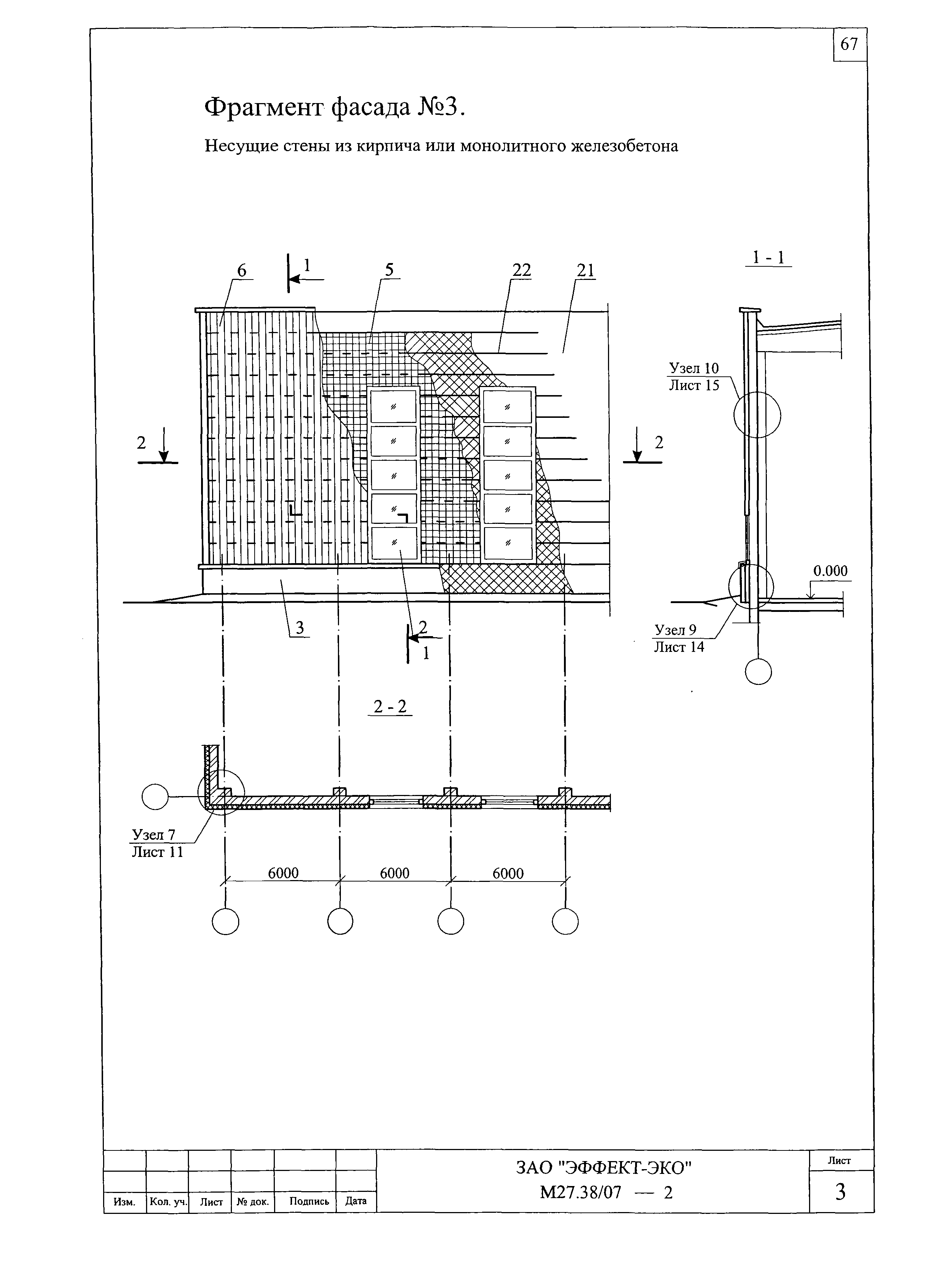
М27.38/07-2 Раздел 2. Стены с облицовкой из оцинкованных стальных профлистов
М27.38/07-3 Раздел 3. Покрытия с кровлей из оцинкованных стальных профлистов
М27.38/07-4 Раздел 4. Ограждающие конструкции мансард
М27.38/07-1 Раздел 5. Чердачные перекрытия
М27.38/07-1 Раздел 6. Полы
М27.38/07 Приложение 1. Расчет приведенного сопротивления теплопередаче и температурно-влажностного режима многослойных конструкций стен с вентилируемой воздушной прослойкой.
М27.38/07 Приложение 2. Расчет покрытия с вентилируемой воздушной прослойкой.
Разработан: ОАО ЦНИИпромзданий
Утверждён:07.03.2008 ОАО ЦНИИпромзданий (TsNIIpromzdaniy OAO )
Расположен в:Техническая документация Строительство Справочные документы Типовые строительные конструкции, изделия и узлы Разработанные другими министерствами, ведомствами и организациями
Шифр М27.38/07Шифр М27.38/07Шифр М27.38/07Шифр М27.38/07Шифр М27.38/07Шифр М27.38/07Шифр М27.38/07Шифр М27.38/07Шифр М27.38/07Шифр М27.38/07Шифр М27.38/07Шифр М27.38/07Шифр М27.38/07Шифр М27.38/07Шифр М27.38/07Шифр М27.38/07Шифр М27.38/07Шифр М27.38/07Шифр М27.38/07Шифр М27.38/07Шифр М27.38/07Шифр М27.38/07Шифр М27.38/07Шифр М27.38/07Шифр М27.38/07Шифр М27.38/07Шифр М27.38/07Шифр М27.38/07Шифр М27.38/07Шифр М27.38/07Шифр М27.38/07Шифр М27.38/07Шифр М27.38/07Шифр М27.38/07Шифр М27.38/07Шифр М27.38/07Шифр М27.38/07Шифр М27.38/07Шифр М27.38/07Шифр М27.38/07Шифр М27.38/07Шифр М27.38/07Шифр М27.38/07Шифр М27.38/07Шифр М27.38/07Шифр М27.38/07Шифр М27.38/07Шифр М27.38/07Шифр М27.38/07Шифр М27.38/07Шифр М27.38/07Шифр М27.38/07Шифр М27.38/07Шифр М27.38/07Шифр М27.38/07Шифр М27.38/07Шифр М27.38/07Шифр М27.38/07Шифр М27.38/07Шифр М27.38/07Шифр М27.38/07Шифр М27.38/07Шифр М27.38/07Шифр М27.38/07Шифр М27.38/07Шифр М27.38/07Шифр М27.38/07Шифр М27.38/07Шифр М27.38/07Шифр М27.38/07Шифр М27.38/07Шифр М27.38/07Шифр М27.38/07Шифр М27.38/07Шифр М27.38/07Шифр М27.38/07Шифр М27.38/07Шифр М27.38/07Шифр М27.38/07Шифр М27.38/07Шифр М27.38/07Шифр М27.38/07Шифр М27.38/07Шифр М27.38/07Шифр М27.38/07Шифр М27.38/07Шифр М27.38/07Шифр М27.38/07Шифр М27.38/07Шифр М27.38/07Шифр М27.38/07Шифр М27.38/07Шифр М27.38/07Шифр М27.38/07Шифр М27.38/07Шифр М27.38/07Шифр М27.38/07Шифр М27.38/07Шифр М27.38/07Шифр М27.38/07Шифр М27.38/07Шифр М27.38/07Шифр М27.38/07Шифр М27.38/07Шифр М27.38/07Шифр М27.38/07Шифр М27.38/07Шифр М27.38/07Шифр М27.38/07Шифр М27.38/07Шифр М27.38/07Шифр М27.38/07Шифр М27.38/07Шифр М27.38/07Шифр М27.38/07Шифр М27.38/07Шифр М27.38/07Шифр М27.38/07Шифр М27.38/07Шифр М27.38/07Шифр М27.38/07Шифр М27.38/07Шифр М27.38/07Шифр М27.38/07Шифр М27.38/07Шифр М27.38/07Шифр М27.38/07Шифр М27.38/07Шифр М27.38/07Шифр М27.38/07Шифр М27.38/07Шифр М27.38/07Шифр М27.38/07Шифр М27.38/07Шифр М27.38/07Шифр М27.38/07Шифр М27.38/07Шифр М27.38/07Шифр М27.38/07Шифр М27.38/07Шифр М27.38/07Шифр М27.38/07Шифр М27.38/07Шифр М27.38/07Шифр М27.38/07

© 2013 Ёшкин Кот :-) Карта сайта