Скачать Шифр М24.18/06 Наружные стены, стены подвала, покрытия и полы с теплоизоляцией из плит экструдированного пенополистирола ТИМПЛЭКС. Материалы для проектирования и рабочие чертежи узловДата актуализации: 10.08.2017 Шифр М24.18/06
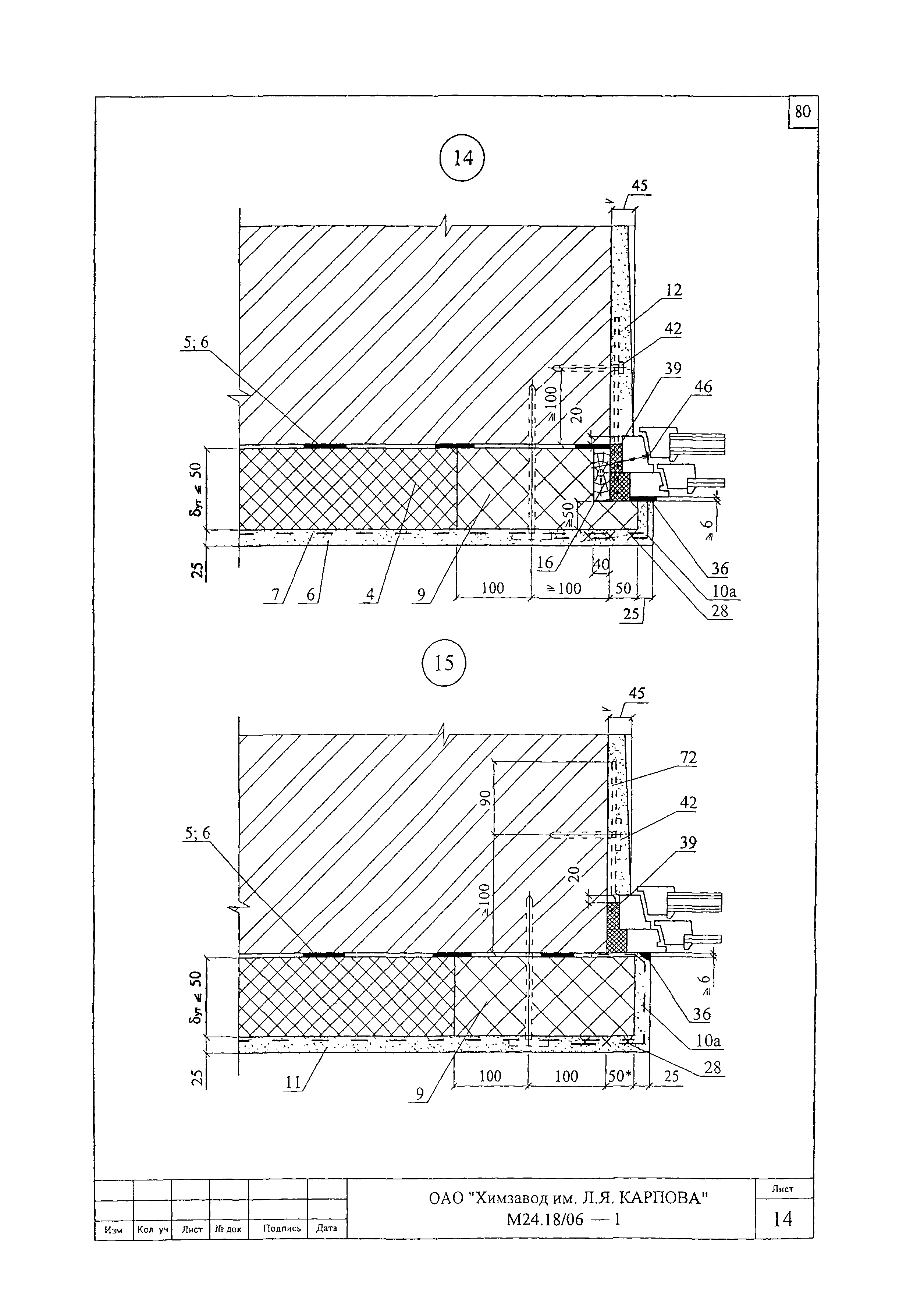
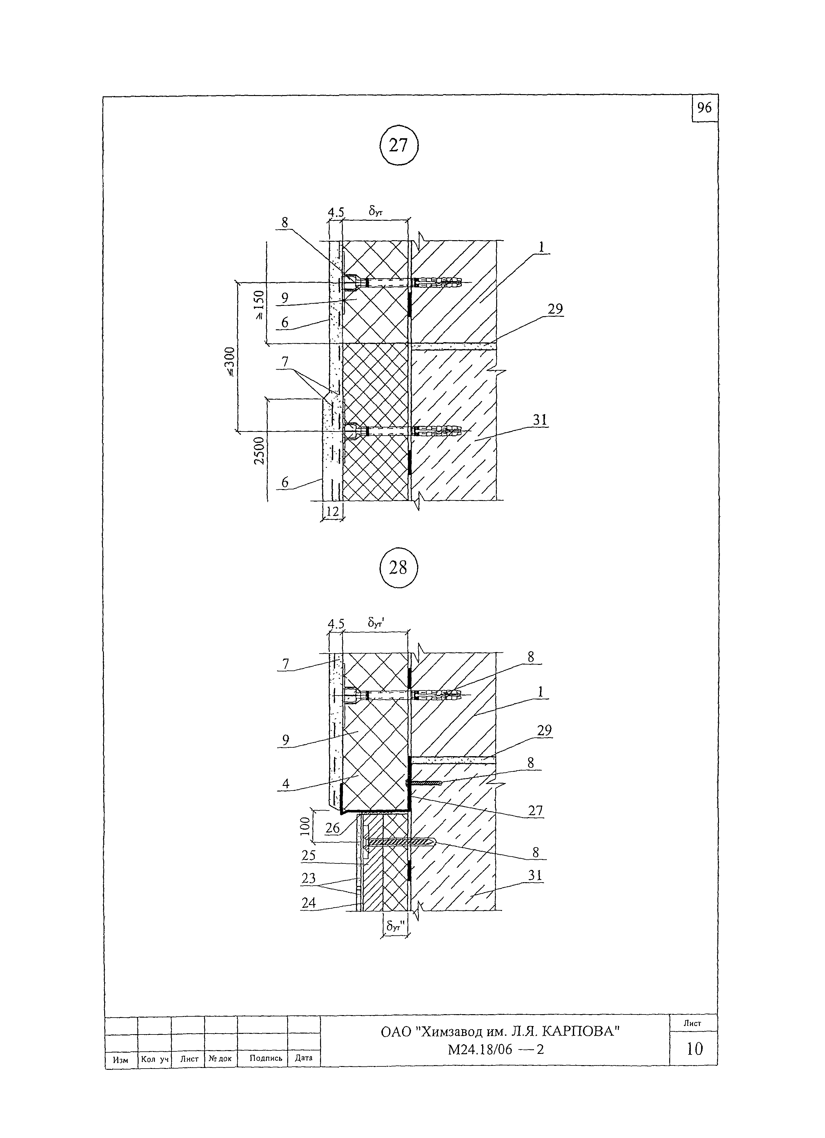
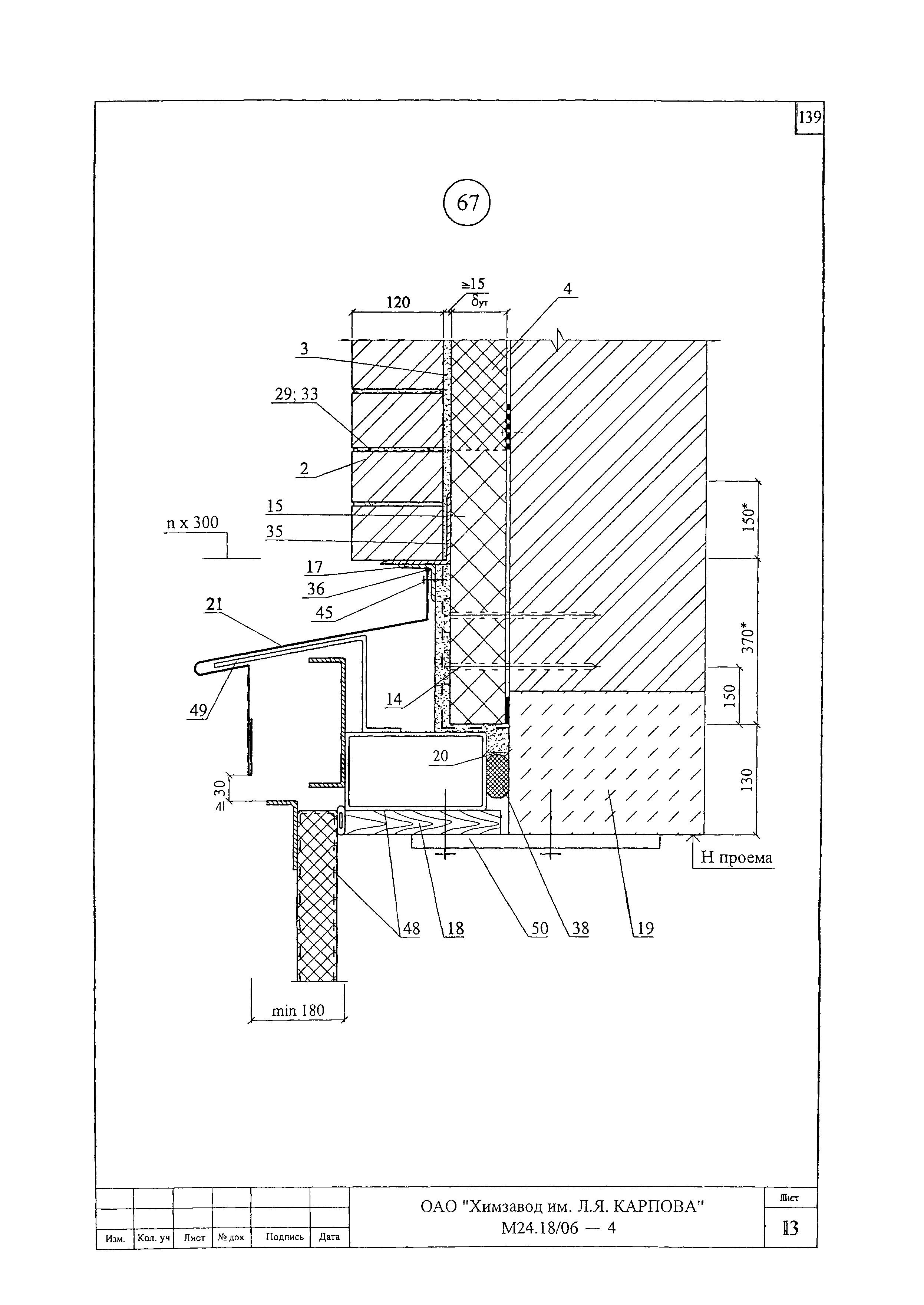
Наружные стены, стены подвала, покрытия и полы с теплоизоляцией из плит экструдированного пенополистирола "ТИМПЛЭКС". Материалы для проектирования и рабочие чертежи узловОбозначение: | Шифр М24.18/06 | Обозначение англ: | М24.18/06 | Статус: | не определен законодательством | Название рус.: | Наружные стены, стены подвала, покрытия и полы с теплоизоляцией из плит экструдированного пенополистирола "ТИМПЛЭКС". Материалы для проектирования и рабочие чертежи узлов | Дата добавления в базу: | 01.09.2013 | Дата актуализации: | 05.05.2017 | Дата введения: | 27.07.2006 | Область применения: | Альбом содержит материалы для проектирования и рабочие чертежи узлов наружных стен, стен подвалов, перекрытий, стен и покрытий мансард, а также полов холодильников и полов подвалов зданий различного назначения с теплоизоляцией из плит пенополистирольных вспененных экструзионных ТИМПЛЭКС ТУ 5768-072-00206457-2006 | Разработан: | ОАО ЦНИИпромзданий
| Утверждён: | 01.01.2006 ОАО ЦНИИпромзданий (TsNIIpromzdaniy OAO )
| Расположен в: |
|
                                                                                                                                                                                                                                         
|