Информационная система
«Ёшкин Кот»

Скачать базу одним архивом
Скачать обновления
История создания базы
Карта сайта

Скачать Шифр М24.37/06 Наружные стены, стены подвала и перегородки из крупноформатного кирпича Поротерм. Материалы для проектирования и рабочие чертежи узлов

Дата актуализации: 10.08.2017

Шифр М24.37/06

Наружные стены, стены подвала и перегородки из крупноформатного кирпича "Поротерм". Материалы для проектирования и рабочие чертежи узлов

Обозначение: Шифр М24.37/06
Обозначение англ: М24.37/06
Статус:не определен законодательством
Название рус.:Наружные стены, стены подвала и перегородки из крупноформатного кирпича "Поротерм". Материалы для проектирования и рабочие чертежи узлов
Дата добавления в базу:01.09.2013
Дата актуализации:05.05.2017
Дата введения:15.05.2007
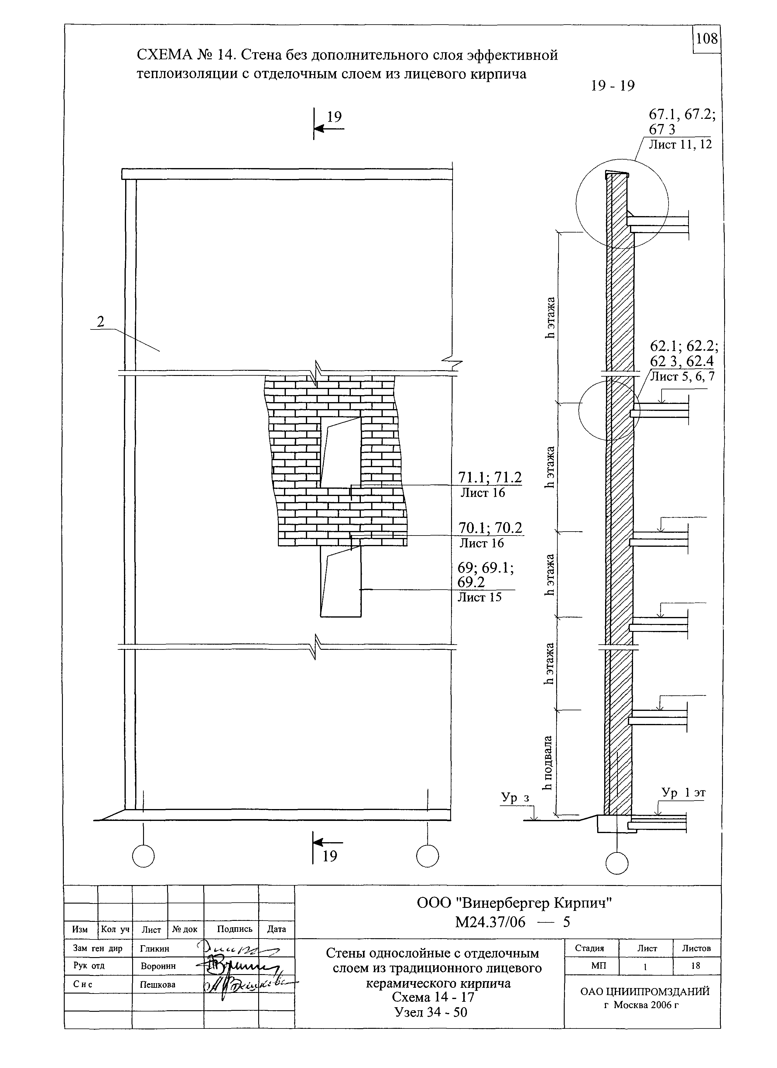
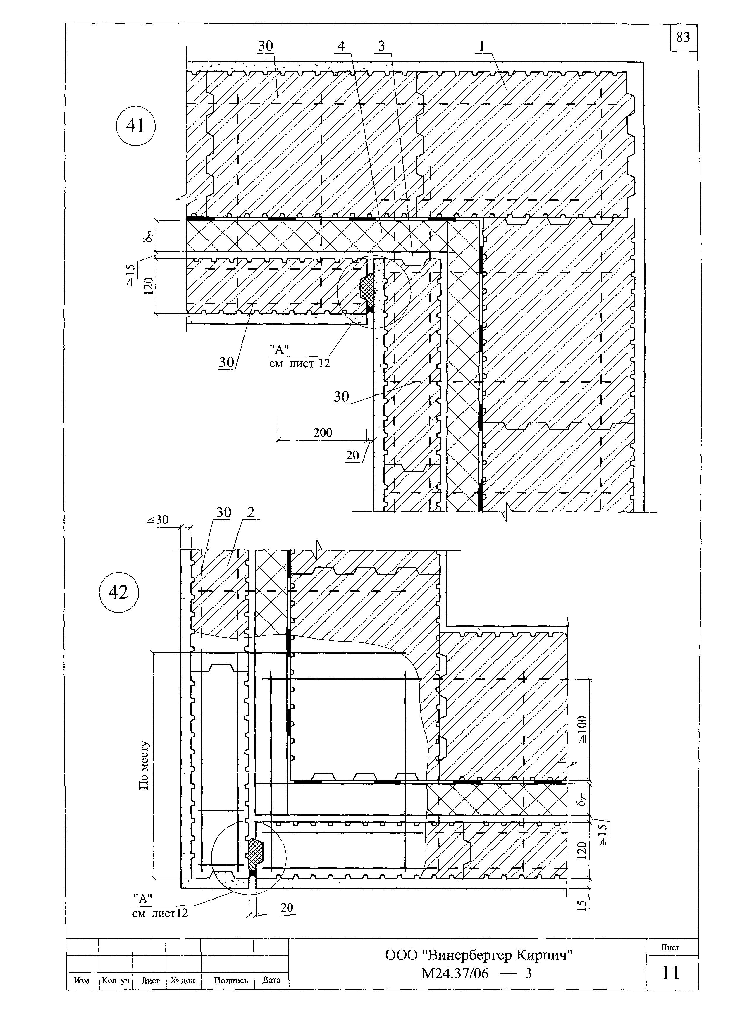
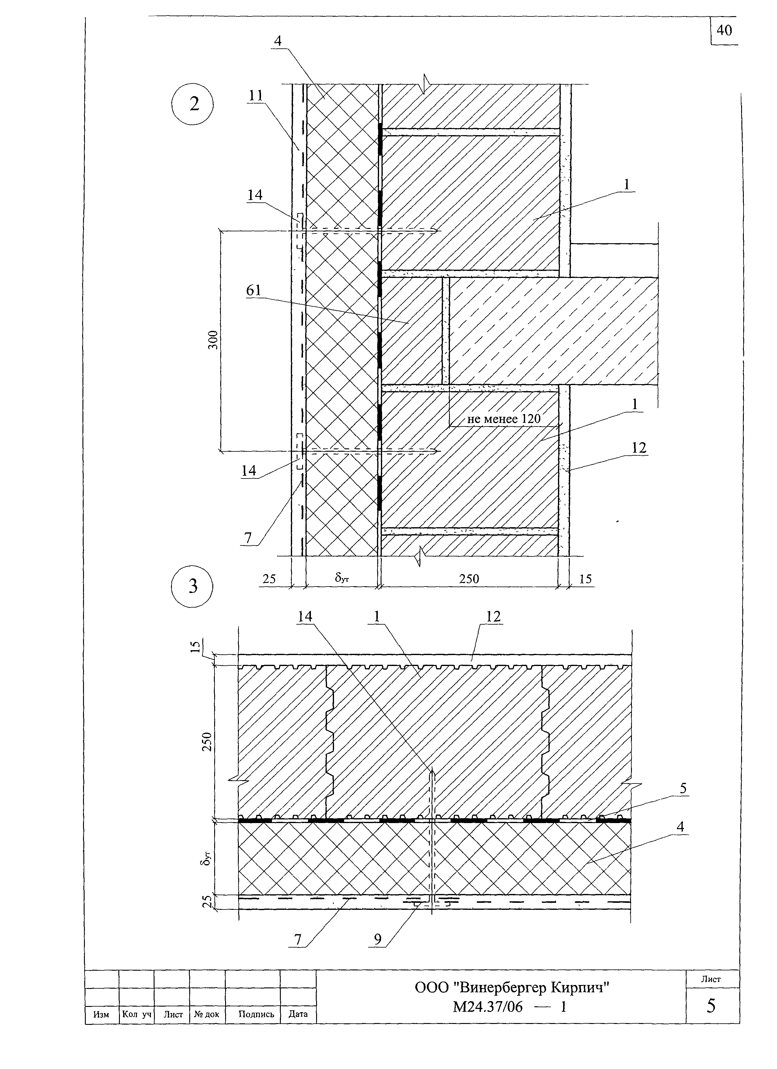
Область применения:Альбом содержит материалы для проектирования и рабочие чертежи наружных стен, стен подвала и перегородок отапливаемых зданий различного назначения из кирпичей и камней керамических поризованных "Поротерм" изготовляемых по ТУ 5741-001-34854050-2005.
Оглавление:Сертификат
Пояснительная записка
   1. Общие положения
   2. Материалы
   3. Нормы теплозащиты и данные по толщине теплоизоляции
   4. Конструктивные решения стен
      4.1. Стены многослойные с защитно-декоративным слоем из традиционной штукатурки
      4.2. Стены с отделочным слоем из тонкослойной штукатурки
      4.3. Стены многослойные с отделочным слоем из керамического камня "ПОРОТЕРМ"
      4.4. Стены однослойные с отделочным слоем из штукатурки
      4.5. Стены многослойные с отделочным слоем из традиционного лицевого керамического кирпича
      4.6. Стены подвала
   5. Перегородки
Раздел 1. Стены многослойные с защитно-декоративным слоем из традиционной штукатурки. Новое строительство
Раздел 2. Стены многослойные с защитно-декоративным слоем из тонкослойной штукатурки. Новое строительство
Раздел 3. Стены многослойные с отделочным слоем из поризованного керамического камня "ПОРОТЕРМ"
Раздел 4. Стены однослойные с отделочным слоем из штукатурки
Раздел 5. Стены многослойные с отделочным слоем из традиционного керамического кирпича
Раздел 6. Стены подвала
Раздел 7. Перегородки
Раздел 8. Изделия комплектующие
Приложения
   Приложение 1. Пример расчета повышения теплозащиты стены
   Приложение 2. Пример расчета парозащиты стены
   Приложение 3. Пример расчета толщины теплоизоляции стены подвала
Разработан: ОАО ЦНИИпромзданий
Утверждён:15.05.2007 ОАО ЦНИИпромзданий (TsNIIpromzdaniy OAO )
Расположен в:Техническая документация Строительство Справочные документы Типовые строительные конструкции, изделия и узлы Разработанные другими министерствами, ведомствами и организациями
Нормативные ссылки:
Шифр М24.37/06Шифр М24.37/06Шифр М24.37/06Шифр М24.37/06Шифр М24.37/06Шифр М24.37/06Шифр М24.37/06Шифр М24.37/06Шифр М24.37/06Шифр М24.37/06Шифр М24.37/06Шифр М24.37/06Шифр М24.37/06Шифр М24.37/06Шифр М24.37/06Шифр М24.37/06Шифр М24.37/06Шифр М24.37/06Шифр М24.37/06Шифр М24.37/06Шифр М24.37/06Шифр М24.37/06Шифр М24.37/06Шифр М24.37/06Шифр М24.37/06Шифр М24.37/06Шифр М24.37/06Шифр М24.37/06Шифр М24.37/06Шифр М24.37/06Шифр М24.37/06Шифр М24.37/06Шифр М24.37/06Шифр М24.37/06Шифр М24.37/06Шифр М24.37/06Шифр М24.37/06Шифр М24.37/06Шифр М24.37/06Шифр М24.37/06Шифр М24.37/06Шифр М24.37/06Шифр М24.37/06Шифр М24.37/06Шифр М24.37/06Шифр М24.37/06Шифр М24.37/06Шифр М24.37/06Шифр М24.37/06Шифр М24.37/06Шифр М24.37/06Шифр М24.37/06Шифр М24.37/06Шифр М24.37/06Шифр М24.37/06Шифр М24.37/06Шифр М24.37/06Шифр М24.37/06Шифр М24.37/06Шифр М24.37/06Шифр М24.37/06Шифр М24.37/06Шифр М24.37/06Шифр М24.37/06Шифр М24.37/06Шифр М24.37/06Шифр М24.37/06Шифр М24.37/06Шифр М24.37/06Шифр М24.37/06Шифр М24.37/06Шифр М24.37/06Шифр М24.37/06Шифр М24.37/06Шифр М24.37/06Шифр М24.37/06Шифр М24.37/06Шифр М24.37/06Шифр М24.37/06Шифр М24.37/06Шифр М24.37/06Шифр М24.37/06Шифр М24.37/06Шифр М24.37/06Шифр М24.37/06Шифр М24.37/06Шифр М24.37/06Шифр М24.37/06Шифр М24.37/06Шифр М24.37/06Шифр М24.37/06Шифр М24.37/06Шифр М24.37/06Шифр М24.37/06Шифр М24.37/06Шифр М24.37/06Шифр М24.37/06Шифр М24.37/06Шифр М24.37/06Шифр М24.37/06Шифр М24.37/06Шифр М24.37/06Шифр М24.37/06Шифр М24.37/06Шифр М24.37/06Шифр М24.37/06Шифр М24.37/06Шифр М24.37/06Шифр М24.37/06Шифр М24.37/06Шифр М24.37/06Шифр М24.37/06Шифр М24.37/06Шифр М24.37/06Шифр М24.37/06Шифр М24.37/06Шифр М24.37/06Шифр М24.37/06Шифр М24.37/06Шифр М24.37/06Шифр М24.37/06Шифр М24.37/06Шифр М24.37/06Шифр М24.37/06Шифр М24.37/06Шифр М24.37/06Шифр М24.37/06Шифр М24.37/06Шифр М24.37/06Шифр М24.37/06Шифр М24.37/06Шифр М24.37/06Шифр М24.37/06Шифр М24.37/06Шифр М24.37/06Шифр М24.37/06Шифр М24.37/06Шифр М24.37/06Шифр М24.37/06Шифр М24.37/06Шифр М24.37/06Шифр М24.37/06Шифр М24.37/06Шифр М24.37/06Шифр М24.37/06Шифр М24.37/06Шифр М24.37/06Шифр М24.37/06Шифр М24.37/06Шифр М24.37/06Шифр М24.37/06Шифр М24.37/06Шифр М24.37/06Шифр М24.37/06Шифр М24.37/06Шифр М24.37/06Шифр М24.37/06Шифр М24.37/06Шифр М24.37/06Шифр М24.37/06Шифр М24.37/06

© 2013 Ёшкин Кот :-) Карта сайта