| ||||||||||||||||||||||||||||||||||||||||||
Скачать ГОСТ 25557-2006 Конусы инструментальные. Основные размерыДата актуализации: 10.08.2017
|
| Обозначение: | ГОСТ 25557-2006 |
| Обозначение англ: | GOST 25557-2006 |
| Статус: | взамен |
| Название рус.: | Конусы инструментальные. Основные размеры |
| Название англ.: | Machine tools tapers. Basic dimensions |
| Дата добавления в базу: | 01.09.2013 |
| Дата актуализации: | 05.05.2017 |
| Дата введения: | 01.01.2008 |
| Дата окончания срока действия: | 01.01.2018 |
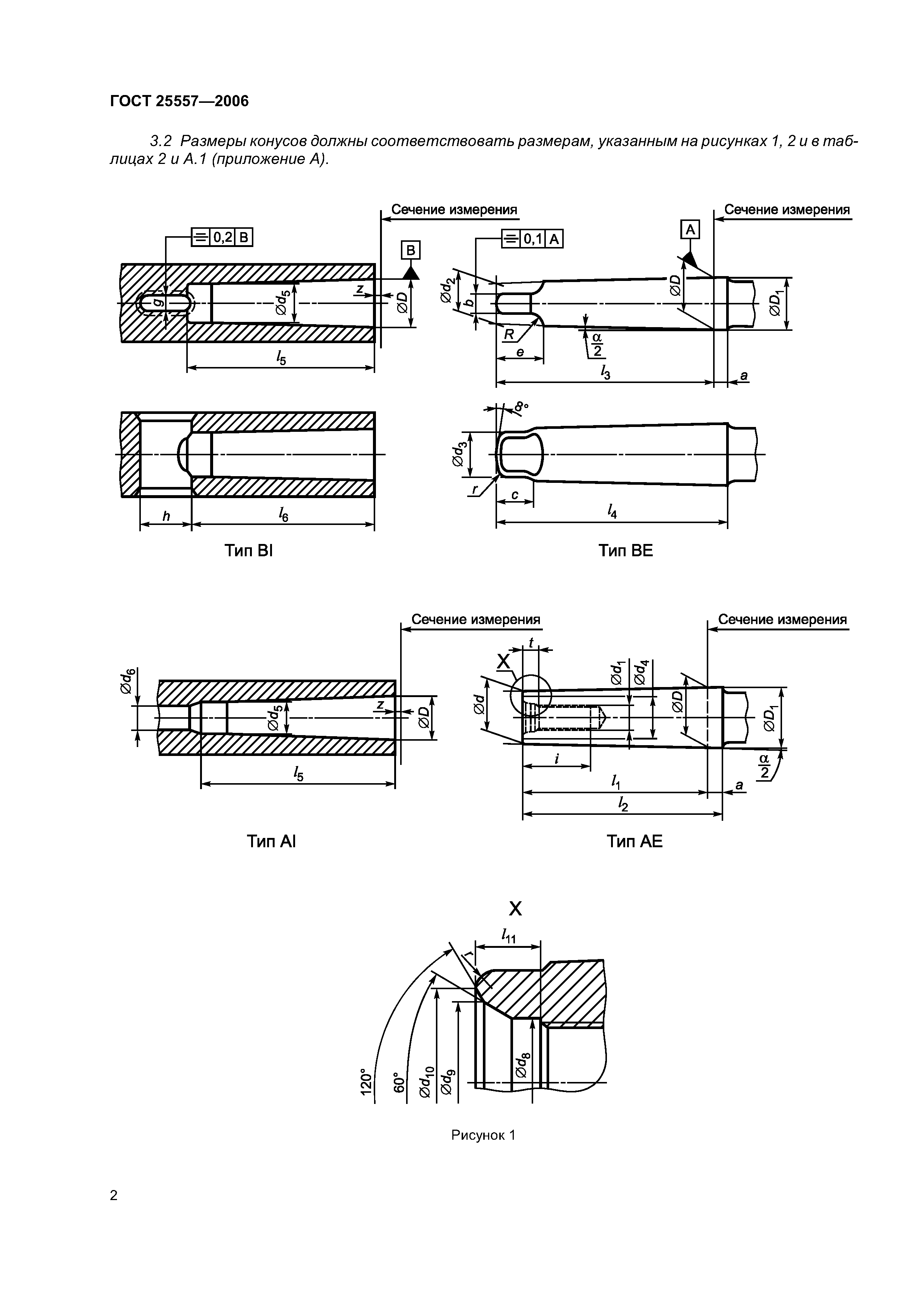
| Область применения: | Стандарт устанавливает размеры наружных и внутренних конусов инструментальных хвостовиков трех категорий: а) общего применения; б) малые; в) большие. Стандарт также определяет размеры пазов канавок и отверстий, необходимых для конструирования конусов, в случае подачи смазочно-охлаждающей жидкости через инструмент. |
| Оглавление: | 1 Область применения 2 Нормативные ссылки 3 Диапазон и размеры конусов 4 Обозначения хвостовиков Приложение А.1 Конусы Морзе №0-№6 и конусы Браун Шарп №1-№3 Приложение Б Сопоставление структуры настоящего стандарта со структурой примененного в нем международного стандарта |
| Разработан: | ОАО ЭНИМС ФГУП ВНИИНМАШ |
| Утверждён: | 24.06.2006 Межгосударственный Совет по стандартизации, метрологии и сертификации (Inter-Governmental Council on Standardization, Metrology, and Certification 29) 12.07.2007 Федеральное агентство по техническому регулированию и метрологии (171-ст) |
| Издан: | Стандартинформ (2007 г. ) |
| Расположен в: | |
| Список изменений: |
|
| Заменяет собой: | |
| Чем заменён: |
|
| Нормативные ссылки: |
|












