Информационная система
«Ёшкин Кот»

Скачать базу одним архивом
Скачать обновления
История создания базы
Карта сайта

Скачать Серия 5.903-15 Выпуск 9-5. Часть 1. Блок деаэрационно-подпиточный БДАП-100-25. Рабочие чертежи

Дата актуализации: 10.08.2017

Серия 5.903-15

Выпуск 9-5. Часть 1. Блок деаэрационно-подпиточный БДАП-100-25. Рабочие чертежи

Обозначение: Серия 5.903-15
Обозначение англ: Series 5.903-15
Статус:не определен законодательством
Название рус.:Выпуск 9-5. Часть 1. Блок деаэрационно-подпиточный БДАП-100-25. Рабочие чертежи
Дата добавления в базу:01.09.2013
Дата актуализации:05.05.2017
Дата введения:01.03.1990
Оглавление:БК9.5.1.00.00.000 ГЗ Блок БДАП-100-25. Схема принципиальная
БК9.5.1.00.00.000 СБ Блок БДАП-100-25
БК9.5.1.00.00.000 Блок БДАП-100-25
БК9.5.1.01.00.000 Блок нижний
БК9.5.1.01.00.000 СБ Блок нижний
БК9.5.1.01.00.000 Блок нижний
БК9.5.1.01.01.000 Рама
БК9.5.1.01.01.000 СБ Рама
БК9.5.1.01.01.000 Рама
БК9.5.1.01.01.100 Опора
БК9.5.1.01.01.100 СБ Опора
БК9.5.1.01.01.200 Кронштейн
БК9.5.1.01.01.200 СБ Кронштейн
БК9.5.1.01.01.300 Кронштейн
БК9.5.1.01.01.300 СБ Кронштейн
БК9.5.1.01.01.001 Косынка
БК9.5.1.01.01.002 Косынка
БК9.5.1.01.01.003 Косынка
БК9.5.1.01.01.004 Косынка
БК9.5.1.01.01.005 Косынка
БК9.5.1.01.01.006 Связь
БК9.5.1.01.01.007 Связь
БК9.5.1.01.01.008 Связь
БК9.5.1.01.02.000 Трубопровод
БК9.5.1.01.02.000 СБ Трубопровод
БК9.5.1.01.03.000 Трубопровод
БК9.5.1.01.03.000 СБ Трубопровод
БК9.5.1.01.03.000 Трубопровод
БК9.5.1.01.04.000 Трубопровод
БК9.5.1.01.04.000 СБ Трубопровод
БК9.5.1.01.05.000 Трубопровод
БК9.5.1.01.05.000 СБ Трубопровод
БК9.5.1.01.06.000 Трубопровод
БК9.5.1.01.07.000 Трубопровод
БК9.5.1.01.06.000 СБ Трубопровод
БК9.5.1.01.07.000 СБ Трубопровод
БК9.5.1.01.08.000 Трубопровод
БК9.5.1.01.09.000 Трубопровод
БК9.5.1.01.08.000 СБ Трубопровод
БК9.5.1.01.09.000 СБ Трубопровод
БК9.5.1.01.09.001 Полусектор
БК9.5.1.01.09.003 Полусектор
БК9.5.1.01.09.002 Сектор
БК9.5.1.01.10.000 Трубопрвод
БК9.5.1.01.10.000 СБ Трубопрвод
БК9.5.1.01.11.000 СБ Трубопрвод
БК9.5.1.01.11.000 Трубопрвод
БК9.5.1.01.12.000 Трубопрвод
БК9.5.1.01.12.000 СБ Трубопрвод
БК9.5.1.01.13.000 Трубопрвод
БК9.5.1.01.13.000 СБ Трубопрвод
БК9.5.1.01.14.000 Трубопрвод
БК9.5.1.01.14.003 Труба
БК9.5.1.01.14.000 СБ Трубопрвод
БК9.5.1.01.14.002 Труба
БК9.5.1.01.15.000 Трубопровод
БК9.5.1.01.15.000 СБ Трубопровод
БК9.5.1.01.16.000 Трубопровод
БК9.5.1.01.16.000 СБ Трубопровод
БК9.5.1.01.17.000 Трубопровод
БК9.5.1.01.17.000 СБ Трубопровод
БК9.5.1.01.18.000 Трубопровод
БК9.5.1.01.18.000 СБ Трубопровод
БК9.5.1.01.19.000 Трубопровод
БК9.5.1.01.19.000 СБ Трубопровод
БК9.5.1.01.20.000 СБ Трубопровод
БК9.5.1.01.20.000 Трубопровод
БК9.5.1.01.20.001 Труба
БК9.5.1.01.20.002 Труба
БК9.5.1.01.20.003 Труба
БК9.5.1.01.21.000 Трубопровод
БК9.5.1.01.21.000 СБ Трубопровод
БК9.5.1.01.22.000 Трубопровод дренажный
БК9.5.1.01.22.000 СБ Трубопровод дренажный
БК9.5.1.01.22.001 Труба
БК9.5.1.01.22.002 Патрубок
БК9.5.1.01.22.003 Патрубок
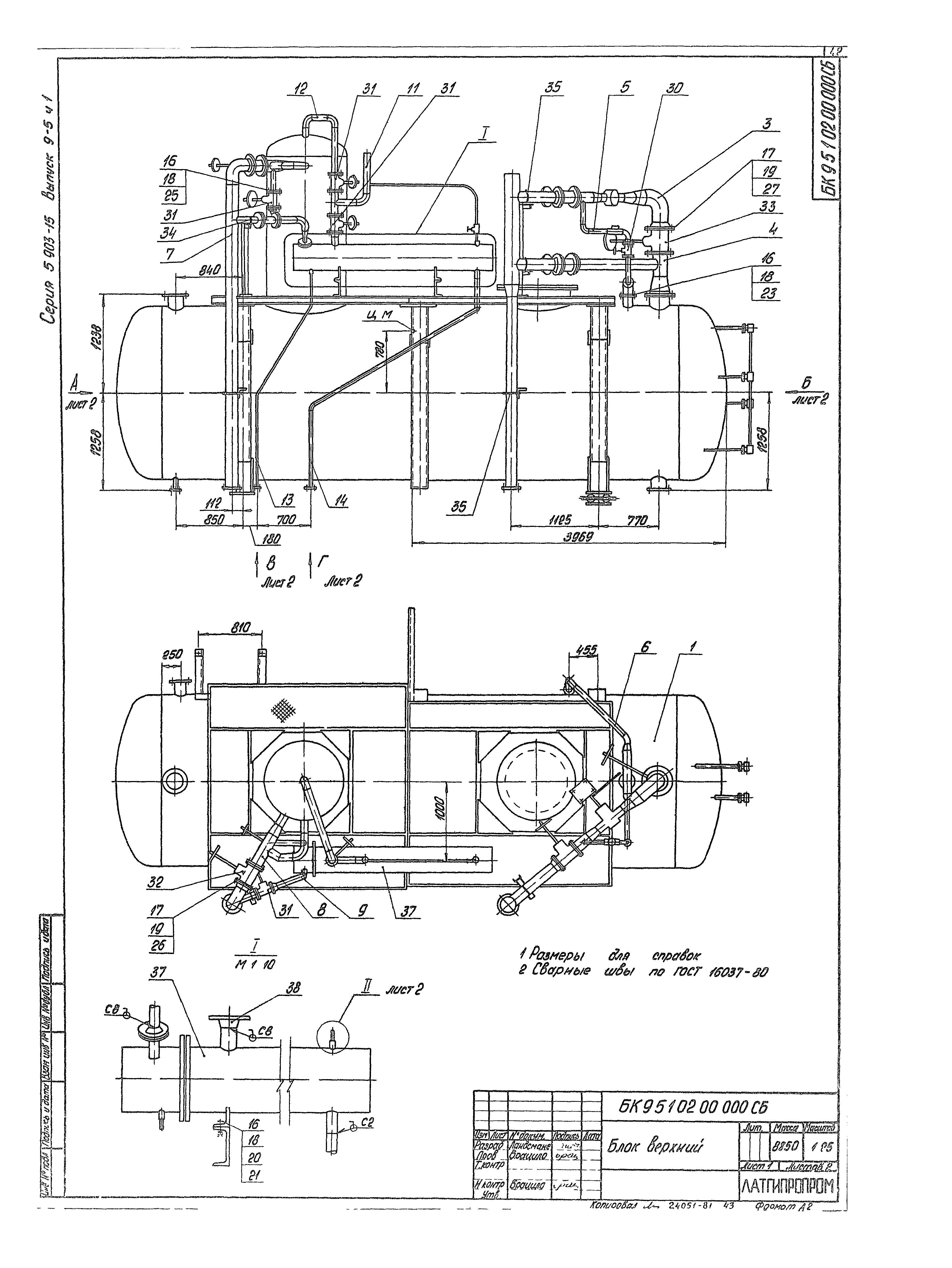
БК9.5.1.02.00.000 Блок верхний
БК9.5.1.02.00.000 СБ Блок верхний
БК9.5.1.02.01.000 Бак деаэраторный с помостом
БК9.5.1.02.01.000 СБ Бак деаэраторный с помостом
БК9.5.1.02.01.001 Ребро
БК9.5.1.02.01.000 СБ Бак деаэраторный с помостом
БК9.5.1.02.01.002 Связь
БК9.5.1.02.01.003 Стойка
БК9.5.1.02.01.004 Поручень
БК9.5.1.02.01.005 Поручень
БК9.5.1.02.01.006 Поручень
БК9.5.1.02.01.007 Леер
БК9.5.1.02.01.008 Леер
БК9.5.1.02.01.009 Леер
БК9.5.1.02.01.010 Опора
БК9.5.1.02.01.100 Бак деаэраторный
БК9.5.1.02.01.101 Петля
БК9.5.1.02.01.100 СБ Бак деаэраторный
БК9.5.1.02.01.102 Накладка
БК9.5.1.02.01.200 Опора
БК9.5.1.02.01.200 СБ Опора
БК9.5.1.02.01.300 СБ Опора
БК9.5.1.02.01.400 СБ Опора
БК9.5.1.02.01.300 Опора
БК9.5.1.02.01.400 Опора
БК9.5.1.02.01.500 Опора
БК9.5.1.02.01.600 Опора
БК9.5.1.02.01.500 СБ Опора
БК9.5.1.02.01.600 СБ Опора
БК9.5.1.02.01.700 СБ Опора
БК9.5.1.02.01.800 СБ Опора
БК9.5.1.02.01.700 Опора
БК9.5.1.02.01.800 Опора
БК9.5.1.02.01.900 СБ Опора
БК9.5.1.02.01.900 Опора
БК9.5.1.02.02.000 Трубопровод
БК9.5.1.02.03.000 Трубопровод
БК9.5.1.02.02.000 СБ Трубопровод
БК9.5.1.02.03.000 СБ Трубопровод
БК9.5.1.02.03.001 Труба
БК9.5.1.02.04.001 Патрубок
БК9.5.1.02.04.000 Трубопровод
БК9.5.1.02.04.000 СБ Трубопровод
БК9.5.1.02.04.002 Патрубок
БК9.5.1.02.05.000 Трубопровод
БК9.5.1.02.05.000 СБ Трубопровод
БК9.5.1.02.06.000 Трубопровод
БК9.5.1.02.06.000 СБ Трубопровод
БК9.5.1.02.06.000 Трубопровод
БК9.5.1.02.06.001 Патрубок
БК9.5.1.02.06.002 Патрубок
БК9.5.1.07.000 СБ Трубопровод
БК9.5.1.08.000 Трубопровод
БК9.5.1.08.000 СБ Трубопровод
БК9.5.1.02.08.001 Труба
БК9.5.1.02.08.002 Труба
БК9.5.1.02.08.003 Труба
БК9.5.1.02.08.004 Труба
БК9.5.1.02.09.000 Трубопровод
БК9.5.1.02.09.000 СБ Трубопровод
БК9.5.1.02.10.000 СБ Трубопровод
БК9.5.1.02.10.000 Трубопровод
БК9.5.1.02.11.000 Трубопровод
БК9.5.1.02.11.000 СБ Трубопровод
БК9.5.1.02.11.001 Труба
БК9.5.1.02.11.002 Труба
БК9.5.1.02.11.003 Труба
БК9.5.1.02.11.004 Труба
Разработан: Латгипропром
Утверждён:14.02.1990 ММСС СССР
Издан: ЦИТП Госстроя СССР (CITP, Gosstroy (USSR) 1990 г. )
Расположен в:Техническая документация Строительство Справочные документы Типовые строительные конструкции, изделия и узлы Общероссийский строительный каталог Строительные конструкции, изделия и узлы зданий и сооружений для всех видов строительства Инженерное оборудование Инженерное оборудование; изделия и узлы инженерного оборудования зданий и сооружений Теплоснабжение Котельное оборудование
Серия 5.903-15Серия 5.903-15Серия 5.903-15Серия 5.903-15Серия 5.903-15Серия 5.903-15Серия 5.903-15Серия 5.903-15Серия 5.903-15Серия 5.903-15Серия 5.903-15Серия 5.903-15Серия 5.903-15Серия 5.903-15Серия 5.903-15Серия 5.903-15Серия 5.903-15Серия 5.903-15Серия 5.903-15Серия 5.903-15Серия 5.903-15Серия 5.903-15Серия 5.903-15Серия 5.903-15Серия 5.903-15Серия 5.903-15Серия 5.903-15Серия 5.903-15Серия 5.903-15Серия 5.903-15Серия 5.903-15Серия 5.903-15Серия 5.903-15Серия 5.903-15Серия 5.903-15Серия 5.903-15Серия 5.903-15Серия 5.903-15Серия 5.903-15Серия 5.903-15Серия 5.903-15Серия 5.903-15Серия 5.903-15Серия 5.903-15Серия 5.903-15Серия 5.903-15Серия 5.903-15Серия 5.903-15Серия 5.903-15Серия 5.903-15Серия 5.903-15Серия 5.903-15Серия 5.903-15Серия 5.903-15Серия 5.903-15Серия 5.903-15Серия 5.903-15Серия 5.903-15Серия 5.903-15Серия 5.903-15Серия 5.903-15Серия 5.903-15Серия 5.903-15Серия 5.903-15Серия 5.903-15Серия 5.903-15Серия 5.903-15Серия 5.903-15Серия 5.903-15Серия 5.903-15Серия 5.903-15Серия 5.903-15

© 2013 Ёшкин Кот :-) Карта сайта