Скачать Серия 5.903-15 Выпуск 6-3. Блок насосов рабочей воды и теплообменника БНРВТ-2х50-50-17,67. Рабочие чертежиДата актуализации: 10.08.2017 Серия 5.903-15
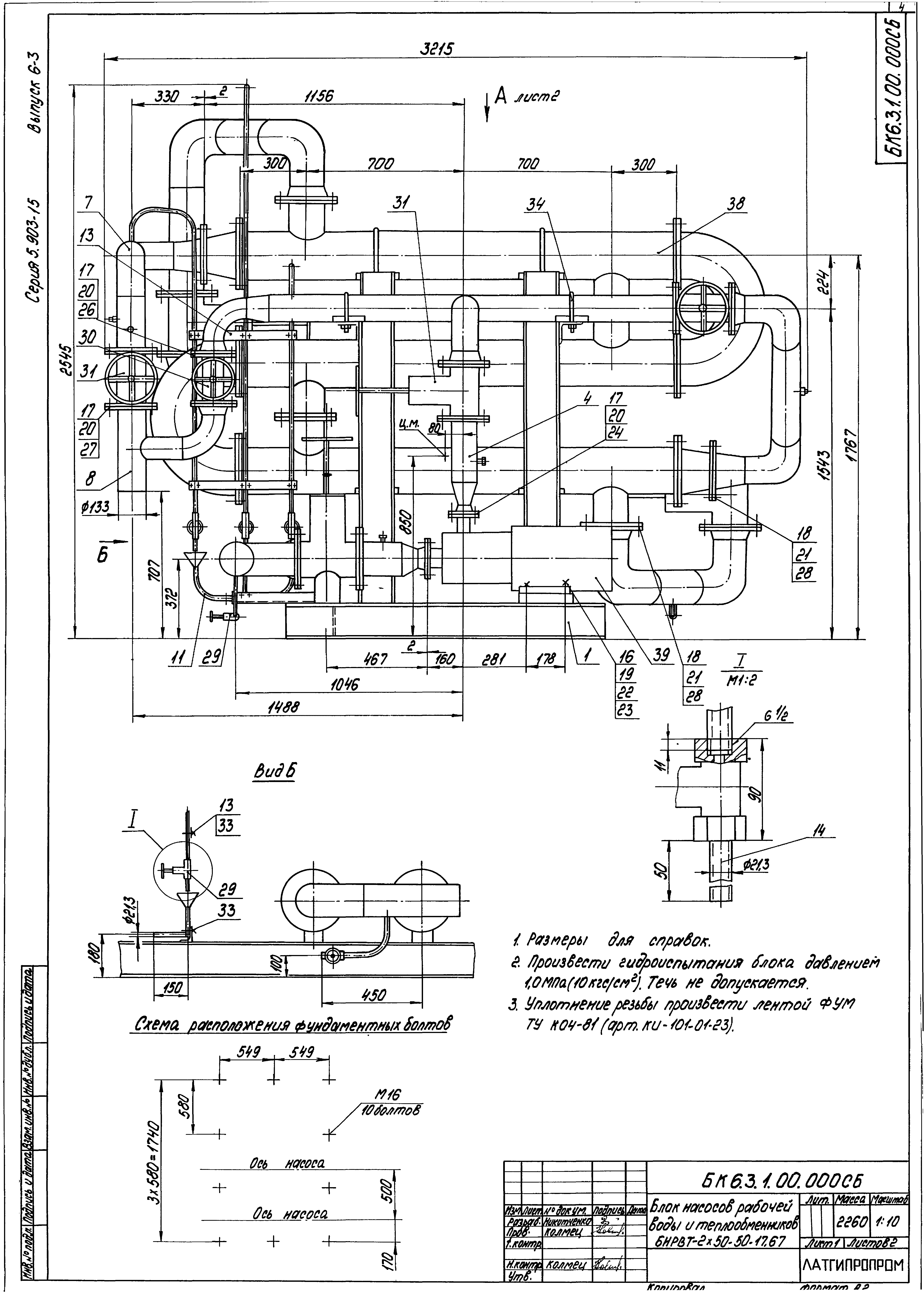
Выпуск 6-3. Блок насосов рабочей воды и теплообменника БНРВТ-2х50-50-17,67. Рабочие чертежиОбозначение: | Серия 5.903-15 | Обозначение англ: | Series 5.903-15 | Статус: | не определен законодательством | Название рус.: | Выпуск 6-3. Блок насосов рабочей воды и теплообменника БНРВТ-2х50-50-17,67. Рабочие чертежи | Дата добавления в базу: | 01.09.2013 | Дата актуализации: | 05.05.2017 | Дата введения: | 01.03.1990 | Оглавление: | БК6.3.1.00.000 Блок БНРВТ-2х50-50-17,67 БК6.3.1.00.000 ГЗ Блок БНРВТ-2х50-50-17,67. Схема принципиальная БК6.3.1.00.000 СБ Блок БНРВТ-2х50-50-17,67 БК6.3.1.00.000 Блок БНРВТ-2х50-50-17,67 БК6.3.1.00.001 Стяжка БК6.2.1.00.004 Патрубок БК6.3.1.01.000 Рама БК6.3.1.01.000 СБ Рама БК6.3.1.01.000 Рама БК6.3.1.01.001 Петля БК6.3.1.02.000 Коллектор БК6.3.1.02.001 Коллектор БК6.3.1.02.000 СБ Коллектор БК6.3.1.02.002 Труба БК6.3.1.03.000 Трубопровод БК6.3.1.03.000 СБ Трубопровод БК6.3.1.04.000 СБ Трубопровод БК6.3.1.04.000 Трубопровод БК6.3.1.05.000 Трубопровод БК6.3.1.05.001 Коллектор БК6.3.1.05.002 Труба БК6.3.1.05.000 СБ Трубопровод БК6.3.1.05.003 Труба БК6.3.1.06.000 Колено БК6.3.1.06.000 СБ Колено БК6.3.1.07.000 Колено БК6.3.1.07.000 СБ Колено БК6.3.1.07.001 Труба БК6.3.1.08.000 Тройник БК6.3.1.08.000 СБ Тройник БК6.3.1.09.000 Колено БК6.3.1.09.001 Труба БК6.3.1.09.000 СБ Колено БК6.3.1.09.002 Труба БК6.3.1.09.003 Труба БК6.3.1.10.000 Колено БК6.3.1.10.000 СБ Колено БК6.3.1.10.001 Труба БК6.3.1.11.000 Трубопровод БК6.3.1.11.000 СБ Трубопровод БК6.3.1.09.001 Воронка БК6.3.1.11.001 Труба БК6.3.2.00.000 Блок БНРВТ-2х50-50-17,67. Установка приборов контроля и автоматики БК6.3.2.00.000 СО Блок БНРВТ-2х50-50-17,67. Схема автоматизации БК6.3.2.00.000 СБ Блок БНРВТ-2х50-50-17,67. Установка приборов контроля и автоматики БК6.2.2.00.001 Трубка БК6.3.3.00.000 Блок БНРВТ-2х50-50-17,67. Установка электрооборудования БК6.3.3.00.000 СБ Блок БНРВТ-2х50-50-17,67. Установка электрооборудования БК6.3.3.00.000 Блок БНРВТ-2х50-50-17,67. Установка электрооборудования БК6.2.3.01.000 Штатив БК6.2.3.01.000 СБ Штатив | Разработан: | Латгипропром
| Утверждён: | 14.02.1990 ММСС СССР
| Расположен в: |
|
                      
|