Информационная система
«Ёшкин Кот»

Скачать базу одним архивом
Скачать обновления
История создания базы
Карта сайта

Скачать Серия 5.903-15 Выпуск 6-0. Блоки насосов рабочей воды и теплообменников. Указания по применению и изготовлению

Дата актуализации: 10.08.2017

Серия 5.903-15

Выпуск 6-0. Блоки насосов рабочей воды и теплообменников. Указания по применению и изготовлению

Обозначение: Серия 5.903-15
Обозначение англ: Series 5.903-15
Статус:не определен законодательством
Название рус.:Выпуск 6-0. Блоки насосов рабочей воды и теплообменников. Указания по применению и изготовлению
Дата добавления в базу:01.10.2014
Дата актуализации:05.05.2017
Дата введения:14.02.1990
Оглавление:Опись альбома
Указания по применению и изготовлению
   1. Общая часть
   2. Назначение и описание конструкции
   3. Рекомендации для подбора
   4. Требования к транспортировке
   5. Требования к оборудованию и материалам
   6. Требования к сборке блока
Приложение 1. Блок БНРВТ-2х50-50-3,52. Схема принципиальная
Приложение 2. Блок БНРВТ-2х50-50-3,52. Габаритный чертеж
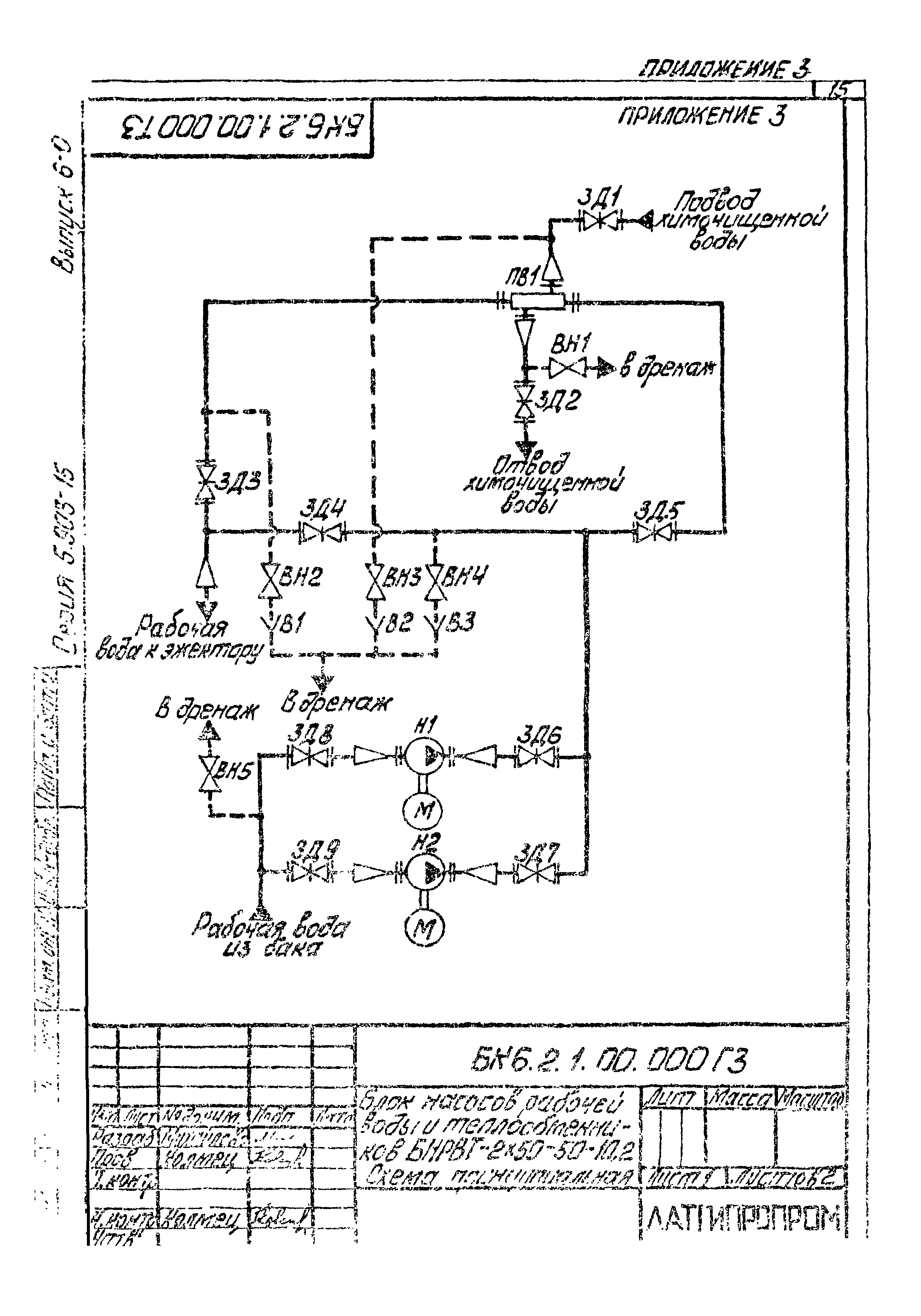
Приложение 3. Блок БНРВТ-2х50-50-10,2. Схема принципиальная
Приложение 4. Блок БНРВТ-2х50-50-10,2. Габаритный чертеж
Приложение 5. Блок БНРВТ-2х50-50-17,67. Схема принципиальная
Приложение 6. Блок БНРВТ-2х50-50-17,67. Габаритный чертеж
Приложение 7. Блок БНРВТ-2х320-50-41,4. Схема принципиальная
Приложение 8. Блок БНРВТ-2х320-50-41,4. Габаритный чертеж
Приложение 9. Блок БНРВТ-3х320-50-41,4. Схема принципиальная
Приложение 10. Блок БНРВТ-3х320-50-41,4. Габаритный чертеж
Приложение 11. Блок БНРВТ-2х100-50-41,4. Схема принципиальная
Приложение 12. Блок БНРВТ-2х100-50-41,4. Габаритный чертеж
Лист регистрации изменений
Разработан: Латгипропром
Утверждён:14.02.1990 ММСС СССР
Издан: ЦИТП Госстроя СССР (CITP, Gosstroy (USSR) 1990 г. )
Расположен в:Техническая документация Строительство Справочные документы Типовые строительные конструкции, изделия и узлы Общероссийский строительный каталог Строительные конструкции, изделия и узлы зданий и сооружений для всех видов строительства Инженерное оборудование Инженерное оборудование; изделия и узлы инженерного оборудования зданий и сооружений Теплоснабжение Котельное оборудование
Серия 5.903-15Серия 5.903-15Серия 5.903-15Серия 5.903-15Серия 5.903-15Серия 5.903-15Серия 5.903-15Серия 5.903-15Серия 5.903-15Серия 5.903-15Серия 5.903-15Серия 5.903-15Серия 5.903-15Серия 5.903-15Серия 5.903-15Серия 5.903-15Серия 5.903-15Серия 5.903-15Серия 5.903-15Серия 5.903-15Серия 5.903-15Серия 5.903-15Серия 5.903-15Серия 5.903-15Серия 5.903-15Серия 5.903-15Серия 5.903-15Серия 5.903-15Серия 5.903-15Серия 5.903-15Серия 5.903-15Серия 5.903-15Серия 5.903-15Серия 5.903-15Серия 5.903-15Серия 5.903-15

© 2013 Ёшкин Кот :-) Карта сайта