Скачать Серия 3.407.2-160 Выпуск 1. Промежуточные опоры. Чертежи КМДата актуализации: 10.08.2017 Серия 3.407.2-160
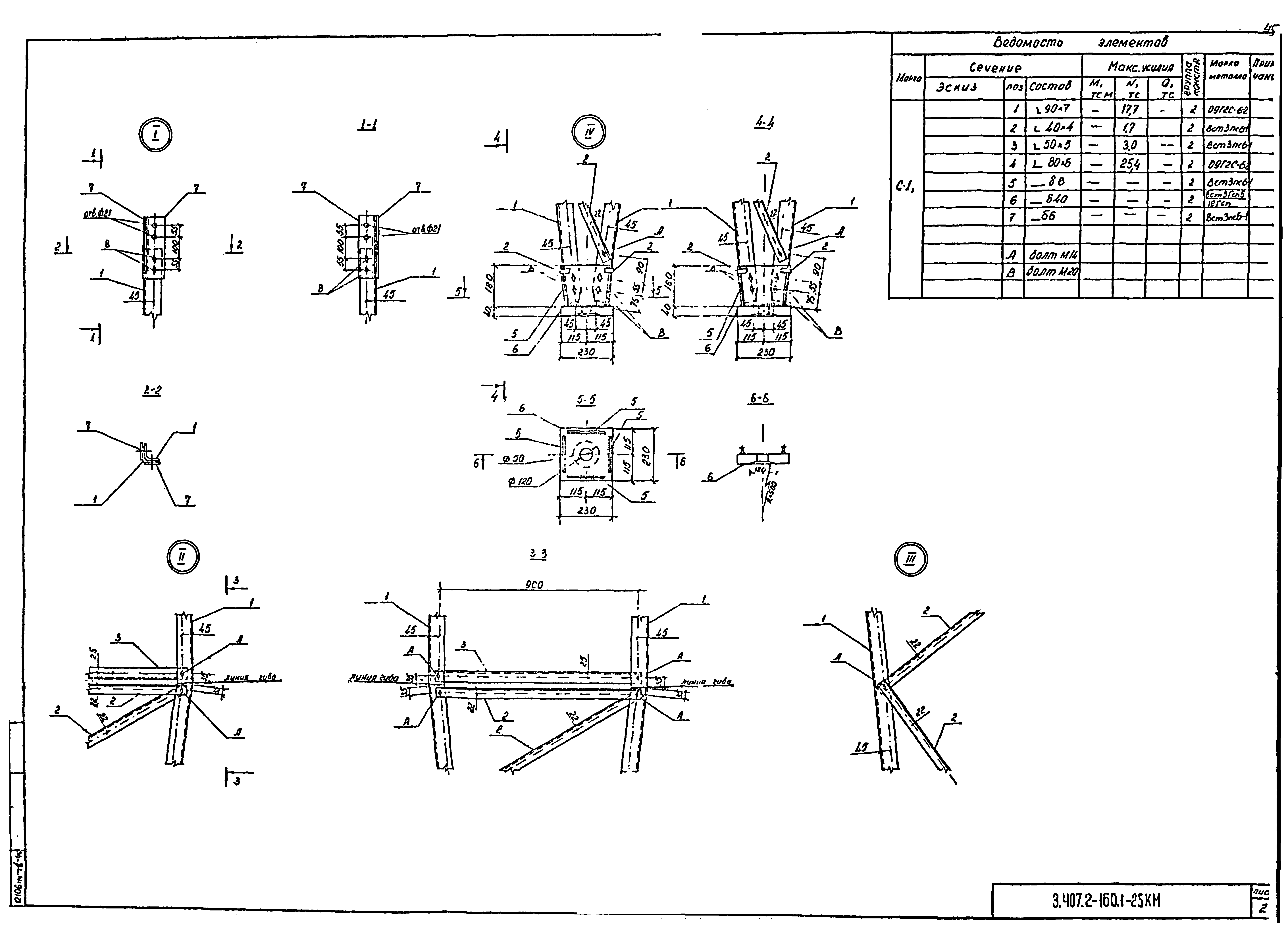
Выпуск 1. Промежуточные опоры. Чертежи КМОбозначение: | Серия 3.407.2-160 | Обозначение англ: | Series 3.407.2-160 | Статус: | не определен законодательством | Название рус.: | Выпуск 1. Промежуточные опоры. Чертежи КМ | Дата добавления в базу: | 01.09.2013 | Дата актуализации: | 05.05.2017 | Дата введения: | 01.01.1989 | Разработан: | Энергосетьпроект
| Утверждён: | 25.08.1988 Минэнерго СССР (USSR Minenergo 28)
| Расположен в: |
|
                                                              
|