Информационная система
«Ёшкин Кот»

Скачать базу одним архивом
Скачать обновления
История создания базы
Карта сайта

Скачать Серия 1.189.1-8 Выпуск 1/83. Материалы для проектирования и объемные элементы шахт пассажирских лифтов с противовесом сзади кабины. Рабочие чертежи

Дата актуализации: 10.08.2017

Серия 1.189.1-8

Выпуск 1/83. Материалы для проектирования и объемные элементы шахт пассажирских лифтов с противовесом сзади кабины. Рабочие чертежи

Обозначение: Серия 1.189.1-8
Обозначение англ: Series 1.189.1-8
Статус:действует
Название рус.:Выпуск 1/83. Материалы для проектирования и объемные элементы шахт пассажирских лифтов с противовесом сзади кабины. Рабочие чертежи
Дата добавления в базу:01.09.2013
Дата актуализации:05.05.2017
Дата введения:15.07.1984
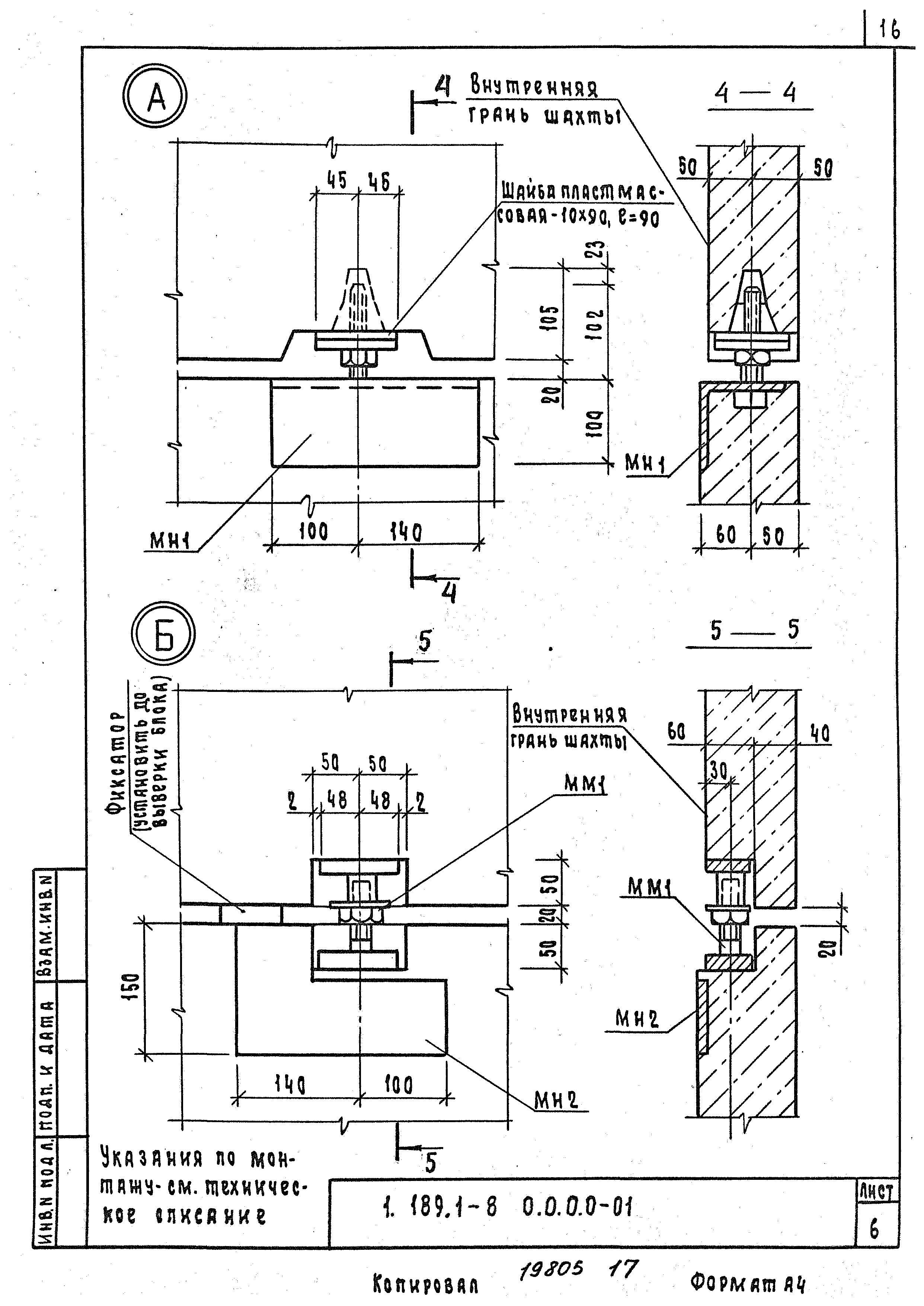
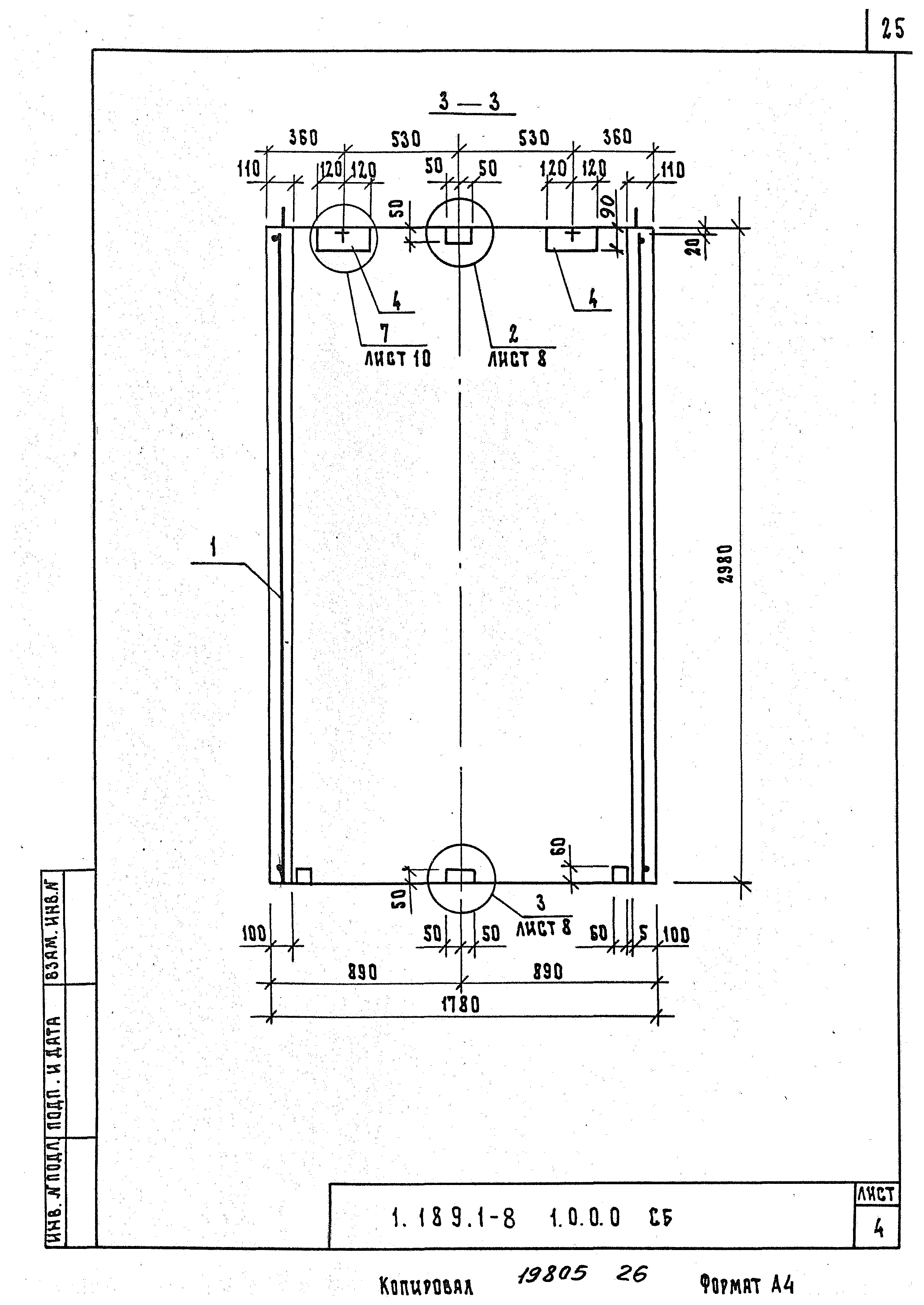
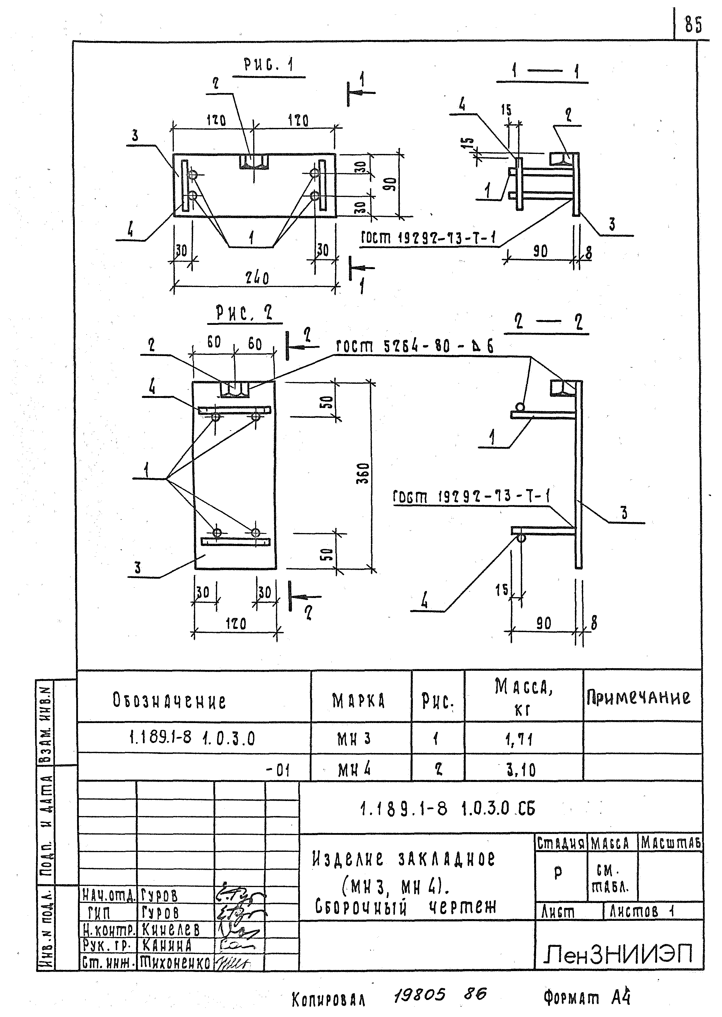
Область применения:Чертежи объемных элементов разработаны для пассажирских лифтов по ГОСТ 5746-67* грузоподъемностью 320 кгс, с кабиной размерами (в плане) 980х1120 мм, со скоростью движения кабины 0,71 м/сек, с расположением противовеса сзади кабины и с верхним (теплым) машинным помещением. Условия эксплуатации конструкции - обычные
Разработан: ЛенЗНИИЭП Госгражданстроя
Утверждён:25.06.1984 Госгражданстрой (Gosgrazhdanstroy 173)
Принят:15.09.1983 ЦПКБ Союзлифтмаш (04-11/709)
Расположен в:Техническая документация Строительство Справочные документы Типовые строительные конструкции, изделия и узлы Общероссийский строительный каталог Строительные конструкции, изделия и узлы зданий и сооружений для всех видов строительства Конструкции, изделия и узлы зданий Несущие конструкции двухэтажных и многоэтажных зданий Шахты лифтов
Заменяет собой:
  • Серия 1.189.1-8 «Выпуск 1»
Серия 1.189.1-8Серия 1.189.1-8Серия 1.189.1-8Серия 1.189.1-8Серия 1.189.1-8Серия 1.189.1-8Серия 1.189.1-8Серия 1.189.1-8Серия 1.189.1-8Серия 1.189.1-8Серия 1.189.1-8Серия 1.189.1-8Серия 1.189.1-8Серия 1.189.1-8Серия 1.189.1-8Серия 1.189.1-8Серия 1.189.1-8Серия 1.189.1-8Серия 1.189.1-8Серия 1.189.1-8Серия 1.189.1-8Серия 1.189.1-8Серия 1.189.1-8Серия 1.189.1-8Серия 1.189.1-8Серия 1.189.1-8Серия 1.189.1-8Серия 1.189.1-8Серия 1.189.1-8Серия 1.189.1-8Серия 1.189.1-8Серия 1.189.1-8Серия 1.189.1-8Серия 1.189.1-8Серия 1.189.1-8Серия 1.189.1-8Серия 1.189.1-8Серия 1.189.1-8Серия 1.189.1-8Серия 1.189.1-8Серия 1.189.1-8Серия 1.189.1-8Серия 1.189.1-8Серия 1.189.1-8Серия 1.189.1-8Серия 1.189.1-8Серия 1.189.1-8Серия 1.189.1-8Серия 1.189.1-8Серия 1.189.1-8Серия 1.189.1-8Серия 1.189.1-8Серия 1.189.1-8Серия 1.189.1-8Серия 1.189.1-8Серия 1.189.1-8Серия 1.189.1-8Серия 1.189.1-8Серия 1.189.1-8Серия 1.189.1-8Серия 1.189.1-8Серия 1.189.1-8Серия 1.189.1-8Серия 1.189.1-8Серия 1.189.1-8Серия 1.189.1-8Серия 1.189.1-8Серия 1.189.1-8Серия 1.189.1-8Серия 1.189.1-8Серия 1.189.1-8Серия 1.189.1-8Серия 1.189.1-8Серия 1.189.1-8Серия 1.189.1-8Серия 1.189.1-8Серия 1.189.1-8Серия 1.189.1-8Серия 1.189.1-8Серия 1.189.1-8Серия 1.189.1-8Серия 1.189.1-8Серия 1.189.1-8Серия 1.189.1-8Серия 1.189.1-8Серия 1.189.1-8Серия 1.189.1-8Серия 1.189.1-8Серия 1.189.1-8Серия 1.189.1-8Серия 1.189.1-8Серия 1.189.1-8Серия 1.189.1-8Серия 1.189.1-8Серия 1.189.1-8Серия 1.189.1-8Серия 1.189.1-8Серия 1.189.1-8Серия 1.189.1-8

© 2013 Ёшкин Кот :-) Карта сайта