| ||||||||||||||||||||||||||||||||||
Скачать ГОСТ Р 52592-2006 Тракт передачи сигналов цифрового вещательного телевидения. Звенья тракта и измерительные сигналы. Общие требованияДата актуализации: 10.08.2017
|
| Обозначение: | ГОСТ Р 52592-2006 |
| Обозначение англ: | GOST R 52592-2006 |
| Статус: | действует |
| Название рус.: | Тракт передачи сигналов цифрового вещательного телевидения. Звенья тракта и измерительные сигналы. Общие требования |
| Название англ.: | Signal channel of digital broadcast television. Channel parts and measuring signals. General requirements |
| Дата добавления в базу: | 01.09.2013 |
| Дата актуализации: | 05.05.2017 |
| Дата введения: | 01.01.2007 |
| Область применения: | Стандарт распространяется на тракт передачи сигналов цифрового вещательного телевидения стандартной четкости и устанавливает: - звенья тракта передачи сигналов цифрового вещательного телевидения; - границы звеньев тракта передачи сигналов цифрового вещательного телевидения; - виды интерфейсов тракта, его звеньев и их основные параметры; - измерительные сигналы и их элементы для контроля основных показателей качества тракта передачи сигналов цифрового вещательного телевидения; - основные требования к измерительным сигналам и средствам измерений. |
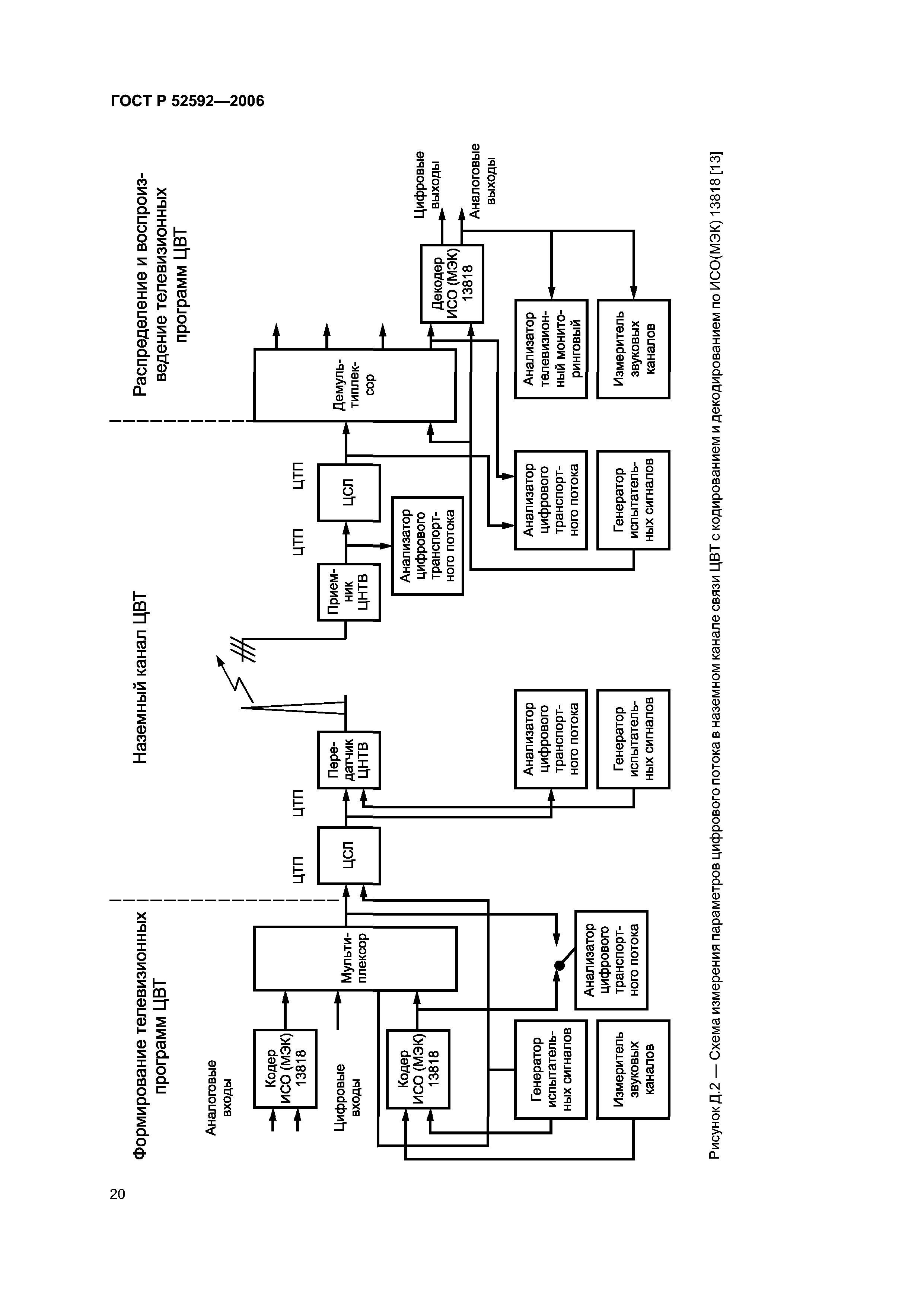
| Оглавление: | 1 Область применения 2 Нормативные ссылки 3 Термины, определения и сокращения 4 Тракт передачи сигналов цифрового вещательного телевидения и его звеньев 4.1 Звенья цифровой системы вещательного телевидения 4.2 Звенья тракта передачи сигналов цифрового вещательного телевидения 4.3 Виды цифровых интерфейсов и их основные параметры 5 Измерительные сигналы 5.1 Параметры структуры и синтаксиса цифрового транспортного потока первой группы 5.2 Цифровые измерительные сигналы в аналоговом представлении 5.3 Параметры канала звукового сопровождения Приложение А Номинальные параметры тракта источника цифровых сигналов Приложение Б Примеры структурных схем типового тракта цифрового вещательного телевдения Приложение В Виды цифровых интерфейсов и их основные параметры Приложение Г Рекомендуемые параметры структуры цифрового транспортного потока третьей группы Приложение Д Примеры схем измерений цифровых и аналоговых параметроы тракта передачи сигнала цифрового вещательного телевидения Приложение Е Измерительные сигналы, рекомендуемые для измерения параметров и характеристик тракта передачи сигналов цветности Приложение Ж Перечень средств измерений и технологического оборудования Библиография |
| Разработан: | ФГУП НИИТ |
| Утверждён: | 22.11.2006 Федеральное агентство по техническому регулированию и метрологии (262-ст) |
| Издан: | Стандартинформ (2007 г. ) |
| Расположен в: | |
| Нормативные ссылки: |
|































